Запчасти Komatsu 6D95L-1HH МАСЛЯНЫЙ ПОДДОН И ВСАСЫВАЮЩИЙ ПАТРУБОК(№9-97) ДВИГАТЕЛЬ

Схема запчастей Komatsu 6D95L-1HH - МАСЛЯНЫЙ ПОДДОН И ВСАСЫВАЮЩИЙ ПАТРУБОК(№9-97) ДВИГАТЕЛЬ
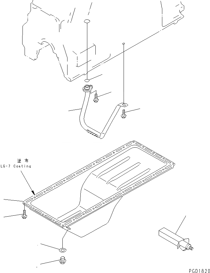
1
2
3
4
5
6
7
8
9
1
2
3
4
5
6
7
8
9
FIT
1:1
100%

Артикул

Название

Примечание

Количество

1

6206-21-5111

PAN,OIL

SN: 102941-150297

1шт.

2

01435-00814

BOLT

SN: 102941-150297

28шт.

3

6204-21-5180

PLUG,DRAIN

SN: 102941-@

1шт.

4

07005-02216

GASKET (K2)

SN: 102941-@

1шт.

5

6206-51-6220

TUBE,SUCTION

SN: 102941-150297

1шт.

6

6204-51-6120

O-RING

SN: 102941-@

1шт.

7

01435-20816

BOLT

SN: 102941-@

1шт.

8

01435-20812

BOLT

SN: 102941-@

1шт.

9

09920-00150

LIQUID GASKET,LG-7¤ 150G

SN: 102941-@

-2шт.

1

6206-21-5111

PAN,OIL

SN: 102941-150297

1шт.

2

01435-00814

BOLT

SN: 102941-150297

28шт.

3

6204-21-5180

PLUG,DRAIN

SN: 102941-@

1шт.

4

07005-02216

GASKET (K2)

SN: 102941-@

1шт.

5

6206-51-6220

TUBE,SUCTION

SN: 102941-150297

1шт.

6

6204-51-6120

O-RING

SN: 102941-@

1шт.

7

01435-20816

BOLT

SN: 102941-@

1шт.

8

01435-20812

BOLT

SN: 102941-@

1шт.

9

09920-00150

LIQUID GASKET,LG-7¤ 150G

SN: 102941-@

-2шт.

Выбрано товаров: 18