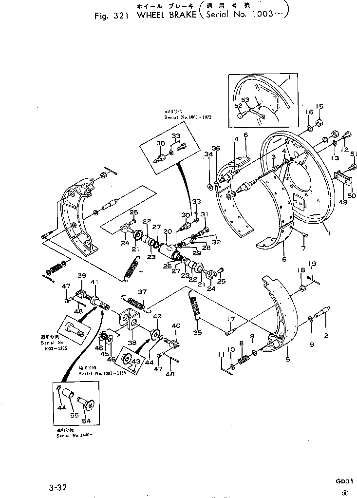
Запчасти Komatsu GD31-1 КОЛЕСН. ТОРМОЗ КОЛЕСА¤ РУЛЕВ. УПРАВЛЕНИЕ И СИСТЕМА УПРАВЛЕНИЯS

Схема запчастей Komatsu GD31-1 - КОЛЕСН. ТОРМОЗ КОЛЕСА¤ РУЛЕВ. УПРАВЛЕНИЕ И СИСТЕМА УПРАВЛЕНИЯS
FIT
1:1
100%

Артикул

Название

Примечание

Количество

|$0

233-32-00012

WHEEL BRAKE ASS'Y

SN: 1336-2299

4шт.

|$1

233-32-00011

WHEEL BRAKE ASS'Y

SN: 1093-1335

4шт.

|$2

233-32-00010

WHEEL BRAKE ASS'Y

SN: 1003-1092

4шт.

|$3

233-32-00040

COVER ASS'Y

SN: 1003-2299

1шт.

1

0

COVER

SN: 1003-3223

1шт.

2

233-32-11120

PIN

SN: 1003-2155

2шт.

3

01000-31225

BOLT

SN: 1003-2299

6шт.

4

233-32-11150

WASHER

SN: 1023-4000

2шт.

4

04059-01632

WIRE

SN: 1003-1022

3шт.

|$9

233-32-00021

BRAKE SHOE ASS'Y

SN: 1419-UP

1шт.

|$10

0

BRAKE SHOE ASS'Y

SN: 1003-1418

1шт.

5

0

SHOE

SN: 1003-UP

1шт.

6

233-32-11140

LINING

SN: 1419-UP

2шт.

6

233-32-91110

LINING

SN: 1003-1418

2шт.

7

04412-00614

RIVET

SN: 1003-UP

16шт.

8

232-32-11160

SPRING

SN: 1003-UP

2шт.

9

232-32-11170

WASHER

SN: 1003-UP

4шт.

10

01640-21020

WASHER

SN: 1003-UP

2шт.

11

04050-13028

PIN

SN: 1003-UP

2шт.

12

01010-31035

BOLT

SN: 1003-UP

2шт.

13

01602-01030

WASHER

SN: 1003-UP

2шт.

14

233-32-11391

SHAFT

SN: 1003-2299

2шт.

15

01500-32016

NUT

SN: 1003-2299

2шт.

16

01602-22060

WASHER

SN: 1003-UP

2шт.

17

233-32-11440

PIN

SN: 1003-3415

2шт.

18

01510-30810

NUT

SN: 1003-2299

2шт.

19

04050-02018

PIN

SN: 1003-3415

2шт.

|$27

233-32-00032

CYLINDER ASS'Y

SN: 1336-2299

1шт.

|$28

233-32-00031

CYLINDER ASS'Y

SN: 1093-1335

1шт.

|$29

233-32-00030

CYLINDER ASS'Y

SN: 1003-1092

1шт.

20

232-32-11211

BODY

SN: 1093-UP

1шт.

20

233-32-11210

BODY

SN: 1003-1092

1шт.

21

232-32-11221

BOOT

SN: 1093-UP

2шт.

21

233-32-11220

BOOT

SN: 1003-1092

2шт.

22

232-32-11231

PISTON

SN: 1093-UP

2шт.

22

233-32-11230

PISTON

SN: 1003-1092

2шт.

23

232-32-11241

CAP

SN: 1093-UP

2шт.

23

233-32-11240

CUP

SN: 1003-1092

2шт.

|$38

233-32-00051

ROD ASS'Y

SN: 1093-UP

2шт.

|$39

233-32-00050

ROD ASS'Y

SN: 1003-1092

2шт.

24

0

ROD

SN: 1093-UP

1шт.

24

0

ROD

SN: 1003-1092

1шт.

25

232-32-11261

PIN

SN: 1093-UP

1шт.

25

0

PIN

SN: 1003-1092

1шт.

26

232-32-11271

SPRING

SN: 1093-UP

1шт.

26

233-32-11270

SPRING

SN: 1003-1092

1шт.

27

232-32-11281

RETAINER

SN: 1093-UP

2шт.

27

233-32-11280

RETAINER

SN: 1003-1092

2шт.

28

232-32-11292

UNION

SN: 1336-UP

1шт.

28

232-32-11291

UNION

SN: 1093-1335

1шт.

28

233-32-11290

UNION

SN: 1003-1092

1шт.

29

232-32-11311

GASKET (KIT)

SN: 1093-UP

1шт.

29

232-32-11310

GASKET

SN: 1003-1092

1шт.

30

232-32-11321

VALVE

SN: 1093-2299

1шт.

30

233-32-11320

VALVE

SN: 1003-1092

1шт.

31

232-32-11331

BOLT

SN: 1093-2299

1шт.

31

233-32-11330

BOLT

SN: 1003-1092

1шт.

32

232-32-11341

GASKET (KIT)

SN: 1093-UP

1шт.

32

233-32-11340

GASKET (KIT)

SN: 1003-1092

1шт.

33

232-32-11350

CAP

SN: 1093-UP

1шт.

33

01000-30612

BOLT

SN: 1003-1092

1шт.

33

01602-00619

WASHER

SN: 1003-1092

1шт.

34

233-32-11381

SEAT

SN: 1003-3223

2шт.

35

233-32-11451

SPRING

SN: 1003-UP

2шт.

36

04066-00016

RING

SN: 1003-3223

2шт.

37

232-32-11460

SPRING

SN: 1003-UP

1шт.

38

233-32-11510

BEARING

SN: 1003-2299

1шт.

39

232-32-11520

YOKE,R.H.

SN: 1003-2299

1шт.

40

232-32-11530

YOKE,L.H.

SN: 1003-2299

1шт.

41

233-32-11540

NUT

SN: 1336-2299

1шт.

41

232-32-11540

NUT

SN: 1003-1335

1шт.

42

233-32-11550

GEAR

SN: 1336-3439

1шт.

42

232-32-11550

GEAR

SN: 1003-1335

1шт.

43

01320-00408

SCREW

SN: 1003-1335

2шт.

44

04064-02512

RING

SN: 1336-UP

1шт.

45

232-32-11560

SPRING

SN: 1003-UP

1шт.

46

233-32-11570

SEAT

SN: 1003-UP

2шт.

47

232-32-11580

PIN

SN: 1003-UP

2шт.

48

04050-03025

PIN

SN: 1003-UP

2шт.

49

232-32-11590

WASHER

SN: 1003-UP

1шт.

50

232-23-12140

LOCK

SN: 1003-UP

1шт.

51

01000-31235

BOLT

SN: 1003-2299

2шт.

Выбрано товаров: 82