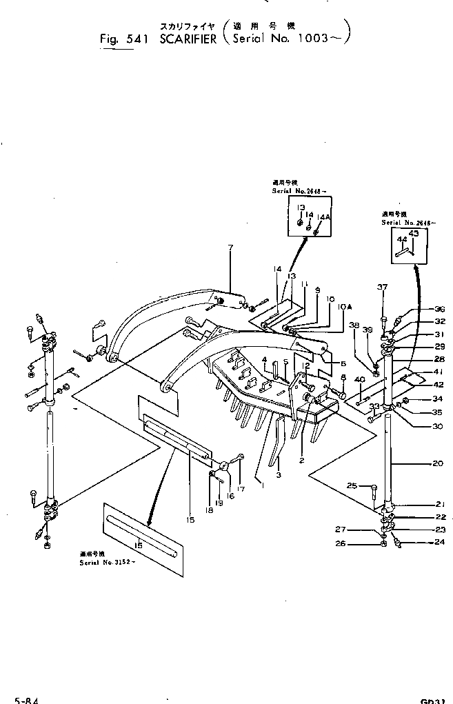
Запчасти Komatsu GD31-1 SCARIFIER РАБОЧЕЕ ОБОРУДОВАНИЕ И ITS СИСТЕМА УПРАВЛЕНИЯ

Схема запчастей Komatsu GD31-1 - SCARIFIER РАБОЧЕЕ ОБОРУДОВАНИЕ И ITS СИСТЕМА УПРАВЛЕНИЯ
FIT
1:1
100%

Артикул

Название

Примечание

Количество

|$0

233-70-13001

SCARIFIER ASS'Y

SN: 1336-1633

1шт.

|$1

233-70-13000

SCARIFIER ASS'Y

SN: 1003-1335

1шт.

1

233-70-13110

BODY

SN: 1003-UP

1шт.

2

232-70-13120

STUD

SN: 1003-UP

2шт.

3

232-70-13130

TOOTH

SN: 1003-2299

9шт.

4

232-70-13140

WEDGE

SN: 1003-2647

9шт.

5

04050-06050

PIN

SN: 1003-2647

9шт.

6

233-70-13150

DRAWBAR,L.H.

SN: 1003-3151

1шт.

7

233-70-13160

DRAWBAR,R.H.

SN: 1003-3151

1шт.

8

232-70-13170

BOLT

SN: 1003-2299

2шт.

9

01510-32728

NUT

SN: 1003-2299

2шт.

10

01640-23045

WASHER

SN: 1003-2299

2шт.

11

04050-05050

PIN

SN: 1003-2647

2шт.

12

01002-32490

BOLT

SN: 1336-2299

2шт.

12

232-70-13180

BOLT

SN: 1003-1335

2шт.

13

01510-32426

NUT

SN: 1003-2299

2шт.

14

04050-05050

PIN

SN: 1003-2647

2шт.

15

233-70-13190

SHAFT

SN: 1003-3151

1шт.

16

233-70-13210

COLLAR

SN: 1003-UP

2шт.

17

01001-31205

BOLT

SN: 1003-2299

2шт.

18

01510-31214

NUT

SN: 1003-2299

2шт.

19

04050-03020

PIN

SN: 1336-UP

2шт.

19

04050-03025

PIN

SN: 1003-1335

2шт.

|$23

233-70-00041

CONNECTING ROD A.

SN: 1336-2647

2шт.

|$24

233-70-00040

CONNECTING ROD A.

SN: 1003-1335

2шт.

20

233-70-13310

ROD

SN: 1003-UP

1шт.

21

232-70-13320

JOINT

SN: 1003-2647

1шт.

22

232-71-11340

SHIM, 0.2MM (KIT)

SN: 1003-UP

5шт.

23

232-70-13410

CAP

SN: 1336-UP

1шт.

23

232-71-11330

CAP

SN: 1003-1335

1шт.

24

07020-00000

FITTING

SN: 1003-UP

1шт.

25

01000-31665

BOLT

SN: 1003-2299

4шт.

26

01500-31613

NUT

SN: 1003-2299

4шт.

27

01602-21648

WASHER

SN: 1003-UP

4шт.

27

232-70-00112

CONNECTING ROD A.

SN: 1003-1633

2шт.

28

232-70-13333

ROD

SN: 1003-1633

1шт.

29

232-70-13341

BALL

SN: 1003-2647

1шт.

30

232-70-13350

CLAMP

SN: 1003-1633

1шт.

31

232-71-11340

SHIM, 0.2MM (KIT)

SN: 1003-UP

5шт.

32

232-71-12130

CAP

SN: 1336-2299

1шт.

32

232-71-11330

CAP

SN: 1003-1335

1шт.

33

01000-31680

BOLT

SN: 1003-2299

2шт.

34

01500-31613

NUT

SN: 1003-2299

2шт.

35

01602-01648

WASHER

SN: 1003-2299

2шт.

36

07020-00000

FITTING

SN: 1003-UP

2шт.

37

01000-31665

BOLT

SN: 1003-2299

4шт.

38

01500-31613

NUT

SN: 1003-2299

4шт.

39

01602-11648

WASHER

SN: 1003-2299

4шт.

|$48

232-70-00120

PIN ASS'Y

SN: 1003-2647

2шт.

40

232-70-13360

PIN

SN: 1003-2647

1шт.

41

232-70-13370

PIN

SN: 1003-2647

1шт.

42

04402-00522

RIVET

SN: 1003-2647

1шт.

Выбрано товаров: 52