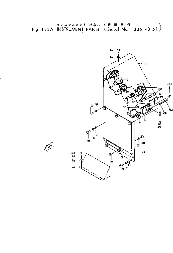
Запчасти Komatsu GD31-1 ПАНЕЛЬ ПРИБОРОВ(№-99) КОМПОНЕНТЫ ДВИГАТЕЛЯ И ЭЛЕКТРИКА

Схема запчастей Komatsu GD31-1 - ПАНЕЛЬ ПРИБОРОВ(№-99) КОМПОНЕНТЫ ДВИГАТЕЛЯ И ЭЛЕКТРИКА
FIT
1:1
100%

Артикул

Название

Примечание

Количество

1

08631-01000

GAUGE

SN: 1336-2299

1шт.

|1

232-06-13223

TUBE

SN: 1336-3151

1шт.

|1

07213-30510

CONNECTOR

SN: 1336-3151

1шт.

|1

07200-30515

SLEEVE

SN: 1336-3151

1шт.

|1

07201-30512

NUT

SN: 1336-3151

1шт.

2

08601-13000

AMMETER

SN: 1336-@

1шт.

|2

08601-15000

AMMETER,(FOR 35A ALTERNATOR)

SN: .-.

1шт.

3

08661-04000

GAUGE,WATER TEMPERATURE

SN: .-2299

1шт.

|3

08660-04000

GAUGE,WATER TEMPERATURE

SN: 1336-.

1шт.

4

6110-83-4811

SIGNAL,HEATER

SN: .-3151

1шт.

|4

6111-81-4910

SIGNAL,HEATER

SN: 1336-.

1шт.

5

08060-20000

SWITCH

SN: 1003-3151

1шт.

6

08060-00000

SWITCH

SN: 1336-3151

1шт.

7

08085-10000

SWITCH

SN: 1336-2647

1шт.

|7

08085-10001

KEY

SN: 1336-2647

2шт.

8

08043-06000

BOX

SN: 1336-2299

1шт.

9

08040-01000

FUSE¤ 10A

SN: .-@

6шт.

|9

08040-01000

FUSE¤ 10A

SN: 1336-.

5шт.

10

08040-02000

FUSE¤ 20A

SN: 1336-.

1шт.

11

232-06-15161

PANEL

SN: 1336-1499

1шт.

12

01000-31225

BOLT

SN: 1336-2299

4шт.

13

01602-01236

WASHER

SN: 1336-3151

4шт.

14

232-06-15170

PLATE

SN: 1336-3151

1шт.

15

01000-31225

BOLT

SN: 1336-2299

7шт.

16

01602-01225

WASHER

SN: 1336-3151

7шт.

17

01642-21216

WASHER

SN: 1336-3151

7шт.

18

475-06-11430

TERMINAL

SN: 1336-2299

1шт.

19

01210-20416

SCREW

SN: 1336-2299

2шт.

20

01580-00403

NUT

SN: 1336-3151

2шт.

21

01601-00410

WASHER

SN: 1336-3151

2шт.

22

232-06-15180

COVER

SN: 1336-3151

1шт.

23

01210-20816

SCREW

SN: 1336-2299

2шт.

24

01602-00825

WASHER

SN: 1336-3151

2шт.

25

01641-20812

WASHER

SN: 1336-3151

2шт.

26

130-06-12170

LAMP

SN: 1501-2299

1шт.

27

08060-00000

SWITCH

SN: 1811-3151

1шт.

28

08145-12400

LAMP

SN: 1811-3151

1шт.

29

08040-04000

FUSE¤ 40A

SN: 1811-.

1шт.

30

08060-00000

SWITCH

SN: 1848-@

1шт.

33

130-911-1640

PLUG

SN: .-3151

6шт.

34

01210-40412

SCREW

SN: .-@

1шт.

35

01601-00410

WASHER

SN: .-@

1шт.

36

01580-00403

NUT

SN: .-@

1шт.

Выбрано товаров: 43