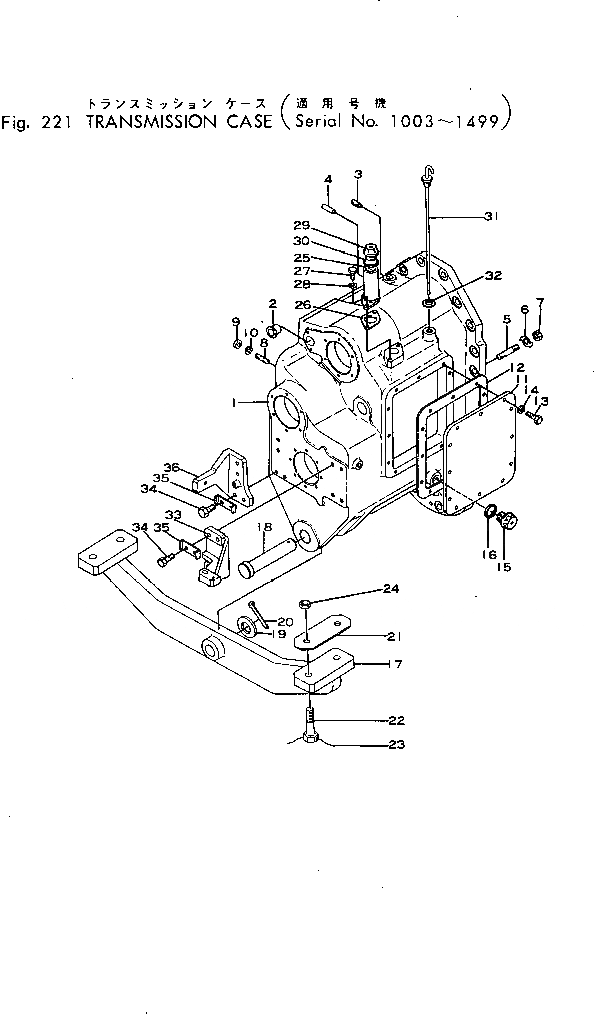
Запчасти Komatsu GD31-1 КОРПУС ТРАНСМИССИИ СИЛОВАЯ ПЕРЕДАЧА

Схема запчастей Komatsu GD31-1 - КОРПУС ТРАНСМИССИИ СИЛОВАЯ ПЕРЕДАЧА
FIT
1:1
100%

Артикул

Название

Примечание

Количество

|1

232-14-00013

CASE ASS'Y

SN: 1063-1499

1шт.

|1

232-14-00012

CASE ASS'Y

SN: 1003-1062

1шт.

1

232-14-11114

CASE

SN: 1063-@

1шт.

|1

232-14-11113

CASE

SN: 1003-1062

1шт.

2

232-14-11120

BUSHING

SN: 1003-1062

1шт.

3

232-14-11140

SCREW

SN: 1003-1062

1шт.

4

04020-01024

PIN

SN: 1003-1062

2шт.

5

01140-31225

STUD

SN: 1003-@

2шт.

6

01650-21212

WASHER

SN: 1003-@

2шт.

7

01500-31210

NUT

SN: 1003-@

2шт.

8

232-14-11150

STUD

SN: 1003-@

3шт.

9

01500-31008

NUT

SN: 1003-@

3шт.

10

01602-01030

WASHER

SN: 1003-@

3шт.

11

232-14-11211

COVER

SN: 1003-1499

1шт.

12

232-14-11220

GASKET (KIT)

SN: 1003-@

1шт.

13

01040-31025

BOLT

SN: 1003-@

12шт.

14

01602-01030

WASHER

SN: 1003-@

12шт.

|15

232-14-00021

PLUG ASS'Y

SN: 1003-1499

1шт.

15

07044-03620

PLUG

SN: 1003-@

1шт.

16

07003-03642

GASKET

SN: 1003-@

1шт.

|17

232-14-00031

FRAME ASS'Y

SN: 1063-@

1шт.

|17

232-14-00030

FRAME ASS'Y

SN: 1003-1062

1шт.

17

232-14-11310

FRAME

SN: 1003-@

1шт.

18

232-14-11320

PIN

SN: 1003-1062

1шт.

18

232-14-11321

PIN

SN: 1063-@

1шт.

19

01640-23950

WASHER

SN: 1063-@

1шт.

20

04050-06065

PIN

SN: 1063-@

1шт.

21

232-14-11340

SHIM

SN: 1003-@

2шт.

22

232-14-11350

BOLT

SN: 1003-1499

4шт.

23

04059-01640

WIRE (KIT)

SN: 1003-1499

2шт.

24

01500-32016

NUT

SN: 1003-1499

4шт.

25

232-14-11230

FILLER

SN: 1003-@

1шт.

26

232-14-11240

GASKET

SN: 1003-@

1шт.

27

01040-31025

BOLT

SN: 1003-@

2шт.

28

01602-01030

WASHER

SN: 1003-@

2шт.

29

232-14-11250

CAP

SN: 1003-1499

1шт.

30

07003-03642

GASKET

SN: 1003-1499

1шт.

31

232-14-11270

GAUGE

SN: 1003-@

1шт.

32

07003-02026

GASKET

SN: 1003-@

1шт.

33

232-14-11370

BRACKET,L.H.

SN: 1003-@

1шт.

34

01040-31235

BOLT

SN: 1003-@

8шт.

35

232-23-12140

LOCK

SN: 1003-@

4шт.

36

232-14-11361

BRACKET,R.H.

SN: 1063-@

1шт.

|36

232-14-11360

BRACKET,R.H.

SN: 1003-1062

1шт.

Выбрано товаров: 44