Запчасти Komatsu GD31-1 ЦИЛИНДР НАКЛОНА(№-99) КОЛЕСА¤ РУЛЕВ. УПРАВЛЕНИЕ И СИСТЕМА УПРАВЛЕНИЯS

Схема запчастей Komatsu GD31-1 - ЦИЛИНДР НАКЛОНА(№-99) КОЛЕСА¤ РУЛЕВ. УПРАВЛЕНИЕ И СИСТЕМА УПРАВЛЕНИЯS
FIT
1:1
100%

Артикул

Название

Примечание

Количество

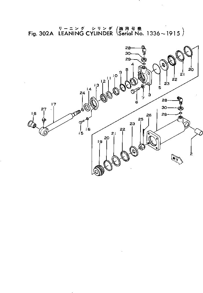
|1

233-27-00031

CYLINDER ASS'Y

SN: 1336-1915

1шт.

1

233-27-12111

CYLINDER

SN: 1336-1915

1шт.

2

232-27-12120

BUSHING

SN: 1336-1915

1шт.

|3

233-27-00041

HEAD ASS'Y

SN: 1336-1915

1шт.

3

233-27-12211

HEAD

SN: 1336-1915

1шт.

4

131-60-16241

BUSHING

SN: 1336-1915

1шт.

5

07000-03095

O-RING

SN: 1336-1915

1шт.

6

01040-31855

BOLT

SN: 1336-1915

4шт.

7

01602-01854

WASHER

SN: 1336-1915

4шт.

8

131-60-16250

RING

SN: 1336-1915

1шт.

9

131-60-16260

RETAINER

SN: 1336-1915

1шт.

10

131-60-16271

U-RING

SN: 1336-1915

1шт.

11

131-60-16281

HEEL

SN: 1336-1915

1шт.

12

131-60-16290

BUSHING

SN: 1336-1915

1шт.

|13

233-27-00051

GLAND ASS'Y

SN: 1336-1915

1шт.

13

131-60-16311

GLAND

SN: 1336-1915

1шт.

14

130-09-11631

SEAL

SN: 1336-1915

1шт.

15

01040-31445

BOLT

SN: 1336-1915

2шт.

16

01602-01442

WASHER

SN: 1336-1915

2шт.

|17

233-27-00061

ROD ASS'Y

SN: 1336-1915

1шт.

17

233-27-12311

ROD

SN: 1336-1915

1шт.

18

232-27-12321

BUSHING

SN: 1336-1915

1шт.

19

140-60-15210

PISTON

SN: 1336-1915

1шт.

20

130-60-15270

RING

SN: 1336-1915

2шт.

21

130-60-15260

SEAL

SN: 1336-1915

2шт.

22

130-60-15250

RING

SN: 1336-1915

2шт.

23

130-60-15242

HOLDER

SN: 1336-1915

2шт.

24

130-60-15230

O-RING

SN: 1336-1915

1шт.

25

01513-33031

NUT

SN: 1336-1915

1шт.

26

04050-06055

PIN

SN: 1336-1915

1шт.

27

07020-00900

FITTING

SN: 1336-1915

1шт.

28

07232-00522

ELBOW

SN: 1336-1915

2шт.

29

07000-03022

O-RING

SN: 1336-1915

2шт.

30

07239-02410

NUT

SN: 1336-1915

2шт.

Выбрано товаров: 0