Запчасти Komatsu GD31-1 РЫЧАГ СБРОСА ДАВЛЕНИЯ(№-99) КОЛЕСА¤ РУЛЕВ. УПРАВЛЕНИЕ И СИСТЕМА УПРАВЛЕНИЯS

Схема запчастей Komatsu GD31-1 - РЫЧАГ СБРОСА ДАВЛЕНИЯ(№-99) КОЛЕСА¤ РУЛЕВ. УПРАВЛЕНИЕ И СИСТЕМА УПРАВЛЕНИЯS
FIT
1:1
100%

Артикул

Название

Примечание

Количество

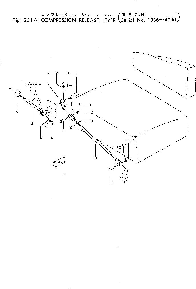
1

232-43-11116

SHAFT

SN: 1336-4000

1шт.

2

232-43-11131

LEVER

SN: 1336-4000

1шт.

3

01306-00820

SCREW

SN: 1336-4000

1шт.

4

04059-01010

WIRE

SN: 1336-4000

1шт.

5

232-60-12280

KNOB

SN: 1336-2299

1шт.

6

232-43-11151

LEVER

SN: 1003-1499

1шт.

7

01306-00820

SCREW

SN: 1336-4000

1шт.

8

04059-01010

WIRE

SN: 1336-4000

1шт.

9

232-43-11168

ROD

SN: 1336-4000

1шт.

10

04211-00844

YOKE

SN: 1336-4000

2шт.

11

04205-00825

PIN

SN: 1336-4000

2шт.

12

01641-00812

WASHER

SN: 1336-4000

2шт.

13

04050-02012

PIN

SN: 1336-4000

2шт.

14

01501-40805

NUT

SN: 1336-2299

1шт.

Выбрано товаров: 14