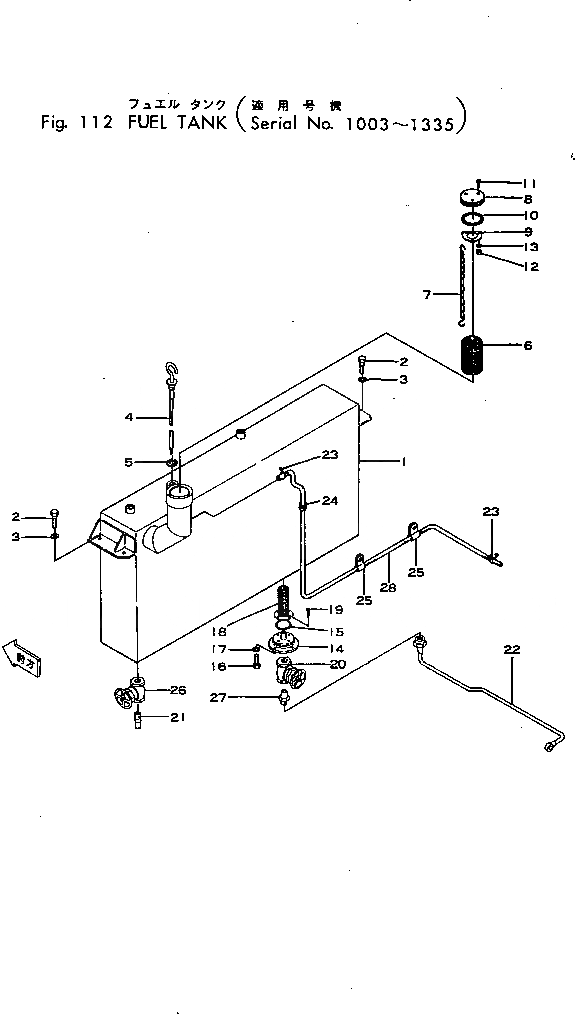
Запчасти Komatsu GD31-1 ТОПЛИВН. БАК.(№-) КОМПОНЕНТЫ ДВИГАТЕЛЯ И ЭЛЕКТРИКА

Схема запчастей Komatsu GD31-1 - ТОПЛИВН. БАК.(№-) КОМПОНЕНТЫ ДВИГАТЕЛЯ И ЭЛЕКТРИКА
FIT
1:1
100%

Артикул

Название

Примечание

Количество

|1

232-04-00016

FUEL TANK ASS'Y

SN: 1123-1335

1шт.

|1

232-04-00015

FUEL TANK ASS'Y

SN: 1003-1122

1шт.

1

232-04-11117

TANK

SN: 1123-1335

1шт.

|1

232-04-11116

TANK

SN: 1003-1122

1шт.

2

01000-41635

BOLT

SN: 1003-1335

4шт.

3

01602-11648

WASHER

SN: 1003-1335

4шт.

4

232-04-11121

GAUGE

SN: 1003-1335

1шт.

5

07003-11621

GASKET (KIT)

SN: 1063-1335

1шт.

|5

232-04-11130

GASKET

SN: 1003-1062

1шт.

6

232-04-11140

STRAINER

SN: 1063-1335

1шт.

7

232-04-11150

CHAIN

SN: 1063-1335

1шт.

|8

232-04-00020

CAP ASS'Y

SN: 1003-1335

1шт.

8

232-04-11210

FILLER

SN: 1003-1335

1шт.

9

232-04-11220

LOCK

SN: 1003-1335

1шт.

10

232-04-11230

GASKET (KIT)

SN: 1003-1335

1шт.

11

01210-20612

SCREW

SN: 1003-1335

3шт.

12

01500-30605

NUT

SN: 1003-1335

3шт.

13

01602-00619

WASHER

SN: 1003-1335

3шт.

14

232-04-11310

COVER

SN: 1003-1335

1шт.

15

07000-05075

O-RING (KIT)

SN: 1003-1335

1шт.

16

01000-31022

BOLT

SN: 1003-1335

4шт.

17

01602-01030

WASHER

SN: 1003-1335

4шт.

18

232-04-11321

STRAINER

SN: 1003-1335

1шт.

19

01212-20612

SCREW

SN: 1003-1335

4шт.

20

232-04-11331

VALVE

SN: 1003-1335

1шт.

21

232-04-11341

TUBE

SN: 1003-1335

1шт.

22

232-04-12113

TUBE

SN: 1003-1335

1шт.

23

232-04-12270

CLIP

SN: 1123-1335

2шт.

|23

232-04-12240

CLIP

SN: 1003-1122

3шт.

24

232-04-12260

GROMMET

SN: 1123-1335

1шт.

|24

232-04-12220

GROMMET

SN: 1003-1122

1шт.

25

232-04-12250

CLIP

SN: 1123-1335

2шт.

|25

232-04-12230

CLIP

SN: 1003-1122

2шт.

26

232-04-12121

VALVE

SN: 1003-1335

1шт.

27

232-04-12130

NIPPLE

SN: 1003-1335

1шт.

28

232-04-12211

HOSE

SN: 1003-1122

1шт.

Выбрано товаров: 36