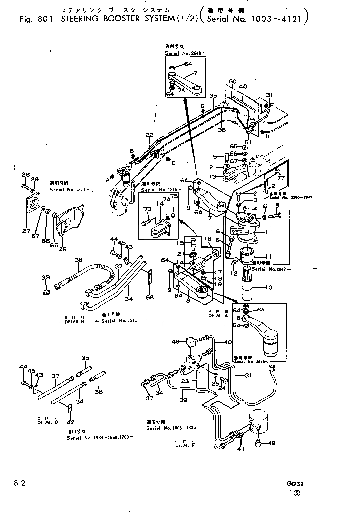
Запчасти Komatsu GD31-1 РУЛЕВ. УПРАВЛЕНИЕ УСИЛИТЕЛЬ СИСТЕМА (/) ОПЦИОННЫЕ КОМПОНЕНТЫ

Схема запчастей Komatsu GD31-1 - РУЛЕВ. УПРАВЛЕНИЕ УСИЛИТЕЛЬ СИСТЕМА (/) ОПЦИОННЫЕ КОМПОНЕНТЫ
FIT
1:1
100%

Артикул

Название

Примечание

Количество

|1

233-41-00011

LINKAGE ASS'Y

SN: 1336-1633

1шт.

|1

233-41-00010

LINKAGE ASS'Y

SN: 1003-1335

1шт.

1

233-41-11110

SEAT

SN: 1003-2299

1шт.

2

01000-31650

BOLT

SN: 1003-2299

2шт.

3

01602-01648

WASHER

SN: 1003-2647

2шт.

4

04020-01228

PIN

SN: 1003-2647

2шт.

5

232-40-13160

BOLT

SN: 1003-2299

2шт.

6

01501-31608

NUT

SN: 1003-2299

2шт.

7

233-41-11130

ARM

SN: 1003-1810

1шт.

8

233-41-11140

ARM

SN: 1003-1810

1шт.

9

07020-00000

FITTING

SN: 1003-4121

2шт.

10

233-41-11150

JOINT

SN: 1003-2647

1шт.

11

233-41-11160

BUSHING

SN: 1003-2647

1шт.

12

07020-00000

FITTING

SN: 1003-4121

1шт.

13

233-41-11210

YOKE

SN: 1003-1810

1шт.

14

233-41-11220

YOKE

SN: 1003-1810

1шт.

15

233-41-11230

PIN

SN: 1003-1810

1шт.

16

233-41-11240

NUT

SN: 1003-1810

1шт.

17

01640-21626

WASHER

SN: 1003-1810

1шт.

18

01511-31612

NUT

SN: 1003-1810

1шт.

19

04050-04035

PIN

SN: 1003-1810

1шт.

20

233-41-11250

PIN

SN: 1003-1810

1шт.

21

233-41-11260

LOCK

SN: 1003-1810

2шт.

22

233-41-11310

SHAFT

SN: 1003-2647

1шт.

23

232-41-13313

BRACKET

SN: 1336-1633

1шт.

24

01000-30825

BOLT

SN: 1336-1633

3шт.

|24

01000-30816

BOLT

SN: 1003-1335

3шт.

25

01602-00825

WASHER

SN: 1336-1633

6шт.

|25

01602-00825

WASHER

SN: 1003-1335

3шт.

26

233-41-13211

BRACKET

SN: 1811-2299

1шт.

|26

233-41-13210

BRACKET

SN: 1003-1810

1шт.

27

233-41-13220

SEAT

SN: 1003-1810

1шт.

28

01000-31235

BOLT

SN: 1003-2299

4шт.

29

01602-01236

WASHER

SN: 1003-4121

4шт.

30

04020-01228

PIN

SN: 1003-1810

2шт.

31

233-41-14110

TUBE

SN: 1336-1633

1шт.

32

233-41-14120

NIPPLE

SN: 1336-1633

1шт.

33

233-41-14240

NIPPLE

SN: 1003-1810

2шт.

34

233-41-14140

TUBE

SN: 1336-1633

1шт.

35

233-41-14170

TUBE

SN: 1336-1633

1шт.

36

07104-00406

HOSE

SN: 1336-1810

2шт.

|36

07263-00406

HOSE

SN: 1003-1335

2шт.

37

233-41-14160

TUBE

SN: 1336-1633

1шт.

38

233-41-14130

TUBE

SN: 1336-1633

1шт.

39

GD31KA808

TUBE

SN: 1003-1335

1шт.

40

233-41-14190

TUBE

SN: 1336-1633

1шт.

41

GD31KA821

NIPPLE

SN: 1003-1335

2шт.

42

233-41-14220

BRACKET

SN: 1003-1633

3шт.

43

233-41-14210

CLIP

SN: 1003-1633

3шт.

44

01000-30625

BOLT

SN: 1003-1633

3шт.

45

01602-00619

WASHER

SN: 1003-1633

3шт.

46

233-41-14182

ELBOW

SN: 1634-1680

1шт.

|46

233-41-14180

NIPPLE

SN: 1336-1633

1шт.

47

07211-01220

NIPPLE

SN: 1336-1633

1шт.

48

07005-02012

GASKET

SN: 1336-1633

1шт.

Выбрано товаров: 55