Запчасти Komatsu GD31-3H АНТИОБЛЕДЕНИТЕЛЬ(№-8) ОПЦИОННЫЕ КОМПОНЕНТЫ

Схема запчастей Komatsu GD31-3H - АНТИОБЛЕДЕНИТЕЛЬ(№-8) ОПЦИОННЫЕ КОМПОНЕНТЫ
FIT
1:1
100%

Артикул

Название

Примечание

Количество

|$0

232-807-0101

DEFROSTER ASS'Y

SN: 1811-2648

1шт.

|$1

232-807-0100

DEFROSTER ASS'Y

SN: 1501-1810

1шт.

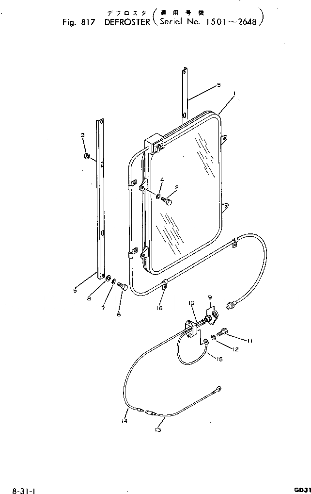
1

232-807-8110

DEFROSTER

SN: 1501-2648

1шт.

2

01010-30820

BOLT

SN: 2300-@

4шт.

2

01000-30820

BOLT

SN: 1501-2299

4шт.

3

01580-00806

NUT

SN: 2300-2648

4шт.

3

01500-00807

NUT

SN: 1501-2299

4шт.

4

01602-00825

WASHER

SN: 1501-@

4шт.

5

232-807-8122

BRACKET

SN: 1811-2648

2шт.

5

232-807-8121

BRACKET

SN: 1501-1810

2шт.

6

01010-30816

BOLT

SN: 2300-2648

4шт.

6

01000-30816

BOLT

SN: 1501-2299

4шт.

7

01602-00825

WASHER

SN: 1501-2648

4шт.

8

01640-30816

WASHER

SN: 1501-2648

4шт.

9

232-807-8140

CONSENT

SN: 1501-@

1шт.

10

232-807-8150

BOX

SN: 1501-@

1шт.

11

01010-30820

BOLT

SN: 2300-@

2шт.

11

01000-30820

BOLT

SN: 1501-2299

2шт.

12

01602-00825

WASHER

SN: 1501-@

4шт.

13

232-807-8170

CABLE

SN: 1501-@

1шт.

14

232-807-8180

CABLE

SN: 1501-@

1шт.

15

232-807-8220

CABLE

SN: 1501-@

1шт.

16

08036-11210

CLIP

SN: 1501-@

4шт.

Выбрано товаров: 23