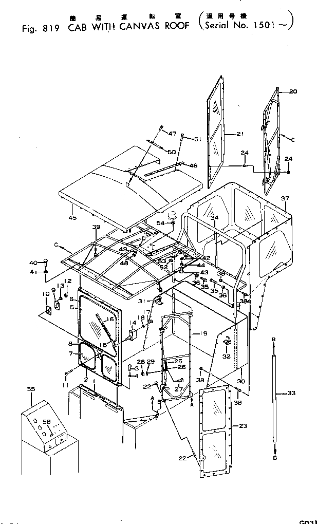
Запчасти Komatsu GD31-3H КАБИНА С CANVAS КРЫША ОПЦИОННЫЕ КОМПОНЕНТЫ

Схема запчастей Komatsu GD31-3H - КАБИНА С CANVAS КРЫША ОПЦИОННЫЕ КОМПОНЕНТЫ
FIT
1:1
100%

Артикул

Название

Примечание

Количество

|$0

233-55-00014

CAB ASS'Y

SN: 3152-UP

1шт.

|$1

233-55-00013

CAB ASS'Y

SN: 2300-3151

1шт.

|$2

233-55-00012

CAB ASS'Y

SN: 1501-2299

1шт.

1

233-55-12123

FRAME

SN: 3152-UP

1шт.

1

233-55-12122

FRAME

SN: 2300-3151

1шт.

1

233-55-12121

FRAME

SN: 1501-2299

1шт.

1

01580-01008

NUT

SN: 2300-UP

6шт.

1

01500-31008

NUT (WELDED)

SN: 1501-2299

6шт.

2

232-55-12114

SHIELD

SN: 3152-UP

1шт.

2

233-55-12112

SHIELD

SN: 2300-3151

1шт.

2

233-55-12111

SHIELD

SN: 1501-2299

1шт.

2

01580-01008

NUT

SN: 2300-UP

6шт.

2

01500-31008

NUT (WELDED)

SN: 1501-2299

6шт.

3

01010-51025

BOLT

SN: 2300-UP

6шт.

3

01000-31025

BOLT

SN: 1501-2299

6шт.

4

01602-21030

WASHER

SN: 1501-UP

6шт.

5

232-55-11512

GLASS

SN: .-UP

1шт.

5

0

GLASS

SN: 1501-.

1шт.

6

09410-00320

STRIP

SN: 1501-UP

1шт.

7

232-55-11522

GLASS

SN: .-UP

2шт.

7

0

GLASS

SN: 1501-.

2шт.

8

09410-00142

STRIP

SN: 1501-UP

2шт.

9

232-55-12241

PLATE

SN: 1501-UP

1шт.

10

232-55-12251

SEAT

SN: 1501-UP

1шт.

11

01210-50616

SCREW

SN: 2300-UP

4шт.

11

01210-20616

SCREW

SN: 1501-2299

4шт.

12

01580-10605

NUT

SN: 2300-UP

4шт.

12

01500-30605

NUT

SN: 1501-2299

4шт.

13

01601-20619

WASHER

SN: 1501-UP

4шт.

14

08180-02480

WIPER MOTOR ASS'Y

SN: 1501-UP

1шт.

15

08184-00550

ARM

SN: 1501-UP

1шт.

16

08185-00350

BLADE

SN: 1501-UP

1шт.

17

01210-50616

SCREW

SN: 2300-UP

6шт.

17

01210-20616

SCREW

SN: 1501-2299

6шт.

18

01601-20619

WASHER

SN: 1501-UP

6шт.

19

232-55-12142

DOOR,L.H.

SN: 1501-UP

1шт.

19

01641-21016

WASHER (WELDED)

SN: 1501-UP

2шт.

19

01642-21216

WASHER (WELDED)

SN: 1501-UP

1шт.

20

232-55-12152

DOOR,R.H.

SN: 1501-UP

1шт.

20

01641-21016

WASHER (WELDED)

SN: 1501-UP

2шт.

20

01642-21216

WASHER (WELDED)

SN: 1501-UP

1шт.

21

232-55-12211

SHEET,L.H.

SN: 2300-UP

1шт.

21

232-55-12210

SHEET,L.H.

SN: 1501-2299

1шт.

22

232-55-12261

HOOK

SN: 2300-UP

25шт.

22

232-55-12260

HOOK

SN: 1501-2299

25шт.

23

232-55-12221

SHEET,R.H.

SN: 2300-UP

1шт.

23

232-55-12220

SHEET,R.H.

SN: 1501-2299

1шт.

24

232-55-12261

HOOK

SN: 2300-UP

25шт.

24

232-55-12260

HOOK

SN: 1501-2299

25шт.

25

232-55-12330

SPRING

SN: 1501-UP

2шт.

26

232-55-12340

CLAMP

SN: 1501-UP

2шт.

27

01010-50616

BOLT

SN: 2300-UP

2шт.

27

01000-30616

BOLT

SN: 1501-2299

2шт.

28

01580-10605

NUT

SN: 2300-UP

2шт.

28

01500-30605

NUT

SN: 1501-2299

2шт.

29

01601-20619

WASHER

SN: 1501-UP

2шт.

30

232-55-12182

FRAME

SN: 3152-UP

1шт.

30

232-55-12181

FRAME

SN: 2300-3151

1шт.

30

232-55-12180

FRAME

SN: 1501-2299

1шт.

31

232-55-12280

LOCK

SN: 1501-UP

1шт.

32

232-55-12290

LOCK

SN: 1501-UP

1шт.

33

232-55-12162

POLE

SN: 1501-UP

2шт.

34

232-55-12133

POLE

SN: 3152-UP

1шт.

34

232-55-12132

POLE

SN: 1501-3151

1шт.

34

01580-01210

NUT

SN: 2300-UP

4шт.

34

01503-31210

NUT (WELDED)

SN: 1501-2299

4шт.

35

01016-51235

BOLT

SN: 2300-UP

4шт.

35

01046-01235

BOLT

SN: 1501-2299

4шт.

36

01580-11210

NUT

SN: 2300-UP

4шт.

36

01504-31207

NUT

SN: 1501-2299

4шт.

37

232-55-12233

SHEET

SN: 2300-UP

1шт.

37

232-55-12232

SHEET

SN: 1501-2299

1шт.

38

232-55-12261

HOOK

SN: 2300-UP

45шт.

38

232-55-12260

HOOK

SN: 1501-2299

45шт.

39

232-55-12122

ROOF

SN: 1501-UP

1шт.

40

01010-31025

BOLT

SN: 2300-UP

6шт.

40

01000-31025

BOLT

SN: 1501-2299

6шт.

41

01602-01030

WASHER

SN: 1501-UP

6шт.

42

131-906-1150

CLIP

SN: 1501-UP

2шт.

43

01010-51430

BOLT

SN: 2300-UP

4шт.

43

01000-31430

BOLT

SN: 1501-2299

4шт.

44

01602-21442

WASHER

SN: 1501-UP

4шт.

45

232-55-12192

SHEET

SN: 1501-UP

1шт.

46

232-55-12270

PLATE

SN: 1501-UP

2шт.

47

01210-50430

SCREW

SN: 2300-UP

14шт.

47

01210-20430

SCREW

SN: 1501-2299

14шт.

48

01580-10403

NUT

SN: 2300-UP

14шт.

48

01500-30404

NUT

SN: 1501-2299

14шт.

49

01601-20410

WASHER

SN: 1501-UP

14шт.

50

232-55-12320

PLATE

SN: 1501-UP

1шт.

51

01210-50430

SCREW

SN: 2300-UP

4шт.

51

01210-20430

SCREW

SN: 1501-2299

4шт.

52

01580-10403

NUT

SN: 2300-UP

4шт.

52

01500-30404

NUT

SN: 1501-2299

4шт.

53

01601-20410

WASHER

SN: 1501-UP

4шт.

54

232-55-12310

SEAT

SN: 1501-UP

3шт.

55

232-55-12350

PANEL

SN: 1501-3151

1шт.

56

08183-00000

SWITCH

SN: .-UP

1шт.

56

08060-00000

SWITCH

SN: 1501-.

1шт.

Выбрано товаров: 99