Запчасти Komatsu GD31-3H РАМА(№-) РАМА И КУЗОВ

Схема запчастей Komatsu GD31-3H - РАМА(№-) РАМА И КУЗОВ
FIT
1:1
100%

Артикул

Название

Примечание

Количество

|$0

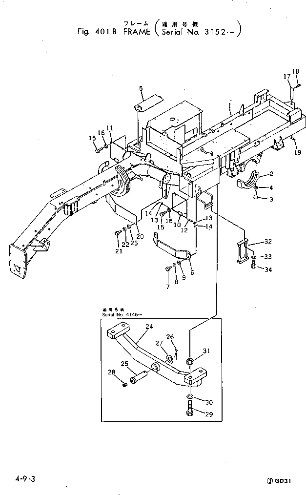
233-46-00019

FRAME ASS'Y

SN: 3152-4000

1шт.

1

233-46-12011

FRAME

SN: 3152-4000

1шт.

1

232-46-32120

STEP,L.H. (WELDED)

SN: 3152-UP

-1шт.

1

232-46-32130

STEP,R.H. (WELDED)

SN: 3152-UP

-1шт.

2

232-22-11381

CAP

SN: 3152-UP

1шт.

3

01011-83040

BOLT

SN: 3152-UP

4шт.

4

01601-23075

WASHER

SN: 3152-UP

4шт.

5

232-46-11850

COVER

SN: 3152-UP

2шт.

6

232-46-11771

PROTECTOR

SN: 3152-UP

1шт.

6

232-854-9122

PROTECTOR,(WITH HAND BRAKE COVER)

SN: 3152-UP

1шт.

7

01010-51440

BOLT

SN: 2300-UP

4шт.

8

01602-21442

WASHER

SN: 1063-UP

4шт.

9

01640-21426

WASHER

SN: 1501-UP

4шт.

10

233-54-11512

COVER,L.H.

SN: 1336-4000

1шт.

11

233-54-11521

COVER,R.H.

SN: 1336-4000

1шт.

12

232-54-11521

PIN

SN: 1336-UP

2шт.

13

01641-20812

WASHER

SN: 1336-UP

4шт.

14

04050-02012

PIN

SN: 1336-UP

4шт.

15

01010-51225

BOLT

SN: 2300-UP

4шт.

16

01602-21236

WASHER

SN: 1336-UP

4шт.

17

232-46-11711

PIN

SN: 1811-UP

1шт.

18

04025-01065

PIN

SN: 1811-UP

1шт.

19

232-46-11920

PIN

SN: 1811-UP

1шт.

20

233-860-9112

PROTECTOR

SN: 2768-UP

1шт.

20

233-860-9111

PROTECTOR

SN: 2643-2767

1шт.

21

01010-51225

BOLT

SN: 2648-UP

4шт.

22

01602-21236

WASHER

SN: 2648-UP

4шт.

23

01640-21223

WASHER

SN: 2648-UP

4шт.

24

232-14-11310

FRAME

SN: 4146-UP

1шт.

25

232-14-11321

PIN

SN: 4146-UP

1шт.

26

04050-16065

PIN

SN: 4146-UP

1шт.

27

01640-23950

WASHER

SN: 4146-UP

1шт.

28

07048-01210

PLUG

SN: 4146-UP

1шт.

29

01010-62070

BOLT

SN: 4146-UP

4шт.

30

01602-02060

WASHER

SN: 4146-UP

4шт.

31

01580-02016

NUT

SN: 4146-UP

4шт.

32

233-54-21310

STEP

SN: .-UP

2шт.

33

01602-21030

WASHER

SN: .-UP

4шт.

34

01010-51030

BOLT

SN: .-UP

4шт.

Выбрано товаров: 39