Запчасти Komatsu GD31-3H КАПОТ(№-) РАМА И КУЗОВ

Схема запчастей Komatsu GD31-3H - КАПОТ(№-) РАМА И КУЗОВ
FIT
1:1
100%

Артикул

Название

Примечание

Количество

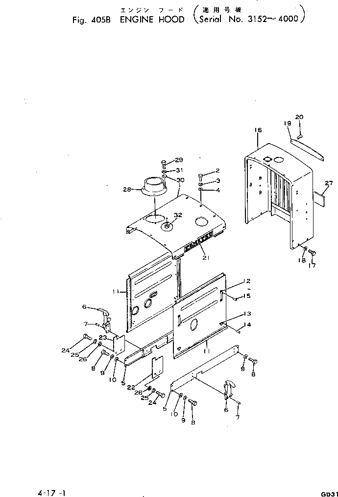
1

232-54-31311

HOOD

SN: 3152-4000

1шт.

2

01010-31020

BOLT

SN: 2300-@

10шт.

3

01602-01030

WASHER

SN: 1003-@

10шт.

4

01642-21016

WASHER

SN: 1003-@

7шт.

5

232-54-12218

PLATE,L.H.

SN: 3153-@

1шт.

5

232-54-31340

PLATE,R.H.

SN: 3153-@

1шт.

5

232-54-12217

PLATE,L.H.

SN: 3152-3152

1шт.

5

232-54-12229

PLATE,R.H.

SN: 3152-3152

1шт.

6

232-54-12230

CATCHER

SN: 1003-@

4шт.

7

04400-00512

RIVET

SN: 1003-@

8шт.

8

01010-31020

BOLT

SN: 2300-@

8шт.

9

01602-01030

WASHER

SN: 1003-@

8шт.

10

01642-01016

WASHER

SN: 1003-@

4шт.

11

232-54-32212

PLATE,L.H.

SN: 3152-4000

1шт.

11

232-54-12247

PLATE,R.H.

SN: 3152-4000

1шт.

12

232-54-12250

HANGER

SN: 1003-@

2шт.

13

232-54-12260

PLATE

SN: 1003-@

2шт.

14

04400-00510

RIVET

SN: 1003-@

6шт.

15

04400-00818

RIVET

SN: 1003-@

4шт.

16

232-54-12319

GRILLE

SN: 3152-4000

1шт.

17

01010-31020

BOLT

SN: 2300-@

4шт.

18

01602-01030

WASHER

SN: 1003-@

4шт.

19

111-54-11451

PLATE, MARK

SN: 1700-@

1шт.

20

01125-30820

STUD

SN: 2300-@

2шт.

21

09690-00560

PLATE, MARK

SN: 1700-@

2шт.

22

232-54-31320

PLATE,L.H.

SN: 3153-UP

1шт.

23

232-54-31330

PLATE,R.H.

SN: 3153-UP

1шт.

24

01010-31020

BOLT

SN: 3153-UP

6шт.

25

01602-01030

WASHER

SN: 3153-UP

6шт.

26

01642-21016

WASHER

SN: 3153-UP

6шт.

27

232-802-4110

PLATE,(FOR SNOW REMOVING)

SN: 2649-4000

1шт.

28

232-802-1111

COVER,(FOR SNOW REMOVING)

SN: 1501-4000

1шт.

29

01010-31020

BOLT,(FOR SNOW REMOVING)

SN: 2300-4000

4шт.

30

01640-01016

WASHER,(FOR SNOW REMOVING)

SN: 1501-4000

4шт.

31

01602-21030

WASHER,(FOR SNOW REMOVING)

SN: 1501-4000

4шт.

32

01580-11008

NUT,(FOR SNOW REMOVING)

SN: 2300-4000

4шт.

Выбрано товаров: 36