Запчасти Komatsu GD31-3H НАВЕС(№-) ОПЦИОННЫЕ КОМПОНЕНТЫ

Схема запчастей Komatsu GD31-3H - НАВЕС(№-) ОПЦИОННЫЕ КОМПОНЕНТЫ
FIT
1:1
100%

Артикул

Название

Примечание

Количество

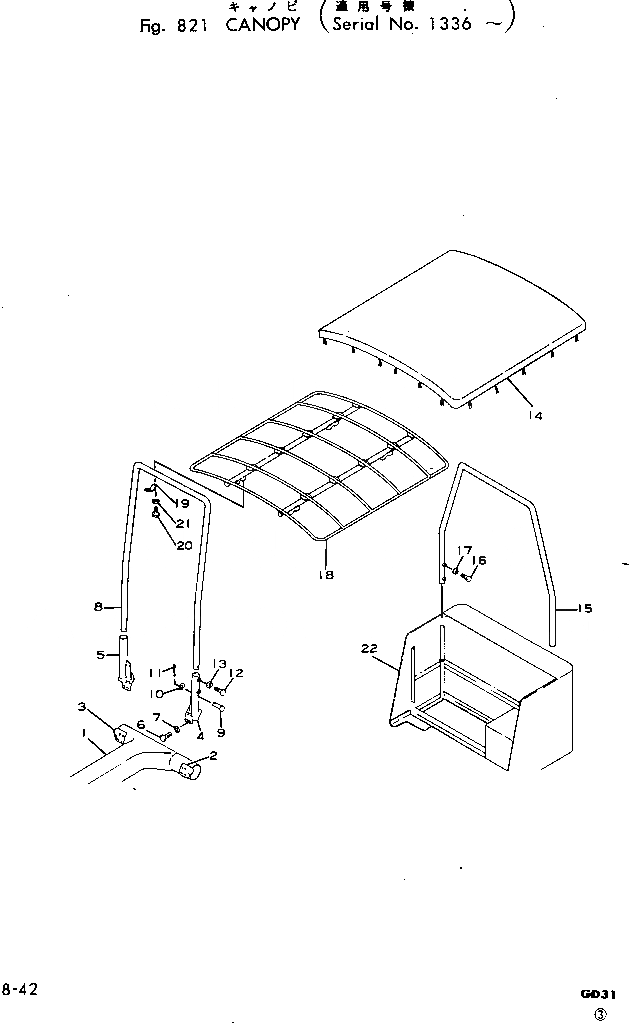
1

233-55-13114

FRAME

SN: 3152-UP

1шт.

|1

233-55-13113

FRAME

SN: 2300-3151

1шт.

|1

233-55-13112

FRAME

SN: 1336-2299

1шт.

2

233-55-13141

SEAT

SN: 2300-UP

1шт.

|2

233-55-13140

SEAT

SN: 1336-2299

1шт.

3

233-55-13151

SEAT

SN: 2300-UP

1шт.

|3

233-55-13150

SEAT

SN: 1336-2299

1шт.

|4

233-55-00054

CANOPY ASS'Y

SN: 3152-UP

1шт.

|4

233-55-00053

CANOPY ASS'Y

SN: 2300-3151

1шт.

|4

233-55-00052

CANOPY ASS'Y

SN: 1336-2299

1шт.

4

233-55-13120

BRACKET,L.H.

SN: 1336-UP

1шт.

|4

01580-01210

NUT

SN: 1336-UP

2шт.

5

233-55-13130

BRACKET,R.H.

SN: 1336-UP

1шт.

|5

01580-01210

NUT

SN: 1336-UP

2шт.

6

01010-51225

BOLT

SN: 1336-UP

8шт.

7

01602-21236

WASHER

SN: 1336-UP

8шт.

8

232-55-13121

COLUMN

SN: 3152-UP

1шт.

|8

232-55-13120

COLUMN

SN: 1336-3151

1шт.

9

232-55-13170

PIN

SN: 1336-UP

2шт.

10

01641-21223

WASHER

SN: 1336-UP

2шт.

11

04050-03020

PIN

SN: 1336-UP

2шт.

12

01016-31235

BOLT

SN: 1336-UP

4шт.

13

01580-01210

NUT

SN: 1336-UP

4шт.

14

232-55-13160

SHEET

SN: 1336-UP

1шт.

15

232-55-13131

COLUMN

SN: 3152-UP

1шт.

|15

232-55-13130

COLUMN

SN: 1336-3151

1шт.

16

01016-51235

BOLT

SN: 1336-UP

4шт.

17

01580-11210

NUT

SN: 1336-UP

4шт.

18

232-55-13112

ROOF

SN: 1336-UP

1шт.

19

131-906-1150

CLIP

SN: 1336-UP

4шт.

20

01010-51430

BOLT

SN: 1336-UP

8шт.

21

01602-21442

WASHER

SN: 1336-UP

8шт.

22

232-55-13153

FRAME

SN: 3152-UP

1шт.

|22

232-55-13152

FRAME

SN: 1336-3151

1шт.

Выбрано товаров: 34