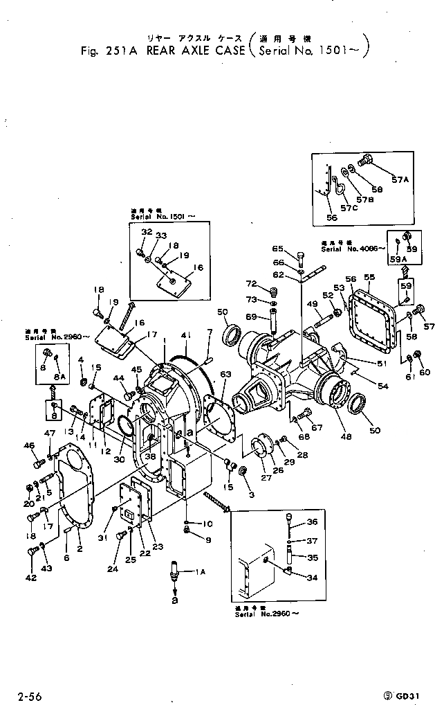
Запчасти Komatsu GD31-3H ЗАДН. МОСТ КОРПУС СИЛОВАЯ ПЕРЕДАЧА

Схема запчастей Komatsu GD31-3H - ЗАДН. МОСТ КОРПУС СИЛОВАЯ ПЕРЕДАЧА
FIT
1:1
100%

Артикул

Название

Примечание

Количество

|1

232-22-00015

CASE ASS'Y

SN: 3176-4592

1шт.

|1

232-22-00014

CASE ASS'Y

SN: 2960-3175

1шт.

|1

232-22-00013

CASE ASS'Y

SN: 2300-2959

1шт.

|1

232-22-00012

CASE ASS'Y

SN: 1700-2299

1шт.

|1

232-22-00010

GEAR CASE ASS'Y

SN: 1681-1699

1шт.

|1

232-22-00012

CASE ASS'Y

SN: 1634-1680

1шт.

|1

232-22-00010

GEAR CASE ASS'Y

SN: 1501-1633

1шт.

1

232-22-11115

CASE

SN: 2960-4529

1шт.

|1

232-22-11114

CASE

SN: 1501-2959

1шт.

2

232-22-11151

GASKET

SN: 1501-UP

1шт.

3

07011-00035

SEAL

SN: 1501-UP

1шт.

4

07046-05020

PLUG

SN: 1501-UP

1шт.

5

01141-31420

STUD

SN: 2300-UP

2шт.

|5

232-22-11142

STUD

SN: 1003-2299

2шт.

6

04020-01434

PIN

SN: 1003-UP

1шт.

7

230-10-11420

PIN

SN: 1501-UP

3шт.

8

07040-11812

PLUG

SN: 2960-UP

1шт.

|8

07042-00415

PLUG

SN: 1003-2959

1шт.

8A

07002-11823

O-RING

SN: 2960-UP

1шт.

9

07044-13620

PLUG

SN: 1501-UP

2шт.

10

07002-13634

O-RING

SN: 1501-UP

2шт.

11

232-22-11160

COVER

SN: 1003-2959

1шт.

12

232-22-11170

GASKET

SN: 1003-2959

1шт.

13

01010-30820

BOLT

SN: 2300-2959

8шт.

|13

01000-30820

BOLT

SN: 1003-2299

8шт.

14

01602-00825

WASHER

SN: 1003-2959

8шт.

15

06120-03520

BEARING

SN: 1501-UP

3шт.

16

232-11-11120

COVER

SN: 1700-4529

1шт.

|16

230-10-11154

COVER

SN: 1681-1699

1шт.

|16

232-11-11120

COVER

SN: 1643-1680

1шт.

|16

230-10-11154

COVER

SN: 1501-1633

1шт.

17

232-11-11130

GASKET

SN: 1700-4529

1шт.

|17

230-10-11370

GASKET

SN: 1681-1699

1шт.

|17

232-11-11130

GASKET

SN: 1643-1680

1шт.

|17

230-10-11370

GASKET

SN: 1501-1633

1шт.

18

01010-51020

BOLT

SN: 1700-4529

8шт.

|18

01010-31020

BOLT

SN: 1681-1699

4шт.

|18

01010-51020

BOLT

SN: 1634-1680

8шт.

|18

01010-31020

BOLT

SN: 1501-1633

4шт.

19

01602-21030

WASHER

SN: 1700-UP

8шт.

|19

01602-21030

WASHER

SN: 1681-1699

4шт.

|19

01602-21030

WASHER

SN: 1634-1680

8шт.

|19

01602-21030

WASHER

SN: 1003-1633

4шт.

20

01582-11411

NUT

SN: 2300-UP

2шт.

|20

01500-31411

NUT

SN: 1003-2299

2шт.

21

01602-21442

WASHER

SN: 1003-UP

2шт.

22

232-11-11351

COVER

SN: .-UP

1шт.

|22

0

COVER

SN: 2960-.

1шт.

|22

232-11-11350

COVER

SN: 2300-2959

1шт.

|22

232-11-11153

COVER

SN: 1700-2299

1шт.

|22

233-22-11150

COVER

SN: 1681-1699

1шт.

|22

232-11-11153

COVER

SN: 1634-1680

1шт.

|22

233-22-11150

COVER

SN: 1501-1633

1шт.

23

232-11-11160

GASKET

SN: 1501-UP

1шт.

24

01010-81025

BOLT

SN: 1501-UP

8шт.

25

01602-21030

WASHER

SN: 2300-UP

8шт.

25

01602-21030

WASHER

SN: 1003-2299

10шт.

26

232-11-11170

COVER

SN: 1003-2959

1шт.

27

232-11-11180

GASKET

SN: 1501-2959

1шт.

28

01010-31025

BOLT

SN: 1003-2959

4шт.

29

01602-01030

WASHER

SN: 1003-2959

4шт.

30

07000-15175

O-RING

SN: 1501-2959

1шт.

31

07042-00108

PLUG

SN: 1501-2959

1шт.

32

232-23-11220

BREATHER

SN: .-UP

1шт.

|32

0

BREATHER

SN: 1634-.

1шт.

33

07005-03016

GASKET

SN: 1634-UP

1шт.

|33

0

GASKET

SN: 1634-1680

1шт.

34

230-14-11120

ELBOW

SN: 2960-UP

1шт.

35

232-22-11521

TUBE

SN: 3176-UP

1шт.

|35

232-22-11520

TUBE

SN: 2960-3175

1шт.

36

232-22-11511

GAUGE

SN: 3176-UP

1шт.

|36

232-22-11510

GAUGE

SN: 2960-3175

1шт.

37

07000-03022

O-RING

SN: 3176-UP

1шт.

38

06122-03504

SEAL

SN: 1501-1633

2шт.

41

07000-15480

O-RING

SN: 3344-UP

1шт.

|41

07000-15485

O-RING

SN: 1700-3343

1шт.

|41

07000-15485

O-RING

SN: 1634-1680

1шт.

42

01010-31445

BOLT

SN: 2300-4529

16шт.

|42

01040-31445

BOLT

SN: 1003-2299

16шт.

43

01602-01442

WASHER

SN: 1003-UP

16шт.

44

01010-31240

BOLT

SN: 1003-4529

13шт.

45

01602-01236

WASHER

SN: 1003-4529

13шт.

46

01010-31440

BOLT

SN: 2300-4529

4шт.

|46

01040-31440

BOLT

SN: 1003-2299

4шт.

47

01602-01442

WASHER

SN: 1003-4529

4шт.

|48

232-22-00026

CASE ASS'Y

SN: 3667-UP

1шт.

|48

232-22-00024

CASE ASS'Y

SN: 2960-3666

1шт.

|48

232-22-00023

CASE ASS'Y

SN: 2300-2959

1шт.

|48

232-22-11122

GEAR CASE ASS'Y

SN: 1501-2299

1шт.

48

232-22-11315

CASE

SN: 3667-UP

1шт.

|48

232-22-11313

CASE

SN: 2300-3666

1шт.

|48

232-22-11312

CASE

SN: 1501-2299

1шт.

48A

232-22-11460

SPACER

SN: 3667-UP

2шт.

49

232-22-11321

STUD

SN: 2300-UP

4шт.

|49

232-22-11320

STUD

SN: 1003-2299

4шт.

50

07011-00100

SEAL

SN: 1003-UP

2шт.

51

232-22-11331

COVER

SN: 2300-UP

2шт.

|51

232-22-11330

COVER

SN: 1003-2299

2шт.

52

01590-02022

NUT

SN: 2300-UP

4шт.

|52

01510-32022

NUT

SN: 1003-2299

4шт.

53

04050-04040

PIN

SN: 1003-UP

4шт.

54

04020-01024

PIN

SN: 1003-UP

2шт.

55

232-22-11392

COVER

SN: 2960-UP

1шт.

|55

232-22-11391

COVER

SN: 1003-2959

1шт.

56

232-22-11410

GASKET

SN: 1003-UP

1шт.

57

01010-31225

BOLT

SN: 4086-UP

19шт.

|57

01010-31225

BOLT

SN: 2300-4085

20шт.

|57

01000-31225

BOLT

SN: 1003-2299

20шт.

58

01602-01236

WASHER

SN: 1003-UP

20шт.

59

07040-11812

PLUG

SN: 2960-UP

1шт.

|59

07042-00415

PLUG

SN: 1003-2959

1шт.

59A

07000-12014

O-RING

SN: 2960-UP

1шт.

60

07044-13620

PLUG

SN: 1003-UP

1шт.

61

07002-13634

O-RING

SN: 2960-UP

1шт.

|61

07003-13642

GASKET

SN: 1003-2959

1шт.

62

232-22-05510

SHIM ASS'Y

SN: 1003-UP

2шт.

|62

232-22-11340

SHIM¤ 1.0MM (KIT)

SN: 1003-UP

1шт.

|62

232-22-11350

SHIM¤ 3.2MM (KIT)

SN: 1003-UP

1шт.

|62

232-22-11360

SHIM¤ 0.5MM (KIT)

SN: 1003-UP

2шт.

63

232-22-11370

GASKET

SN: 1003-UP

1шт.

65

01010-31645

BOLT

SN: 2300-UP

8шт.

|65

01000-31645

BOLT

SN: 1003-2299

8шт.

66

01602-01648

WASHER

SN: 1003-UP

8шт.

67

01010-31655

BOLT

SN: 2300-UP

16шт.

|67

01040-31655

BOLT

SN: 1003-2299

16шт.

68

01602-01648

WASHER

SN: 1003-UP

16шт.

69

232-22-11423

FILLER

SN: 1501-UP

1шт.

72

232-23-11220

BREATHER

SN: .-UP

1шт.

|72

0

BREATHER

SN: 1501-.

1шт.

73

07005-03016

GASKET

SN: .-UP

1шт.

|73

0

GASKET

SN: 1003-.

1шт.

Выбрано товаров: 131