Запчасти Komatsu GD31-3H КОЛЕСН. ТОРМОЗ КОЛЕСА¤ РУЛЕВ. УПРАВЛЕНИЕ И СИСТЕМА УПРАВЛЕНИЯS

Схема запчастей Komatsu GD31-3H - КОЛЕСН. ТОРМОЗ КОЛЕСА¤ РУЛЕВ. УПРАВЛЕНИЕ И СИСТЕМА УПРАВЛЕНИЯS
FIT
1:1
100%

Артикул

Название

Примечание

Количество

|1

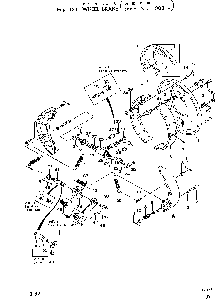
233-32-00016

WHEEL BRAKE ASS'Y

SN: 3440-UP

4шт.

|1

0

WHEEL BRAKE ASS'Y

SN: 3416-3439

4шт.

|1

0

WHEEL BRAKE ASS'Y

SN: 3224-3415

4шт.

|1

233-32-00013

WHEEL BRAKE ASS'Y

SN: 2300-3223

4шт.

|1

233-32-00012

WHEEL BRAKE ASS'Y

SN: 1336-2299

4шт.

|1

233-32-00042

COVER ASS'Y

SN: 3224-UP

1шт.

|1

233-32-00041

COVER ASS'Y

SN: 2300-3223

1шт.

|1

233-32-00040

COVER ASS'Y

SN: 1003-2299

1шт.

1

0

PLATE

SN: 3224-UP

1шт.

|1

0

COVER

SN: 1003-3223

1шт.

2

233-32-11121

PIN

SN: 2156-UP

2шт.

|2

233-32-11120

PIN

SN: 1003-2155

2шт.

3

01010-31225

BOLT

SN: 1003-UP

6шт.

4

233-32-11150

WASHER

SN: 1023-4000

2шт.

|5

233-32-00021

BRAKE SHOE ASS'Y

SN: 1419-UP

1шт.

|5

233-32-00061

BRAKE SHOE ASS'Y

SN: 1419-UP

2шт.

5

233-32-11130

SHOE

SN: 1003-UP

1шт.

6

233-32-11140

LINING

SN: 1419-UP

2шт.

7

04412-00614

RIVET

SN: 1003-UP

16шт.

8

232-32-11160

SPRING

SN: 1003-UP

2шт.

9

232-32-11170

WASHER

SN: 1003-UP

4шт.

10

01640-21020

WASHER

SN: 1003-UP

2шт.

11

04050-13028

PIN

SN: 1003-UP

2шт.

12

01010-31035

BOLT

SN: 1003-UP

2шт.

13

01602-01030

WASHER

SN: 1003-UP

2шт.

14

236-32-21120

SHAFT

SN: 3224-UP

1шт.

|14

233-32-11392

SHAFT

SN: 2300-3223

1шт.

|14

233-32-11391

SHAFT

SN: 1003-2299

2шт.

15

01580-12016

NUT

SN: 1003-UP

2шт.

16

01602-22060

WASHER

SN: 1003-UP

2шт.

17

233-32-11441

PIN

SN: 3416-UP

2шт.

|17

233-32-11440

PIN

SN: 1003-3415

2шт.

18

01590-10809

NUT

SN: 2300-3415

2шт.

19

04050-02018

PIN

SN: 1003-3415

2шт.

|20

233-32-00033

CYLINDER ASS'Y

SN: 2300-UP

1шт.

|20

233-32-00032

CYLINDER ASS'Y

SN: 1336-2299

1шт.

20

232-32-11211

BODY

SN: 1093-UP

1шт.

21

232-32-11221

BOOT

SN: 1093-UP

2шт.

22

232-32-11231

PISTON

SN: 1093-UP

2шт.

23

232-32-11241

CAP

SN: 1093-UP

2шт.

|24

233-32-00051

ROD ASS'Y

SN: 1093-UP

2шт.

24

0

ROD

SN: 1093-UP

1шт.

25

232-32-11261

PIN

SN: 1093-UP

1шт.

26

232-32-11271

SPRING

SN: 1093-UP

1шт.

27

232-32-11281

RETAINER

SN: 1093-UP

2шт.

28

232-32-11292

UNION

SN: 1336-UP

1шт.

29

232-32-11311

GASKET (KIT)

SN: 1093-UP

1шт.

30

232-32-11322

VALVE

SN: 2300-UP

1шт.

|30

232-32-11321

VALVE

SN: 1093-2299

1шт.

31

232-32-11332

BOLT

SN: 2300-UP

1шт.

|31

232-32-11331

BOLT

SN: 1093-2299

1шт.

32

232-32-11341

GASKET (KIT)

SN: 1093-UP

1шт.

33

232-32-11350

CAP

SN: 1093-UP

1шт.

34

236-32-21130

PLATE

SN: 3224-UP

2шт.

|34

233-32-11381

SEAT

SN: 1003-3223

2шт.

35

233-32-11451

SPRING

SN: 1003-UP

2шт.

36

04064-01812

RING

SN: 3224-UP

2шт.

|36

04066-00016

RING

SN: 1003-3223

2шт.

37

232-32-11460

SPRING

SN: 1003-UP

1шт.

38

233-32-11511

BEARING

SN: 2300-UP

1шт.

|38

233-32-11510

BEARING

SN: 1003-2299

1шт.

39

232-32-11521

YOKE

SN: 2300-UP

1шт.

|39

232-32-11520

YOKE

SN: 1003-2299

1шт.

40

232-32-11531

YOKE

SN: 2300-UP

1шт.

|40

232-32-11530

YOKE

SN: 1003-2299

1шт.

41

233-32-11541

NUT

SN: 2300-3439

1шт.

|41

233-32-11540

NUT

SN: 1336-2299

1шт.

42

233-32-11550

GEAR

SN: 1336-3439

1шт.

44

04064-02512

RING

SN: 1336-UP

1шт.

45

232-32-11560

SPRING

SN: 1003-UP

1шт.

46

233-32-11570

SEAT

SN: 1003-UP

2шт.

47

232-32-11580

PIN

SN: 1003-UP

2шт.

48

04050-03025

PIN

SN: 1003-UP

2шт.

49

232-32-11590

WASHER

SN: 1003-UP

1шт.

50

232-23-12140

LOCK

SN: 1003-UP

1шт.

51

01010-51235

BOLT

SN: 2300-UP

2шт.

|51

0

BOLT

SN: 1003-2299

2шт.

52

01010-51240

BOLT

SN: 3224-UP

2шт.

53

236-32-21140

LOCK

SN: 3224-UP

1шт.

54

233-32-11542

GEAR

SN: 3440-UP

1шт.

55

233-32-11560

COLLAR

SN: 3440-UP

1шт.

Выбрано товаров: 0