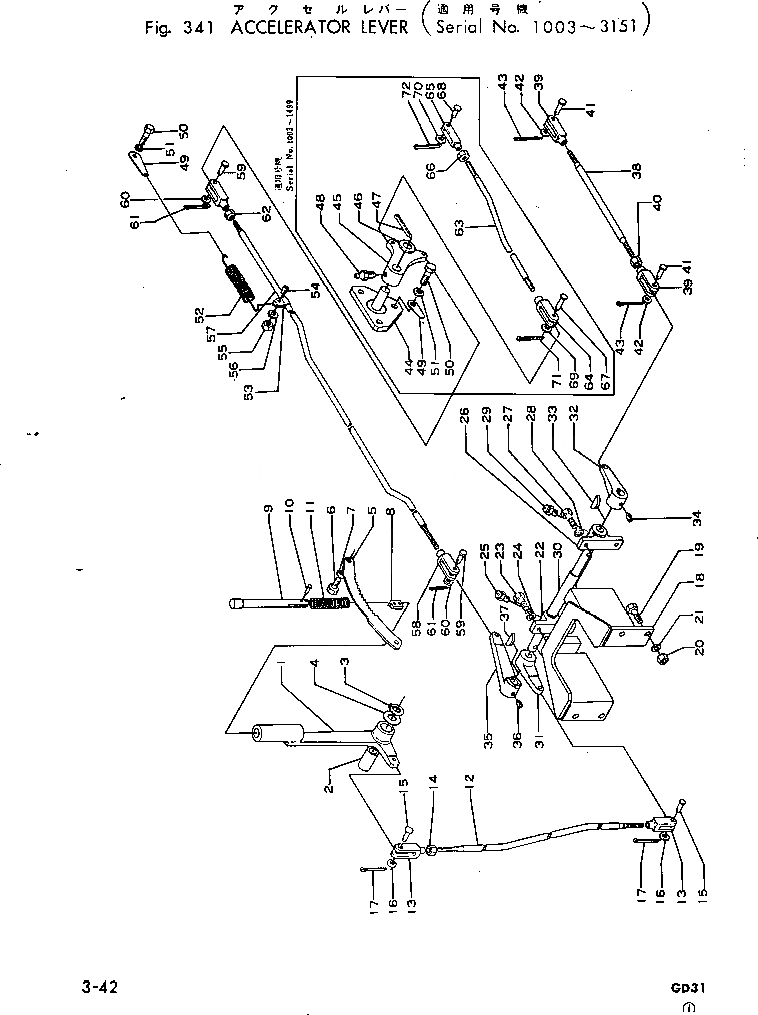
Запчасти Komatsu GD31-3H АКСЕЛЕРАТОР РЫЧАГ КОЛЕСА¤ РУЛЕВ. УПРАВЛЕНИЕ И СИСТЕМА УПРАВЛЕНИЯS

Схема запчастей Komatsu GD31-3H - АКСЕЛЕРАТОР РЫЧАГ КОЛЕСА¤ РУЛЕВ. УПРАВЛЕНИЕ И СИСТЕМА УПРАВЛЕНИЯS
FIT
1:1
100%

Артикул

Название

Примечание

Количество

|1

232-43-00020

LEVER ASS'Y

SN: 1063-3151

1шт.

1

0

LEVER

SN: 1063-3151

1шт.

|1

232-43-12110

LEVER

SN: 1003-1062

1шт.

2

232-43-91220

BUSHING

SN: 1003-3151

1шт.

3

04066-00108

RING

SN: 1063-3151

1шт.

4

01640-01829

WASHER

SN: 1063-3151

1шт.

|4

01640-11629

WASHER

SN: 1003-1062

1шт.

5

232-43-12121

RATCHET

SN: 1063-3151

1шт.

|5

232-43-12120

RATCHET

SN: 1003-1062

1шт.

6

01000-40816

BOLT

SN: 1003-2299

2шт.

7

01602-00825

WASHER,SPRING

SN: 1003-3151

2шт.

|8

232-43-00010

PUSH ROD ASS'Y

SN: 1003-3151

1шт.

8

232-43-12130

PAWL

SN: 1003-3151

1шт.

9

232-43-12140

ROD,PUSH

SN: 1003-3151

1шт.

10

232-43-12150

RIVET

SN: 1003-3151

2шт.

11

232-43-12160

SPRING

SN: 1003-3151

1шт.

12

233-43-12223

ROD

SN: 1336-3151

1шт.

|12

233-43-12222

ROD

SN: 1063-1335

1шт.

|12

233-43-12221

ROD

SN: 1003-1062

1шт.

13

04211-00844

YOKE,ADJUSTABLE

SN: 1003-3151

2шт.

14

01580-00806

NUT

SN: 1003-3151

1шт.

15

04205-00825

PIN,CLEVIS

SN: 1003-3151

2шт.

16

01641-00812

WASHER

SN: 1003-3151

2шт.

17

04050-02012

PIN,COTTER

SN: 1003-3151

2шт.

18

232-43-12230

BRACKET

SN: 1003-3151

1шт.

19

01010-31030

BOLT

SN: 1003-3151

4шт.

20

01580-01008

NUT

SN: 1003-3151

4шт.

21

01602-01030

WASHER

SN: 1003-3151

4шт.

22

232-43-12240

BLOCK

SN: 1003-3151

1шт.

23

01010-30825

BOLT

SN: 1003-3151

2шт.

24

01602-00825

WASHER

SN: 1003-3151

2шт.

25

07020-00675

FITTING

SN: 1003-3151

1шт.

26

232-43-12250

BLOCK

SN: 1003-3151

1шт.

27

01010-30825

BOLT

SN: 1003-3151

2шт.

28

01602-00825

WASHER

SN: 1003-3151

2шт.

29

07020-00675

FITTING

SN: 1003-3151

1шт.

30

232-43-12261

SHAFT

SN: 1003-3151

1шт.

31

232-43-12271

LEVER

SN: 1003-3151

1шт.

32

232-43-12281

LEVER

SN: 1003-3151

1шт.

33

04010-00519

KEY

SN: 1003-3151

1шт.

34

232-43-12310

SCREW

SN: 1003-3151

1шт.

35

232-43-12293

LEVER

SN: 1003-3151

1шт.

36

232-43-12310

SCREW

SN: 1003-3151

1шт.

37

04010-00519

KEY

SN: 1003-3151

1шт.

38

232-43-12323

ROD

SN: 1003-3151

1шт.

39

04211-00844

YOKE

SN: 1003-3151

2шт.

40

01580-00806

NUT

SN: 1003-3151

1шт.

41

04205-00825

PIN

SN: 1003-3151

2шт.

42

01641-00812

WASHER

SN: 1003-3151

2шт.

43

04050-02012

PIN

SN: 1003-3151

2шт.

49

232-43-12350

HOOK

SN: 1003-3151

1шт.

50

01010-31025

BOLT

SN: 1003-3151

1шт.

51

01602-01030

WASHER

SN: 1003-3151

1шт.

52

232-43-12360

SPRING

SN: 1003-3151

1шт.

53

232-43-12370

HANGER

SN: 1003-3151

1шт.

54

01210-40616

SCREW

SN: 1003-3151

1шт.

55

01580-00605

NUT

SN: 1003-3151

1шт.

56

01602-00619

WASHER

SN: 1003-3151

1шт.

57

232-43-12382

ROD

SN: 1003-3151

1шт.

58

04211-00844

YOKE

SN: 1003-3151

2шт.

59

04205-00825

PIN

SN: 1003-3151

2шт.

60

01641-00812

WASHER

SN: 1003-3151

2шт.

61

04050-02012

PIN

SN: 1003-3151

2шт.

62

01580-00806

NUT

SN: 1003-3151

1шт.

Выбрано товаров: 64