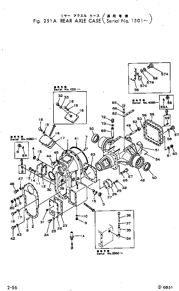
Запчасти Komatsu GD31RC-3A ЗАДН. МОСТ КОРПУС СИЛОВАЯ ПЕРЕДАЧА

Схема запчастей Komatsu GD31RC-3A - ЗАДН. МОСТ КОРПУС СИЛОВАЯ ПЕРЕДАЧА
FIT
1:1
100%

Артикул

Название

Примечание

Количество

|1

232-22-00017

CASE ASS'Y

SN: 4686-UP

1шт.

|1

232-22-00016

CASE ASS'Y

SN: 4530-4685

1шт.

|1

232-22-00015

CASE ASS'Y

SN: 4001-4529

1шт.

1

232-22-11116

CASE

SN: 4686-UP

1шт.

|1

232-22-11212

CASE

SN: 4530-4685

1шт.

|1

232-22-11115

CASE

SN: 4001-4529

1шт.

1A

232-22-11280

TUBE

SN: 4686-UP

1шт.

2

232-22-11151

GASKET

SN: 4001-UP

1шт.

3

07011-00035

SEAL

SN: 4001-UP

1шт.

4

07046-05020

PLUG

SN: 4001-UP

1шт.

5

01141-31420

STUD

SN: 4001-UP

2шт.

6

04020-01434

PIN

SN: 4001-UP

1шт.

7

230-10-11420

PIN

SN: 4001-UP

3шт.

8

07040-11812

PLUG

SN: 4001-UP

1шт.

8A

07002-11823

O-RING

SN: 4001-UP

1шт.

9

07044-13620

PLUG

SN: 4001-UP

2шт.

10

07002-13634

O-RING

SN: 4001-UP

2шт.

15

06120-03520

BEARING

SN: 4001-UP

3шт.

16

232-11-11120

COVER

SN: 4686-UP

1шт.

|16

232-11-11121

COVER

SN: 4530-4685

1шт.

|16

232-11-11120

COVER

SN: 4001-4529

1шт.

17

232-11-11130

GASKET

SN: 4686-UP

1шт.

|17

232-11-11131

GASKET

SN: 4530-4685

1шт.

|17

232-11-11130

GASKET

SN: 4001-4529

1шт.

18

01010-51020

BOLT

SN: 4686-UP

8шт.

|18

01010-31025

BOLT

SN: 4530-4685

8шт.

|18

01010-51020

BOLT

SN: 4001-4529

8шт.

19

01602-21030

WASHER

SN: 4001-UP

8шт.

20

01582-11411

NUT

SN: 4001-UP

2шт.

21

01602-21442

WASHER

SN: 4001-UP

2шт.

22

232-11-11351

COVER

SN: 4001-UP

1шт.

23

232-11-11160

GASKET

SN: 4001-UP

1шт.

24

01010-81025

BOLT

SN: 4001-UP

8шт.

25

01602-21030

WASHER

SN: 4001-UP

8шт.

32

232-23-11220

BREATHER

SN: 4001-UP

1шт.

33

07005-03016

GASKET

SN: 4146-UP

1шт.

|33

0

GASKET

SN: 4001-4145

1шт.

34

230-14-11120

ELBOW

SN: 4001-UP

1шт.

35

232-22-11521

TUBE

SN: 4001-UP

1шт.

36

232-22-11511

GAUGE

SN: 4001-UP

1шт.

37

07000-03022

O-RING

SN: 4001-UP

1шт.

41

07000-15480

O-RING

SN: 4001-UP

1шт.

42

01010-31445

BOLT

SN: 4686-UP

16шт.

|42

01010-31445

BOLT

SN: 4530-4685

20шт.

|42

01010-31445

BOLT

SN: 4001-4529

16шт.

43

01602-01442

WASHER

SN: 4001-UP

16шт.

44

01010-31240

BOLT

SN: 4686-UP

13шт.

|44

01010-31240

BOLT

SN: 4530-4685

11шт.

|44

01010-31240

BOLT

SN: 4001-4529

13шт.

45

01602-01236

WASHER

SN: 4686-UP

13шт.

|45

01602-01236

WASHER

SN: 4530-4685

11шт.

|45

01602-01236

WASHER

SN: 4001-4529

13шт.

46

01010-31440

BOLT

SN: 4686-UP

4шт.

|46

01010-31440

BOLT

SN: 4001-4529

4шт.

47

01602-01442

WASHER

SN: 4686-UP

4шт.

|47

01602-01442

WASHER

SN: 4001-4529

4шт.

|48

232-22-00026

CASE ASS'Y

SN: 4086-UP

1шт.

|48

0

CASE ASS'Y

SN: 4001-4085

1шт.

48

232-22-11315

CASE

SN: 4086-UP

1шт.

|48

0

CASE

SN: 4001-4085

1шт.

48A

232-22-11460

SPACER

SN: 4001-UP

2шт.

49

232-22-11321

STUD

SN: 4001-UP

4шт.

50

07011-00100

SEAL

SN: 4001-UP

2шт.

51

232-22-11331

COVER

SN: 4086-UP

2шт.

|51

0

COVER

SN: 4001-4085

2шт.

52

01590-02022

NUT

SN: 4001-UP

4шт.

53

04050-04040

PIN

SN: 4001-UP

4шт.

54

04020-01024

PIN

SN: 4001-UP

2шт.

55

232-22-11392

COVER

SN: 4001-UP

1шт.

56

232-22-11410

GASKET

SN: 4001-UP

1шт.

57

01010-31225

BOLT

SN: 4086-UP

19шт.

|57

01010-31225

BOLT

SN: 4001-4085

20шт.

57A

01010-31230

BOLT

SN: 4086-UP

1шт.

57B

01640-21223

WASHER

SN: 4086-UP

1шт.

57C

233-801-1910

CLIP

SN: 4086-UP

1шт.

58

01602-01236

WASHER

SN: 4001-UP

20шт.

59

07040-11812

PLUG

SN: 4001-UP

1шт.

59A

07000-12014

O-RING

SN: 4001-UP

1шт.

60

07044-13620

PLUG

SN: 4001-UP

1шт.

61

07002-13634

O-RING

SN: 4001-UP

1шт.

62

232-22-05510

SHIM ASS'Y

SN: 4001-UP

2шт.

|62

0

SHIM¤ 0.5MM (KIT)

SN: 4001-UP

2шт.

|62

0

SHIM¤ 1.0MM (KIT)

SN: 4001-UP

1шт.

|62

0

SHIM¤ 3.2MM (KIT)

SN: 4001-UP

1шт.

63

232-22-11370

GASKET

SN: 4001-UP

1шт.

65

01010-31645

BOLT

SN: 4001-UP

8шт.

66

01602-01648

WASHER

SN: 4001-UP

8шт.

67

01010-31655

BOLT

SN: 4001-UP

16шт.

68

01602-01648

WASHER

SN: 4001-UP

16шт.

69

232-22-11423

FILLER

SN: 4001-UP

1шт.

72

232-23-11220

BREATHER

SN: 4001-UP

1шт.

73

07005-03016

GASKET

SN: 4146-UP

1шт.

|73

0

GASKET

SN: 4001-4145

1шт.

Выбрано товаров: 93