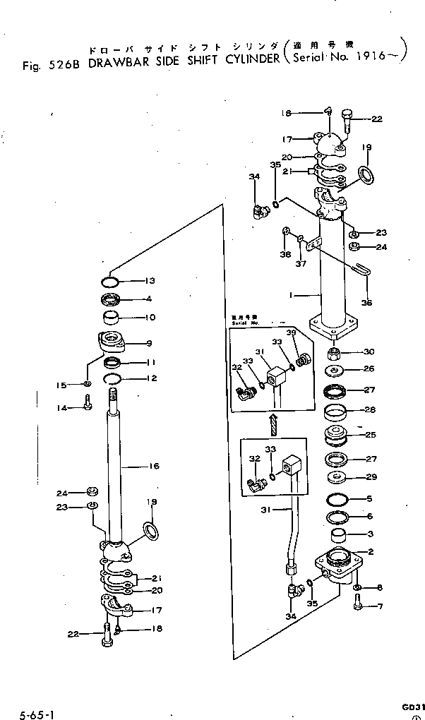
Запчасти Komatsu GD31RC-3A БОКОВ. СДВИГ СЦЕПН. УСТР-ВА ЦИЛИНДР РАБОЧЕЕ ОБОРУДОВАНИЕ И ITS СИСТЕМА УПРАВЛЕНИЯ

Схема запчастей Komatsu GD31RC-3A - БОКОВ. СДВИГ СЦЕПН. УСТР-ВА ЦИЛИНДР РАБОЧЕЕ ОБОРУДОВАНИЕ И ITS СИСТЕМА УПРАВЛЕНИЯ
FIT
1:1
100%

Артикул

Название

Примечание

Количество

|1

233-63-22003

CYLINDER ASS'Y

SN: .-UP

1шт.

|1

233-63-22001

CYLINDER ASS'Y

SN: 4001-.

1шт.

1

233-63-22140

CYLINDER

SN: 4001-UP

1шт.

2

233-63-12130

HEAD

SN: 4001-UP

1шт.

3

07177-04025

BUSHING

SN: 4001-UP

1шт.

4

236-63-11173

PACKING

SN: 4001-UP

1шт.

5

07000-12065

O-RING

SN: 4001-UP

1шт.

6

07146-02066

RING

SN: 4001-UP

1шт.

7

01010-31440

BOLT

SN: .-UP

4шт.

|7

0

BOLT

SN: 4001-.

4шт.

8

01602-01442

WASHER

SN: 4001-UP

4шт.

9

07178-04035

GLAND

SN: 4001-UP

1шт.

10

07177-04012

BUSHING

SN: 4001-UP

1шт.

11

07016-00407

SEAL

SN: 4001-UP

1шт.

12

07179-00059

RING

SN: 4001-UP

1шт.

13

07000-03055

O-RING

SN: 4001-UP

1шт.

14

01010-31240

BOLT

SN: .-UP

2шт.

|14

0

BOLT

SN: 4001-.

2шт.

15

01602-01236

WASHER

SN: 4001-UP

2шт.

16

233-63-22120

ROD

SN: 4001-UP

1шт.

17

07138-00760

CAP

SN: 4001-UP

2шт.

18

07020-00900

FITTING

SN: 4001-UP

2шт.

19

233-63-12390

SEAL

SN: 4001-UP

2шт.

20

07139-00705

SHIM¤ 0.5MM

SN: 4001-UP

2шт.

21

07139-00702

SHIM¤ 0.2MM

SN: 4001-UP

4шт.

22

01010-31665

BOLT

SN: .-UP

4шт.

|22

0

BOLT

SN: 4001-.

4шт.

23

01602-01648

WASHER

SN: 4001-UP

4шт.

24

01580-31613

NUT

SN: .-UP

4шт.

|24

0

NUT

SN: 4001-.

4шт.

25

07150-00724

PISTON

SN: 4001-UP

1шт.

26

112-63-12570

RETAINER

SN: 4001-UP

1шт.

27

112-63-12462

PACKING

SN: 4001-UP

2шт.

28

07155-00720

RING

SN: 4001-UP

1шт.

29

112-63-12560

RETAINER

SN: 4001-UP

1шт.

30

07165-12426

NUT

SN: 4001-UP

1шт.

31

233-63-22191

TUBE

SN: .-UP

1шт.

|31

233-63-22190

TUBE

SN: 4001-.

1шт.

32

233-63-22180

ELBOW

SN: .-UP

1шт.

|32

07235-10422

ELBOW

SN: 4001-.

1шт.

33

07002-12034

O-RING

SN: .-UP

2шт.

|33

07002-12034

O-RING

SN: 4001-.

1шт.

34

07235-10422

ELBOW

SN: .-UP

2шт.

|34

0

ELBOW

SN: 4001-.

2шт.

35

07002-12034

O-RING

SN: 4001-UP

2шт.

36

07283-22244

CLIP

SN: 4001-UP

1шт.

37

01643-31032

WASHER

SN: 4001-UP

2шт.

38

01599-01011

NUT

SN: .-UP

2шт.

|38

0

NUT

SN: 4001-.

2шт.

39

07040-12012

PLUG

SN: .-UP

1шт.

Выбрано товаров: 50