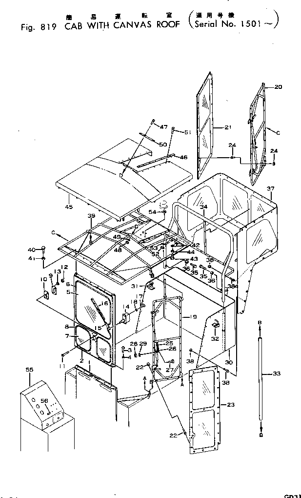
Запчасти Komatsu GD31RC-3A CANVAS КАБИНА ОПЦИОННЫЕ КОМПОНЕНТЫ

Схема запчастей Komatsu GD31RC-3A - CANVAS КАБИНА ОПЦИОННЫЕ КОМПОНЕНТЫ
FIT
1:1
100%

Артикул

Название

Примечание

Количество

|1

233-55-00014

CAB ASS'Y

SN: 4001-UP

1шт.

1

233-55-12123

FRAME

SN: 4001-UP

1шт.

|1

01580-01008

NUT (WELDED)

SN: 4001-UP

6шт.

2

232-55-12114

SHIELD

SN: 4001-UP

1шт.

|2

01580-01008

NUT (WELDED)

SN: 4001-UP

6шт.

3

01010-51025

BOLT

SN: 4001-UP

6шт.

4

01602-21030

WASHER

SN: 4001-UP

6шт.

5

232-55-11512

GLASS

SN: .-UP

1шт.

|5

0

GLASS

SN: 4001-.

1шт.

6

09410-00320

STRIP

SN: 4001-UP

1шт.

7

232-55-11522

GLASS

SN: .-UP

2шт.

|7

0

GLASS

SN: 4001-.

2шт.

8

09410-00142

STRIP

SN: 4001-UP

2шт.

9

232-55-12241

PLATE

SN: 4001-UP

1шт.

10

232-55-12251

SEAT

SN: 4001-UP

1шт.

11

01210-50616

SCREW

SN: 4001-UP

4шт.

12

01580-10605

NUT

SN: 4001-UP

4шт.

13

01601-20619

WASHER

SN: 4001-UP

4шт.

14

08180-02480

WIPER MOTOR ASS'Y

SN: 4001-UP

1шт.

15

08184-00550

ARM

SN: 4001-UP

1шт.

16

08185-00350

BLADE

SN: 4001-UP

1шт.

17

01210-50616

SCREW

SN: 4001-UP

6шт.

18

01601-20619

WASHER

SN: 4001-UP

6шт.

19

232-55-12142

DOOR

SN: 4001-UP

1шт.

|19

01641-21016

WASHER (WELDED)

SN: 4001-UP

2шт.

|19

01642-21216

WASHER (WELDED)

SN: 4001-UP

1шт.

20

232-55-12152

DOOR

SN: 4001-UP

1шт.

|20

01641-21016

WASHER (WELDED)

SN: 4001-UP

2шт.

|20

01642-21216

WASHER (WELDED)

SN: 4001-UP

1шт.

21

232-55-12211

SHEET

SN: 4001-UP

1шт.

22

232-55-12261

HOOK

SN: 4001-UP

25шт.

23

232-55-12221

SHEET

SN: 4001-UP

1шт.

24

232-55-12261

HOOK

SN: 4001-UP

25шт.

25

232-55-12330

SPRING

SN: 4001-UP

2шт.

26

232-55-12340

CLAMP

SN: 4001-UP

2шт.

27

01010-50616

BOLT

SN: 4001-UP

2шт.

28

01580-10605

NUT

SN: 4001-UP

2шт.

29

01601-20619

WASHER

SN: 4001-UP

2шт.

30

232-55-12182

FRAME

SN: 4001-UP

1шт.

31

232-55-12280

LOCK

SN: 4001-UP

1шт.

32

232-55-12290

LOCK

SN: 4001-UP

1шт.

33

232-55-12162

POLE

SN: 4001-UP

2шт.

34

232-55-12133

POLE

SN: 4001-UP

1шт.

|34

01580-01210

NUT (WELDED)

SN: 4001-UP

4шт.

35

01016-51235

BOLT

SN: 4001-UP

4шт.

36

01580-11210

NUT

SN: 4001-UP

4шт.

37

232-55-12233

SHEET

SN: 4001-UP

1шт.

38

232-55-12261

HOOK

SN: 4001-UP

45шт.

39

232-55-12122

ROOF

SN: 4001-UP

1шт.

40

01010-31025

BOLT

SN: 4001-UP

6шт.

41

01602-01030

WASHER

SN: 4001-UP

6шт.

42

131-906-1150

CLIP

SN: 4001-UP

2шт.

43

01010-51430

BOLT

SN: 4001-UP

4шт.

44

01602-21442

WASHER

SN: 4001-UP

4шт.

45

232-55-12192

SHEET

SN: 4001-UP

1шт.

46

232-55-12270

PLATE

SN: 4001-UP

2шт.

47

01210-50430

SCREW

SN: 4001-UP

14шт.

48

01580-10403

NUT

SN: 4001-UP

14шт.

49

01601-20410

WASHER

SN: 4001-UP

14шт.

50

232-55-12320

PLATE

SN: 4001-UP

1шт.

51

01210-50430

SCREW

SN: 4001-UP

4шт.

52

01580-10403

NUT

SN: 4001-UP

4шт.

53

01601-20410

WASHER

SN: 4001-UP

4шт.

54

232-55-12310

SEAT

SN: 4001-UP

3шт.

56

08183-00000

SWITCH

SN: .-UP

1шт.

|56

08060-00000

SWITCH

SN: 4001-.

1шт.

Выбрано товаров: 66