Запчасти Komatsu GD31RC-3A OНОВ.AY SNOW PНИЗ. (/) ОПЦИОННЫЕ КОМПОНЕНТЫ

Схема запчастей Komatsu GD31RC-3A - OНОВ.AY SNOW PНИЗ. (/) ОПЦИОННЫЕ КОМПОНЕНТЫ
FIT
1:1
100%

Артикул

Название

Примечание

Количество

|1

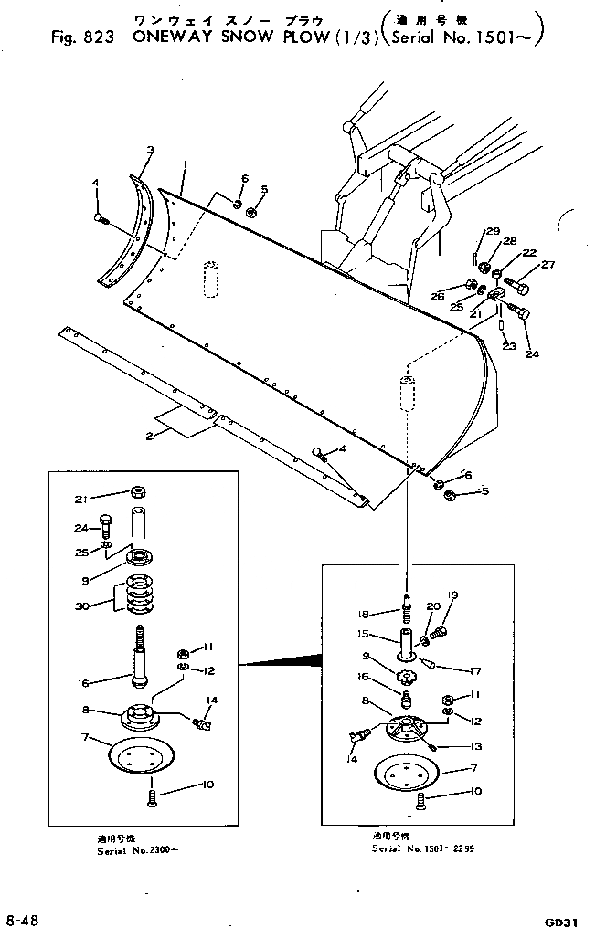
233-970-0111

PLOW ASS'Y

SN: 4001-UP

1шт.

1

233-970-5111

BLADE

SN: 4001-UP

1шт.

|1

233-970-5121

TUBE (WELDED)

SN: 4001-UP

2шт.

2

233-970-5140

EDGE

SN: 4001-UP

2шт.

3

233-970-5150

BIT

SN: 4001-UP

1шт.

4

02090-11050

BOLT

SN: 4001-UP

22шт.

5

02290-11016

NUT

SN: 4001-UP

22шт.

6

01602-01648

WASHER

SN: 4001-UP

22шт.

|7

233-970-0121

SLED ASS'Y

SN: 4001-UP

2шт.

7

233-970-5210

SLED

SN: 4001-UP

1шт.

8

233-970-5221

PLATE

SN: 4001-UP

1шт.

9

233-970-5250

CAP

SN: 4001-UP

1шт.

10

02090-11050

BOLT

SN: 4001-UP

4шт.

11

02290-11016

NUT

SN: 4001-UP

4шт.

12

01602-01648

WASHER

SN: 4001-UP

4шт.

14

07020-00675

FITTING

SN: 4001-UP

1шт.

16

233-970-5261

SHAFT

SN: 4001-UP

1шт.

21

01580-14838

NUT

SN: 4001-UP

1шт.

24

01010-31035

BOLT

SN: 4001-UP

4шт.

25

01602-01030

WASHER

SN: 4001-UP

4шт.

30

233-970-5230

SHIM¤ 0.2MM

SN: 4001-UP

4шт.

Выбрано товаров: 21