Запчасти Komatsu GD31RC-3A ПАНЕЛЬ ПРИБОРОВ КОМПОНЕНТЫ ДВИГАТЕЛЯ И ЭЛЕКТРИКА

Схема запчастей Komatsu GD31RC-3A - ПАНЕЛЬ ПРИБОРОВ КОМПОНЕНТЫ ДВИГАТЕЛЯ И ЭЛЕКТРИКА
FIT
1:1
100%

Артикул

Название

Примечание

Количество

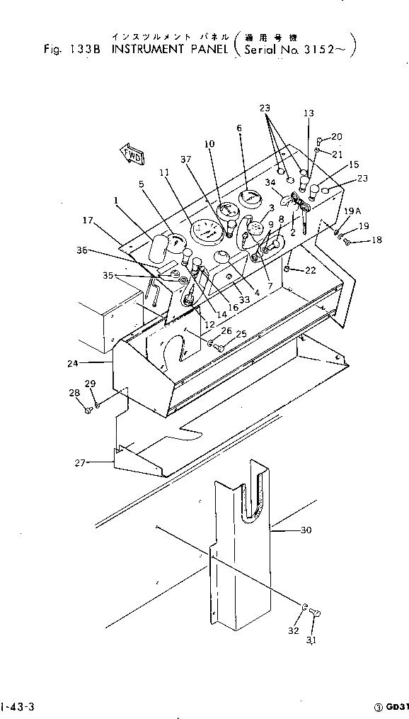
1

08144-02400

LAMP,PANEL

SN: 4001-UP

1шт.

2

08086-00000

SWITCH,STARTING

SN: 4001-UP

1шт.

3

6110-83-4813

SIGNAL

SN: 4001-UP

1шт.

3

0

SIGNAL

SN: 4001-4063

1шт.

4

08146-02400

LAMP,OIL FILTER

SN: 4001-UP

1шт.

5

08661-14000

GAUGE,WATER TEMPERATURE

SN: 4001-UP

1шт.

6

08631-02000

GAUGE,OIL PRESSURE

SN: 4001-UP

1шт.

7

232-06-13224

TUBE

SN: 4001-UP

1шт.

8

07206-10610

BOLT,JOINT

SN: 4001-UP

1шт.

9

07005-01012

GASKET

SN: 4001-UP

2шт.

10

08601-43000

AMMETER

SN: 5190-UP

1шт.

10

0

AMMETER

SN: 4001-5189

1шт.

10

08601-15000

AMMETER,(FOR 35A ALTERNATOR)

SN: .-UP

1шт.

11

08602-00500

SPEEDOMETER

SN: 4001-UP

1шт.

11

08111-02430

BULB, 3W

SN: 4001-UP

1шт.

12

08603-40023

CABLE

SN: 4001-UP

1шт.

13

236-06-23310

SWITCH,HEAD LAMP

SN: .-UP

1шт.

13

0

SWITCH,HEAD LAMP

SN: 4001-.

1шт.

14

236-06-23320

SWITCH,WORKING LAMP

SN: .-UP

1шт.

14

0

SWITCH,WORKING LAMP

SN: 4001-.

1шт.

15

236-06-23330

SWITCH,PARKING LAMP

SN: .-UP

1шт.

15

0

SWITCH,PARKING LAMP

SN: 4001-.

1шт.

16

236-06-23350

SWITCH,BEACON LAMP

SN: .-UP

1шт.

16

0

SWITCH,BEACON LAMP

SN: 4001-.

1шт.

17

232-06-15451

PANEL

SN: 5046-UP

1шт.

17

232-06-15450

PANEL

SN: 4001-5045

1шт.

18

01010-50610

BOLT

SN: 4001-UP

7шт.

19

01602-20619

WASHER

SN: 4001-UP

7шт.

19A

01640-20610

WASHER

SN: 4182-UP

7шт.

20

01220-40412

SCREW

SN: 4001-UP

1шт.

21

01601-20410

WASHER

SN: 4001-UP

1шт.

22

01580-10403

NUT

SN: 4001-UP

1шт.

23

130-911-1640

PLUG

SN: 4001-UP

4шт.

24

232-06-15470

BRACKET

SN: 4001-UP

1шт.

25

01010-51016

BOLT

SN: 4001-UP

4шт.

26

01602-21030

WASHER

SN: 4001-UP

4шт.

27

232-06-15480

COVER

SN: 4001-UP

1шт.

28

01010-50610

BOLT

SN: 4001-UP

4шт.

29

01602-20619

WASHER

SN: 4001-UP

4шт.

30

232-06-15490

COVER

SN: 4001-UP

1шт.

31

01010-50616

BOLT

SN: 4001-UP

4шт.

32

01602-20619

WASHER

SN: 4001-UP

4шт.

33

08043-16000

BOX

SN: 4001-UP

1шт.

33

08040-01000

FUSE, 10A

SN: 4001-UP

6шт.

34

130-06-12140

PLATE, OPERATING,(JAPANESE)

SN: 4001-UP

1шт.

34

09683-30060

PLATE, OPERATING,(ENGLISH)

SN: 4001-UP

1шт.

35

08147-32400

LAMP,INDICATOR

SN: 5046-UP

2шт.

35

08147-32400

LAMP,INDICATOR

SN: 4001-5045

1шт.

35

08111-02430

BULB, 3W

SN: 4001-UP

1шт.

36

232-53-12380

PLATE, NAME

SN: 4170-UP

1шт.

36

232-53-11380

PLATE, NAME

SN: 4001-4169

1шт.

37

236-06-23340

SWITCH,GLOW

SN: 4001-UP

1шт.

Выбрано товаров: 52