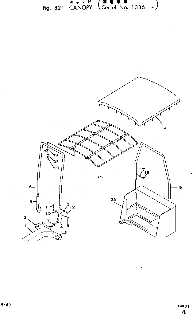
Запчасти Komatsu GD31RC-3A CANVAS НАВЕС ОПЦИОННЫЕ КОМПОНЕНТЫ

Схема запчастей Komatsu GD31RC-3A - CANVAS НАВЕС ОПЦИОННЫЕ КОМПОНЕНТЫ
FIT
1:1
100%

Артикул

Название

Примечание

Количество

1

233-55-13114

FRAME

SN: 4001-UP

1шт.

2

233-55-13141

SEAT (WELDED)

SN: 4001-UP

1шт.

3

233-55-13151

SEAT (WELDED)

SN: 4001-UP

1шт.

|$3

233-55-00054

CANOPY ASS'Y

SN: 4001-UP

1шт.

4

233-55-13120

BRACKET

SN: 4001-UP

1шт.

4

01580-01210

NUT (WELDED)

SN: 4001-UP

2шт.

5

233-55-13130

BRACKET

SN: 4001-UP

1шт.

5

01580-01210

NUT (WELDED)

SN: 4001-UP

2шт.

6

01010-51225

BOLT

SN: 4001-UP

8шт.

7

01602-21236

WASHER

SN: 4001-UP

8шт.

8

232-55-13121

COLUMN

SN: 4001-UP

1шт.

9

232-55-13170

PIN

SN: 4001-UP

2шт.

10

01641-21223

WASHER

SN: 4001-UP

2шт.

11

04050-03020

PIN

SN: 4001-UP

2шт.

12

01016-31235

BOLT

SN: 4001-UP

4шт.

13

01580-01210

NUT

SN: 4001-UP

4шт.

14

232-55-13160

SHEET

SN: 4001-UP

1шт.

15

232-55-13131

COLUMN

SN: 4001-UP

1шт.

16

01016-51235

BOLT

SN: 4001-UP

4шт.

17

01580-11210

NUT

SN: 4001-UP

4шт.

18

232-55-13112

ROOF

SN: 4001-UP

1шт.

19

131-906-1150

CLIP

SN: 4001-UP

4шт.

20

01010-51430

BOLT

SN: 4001-UP

8шт.

21

01602-21442

WASHER

SN: 4001-UP

8шт.

22

232-55-13153

FRAME

SN: 4001-UP

1шт.

Выбрано товаров: 25