Запчасти Komatsu GD31RC-3A ПОВОРОТН. ОТВАЛ Д/СНЕГА (/) ОПЦИОННЫЕ КОМПОНЕНТЫ

Схема запчастей Komatsu GD31RC-3A - ПОВОРОТН. ОТВАЛ Д/СНЕГА (/) ОПЦИОННЫЕ КОМПОНЕНТЫ
FIT
1:1
100%

Артикул

Название

Примечание

Количество

|$0

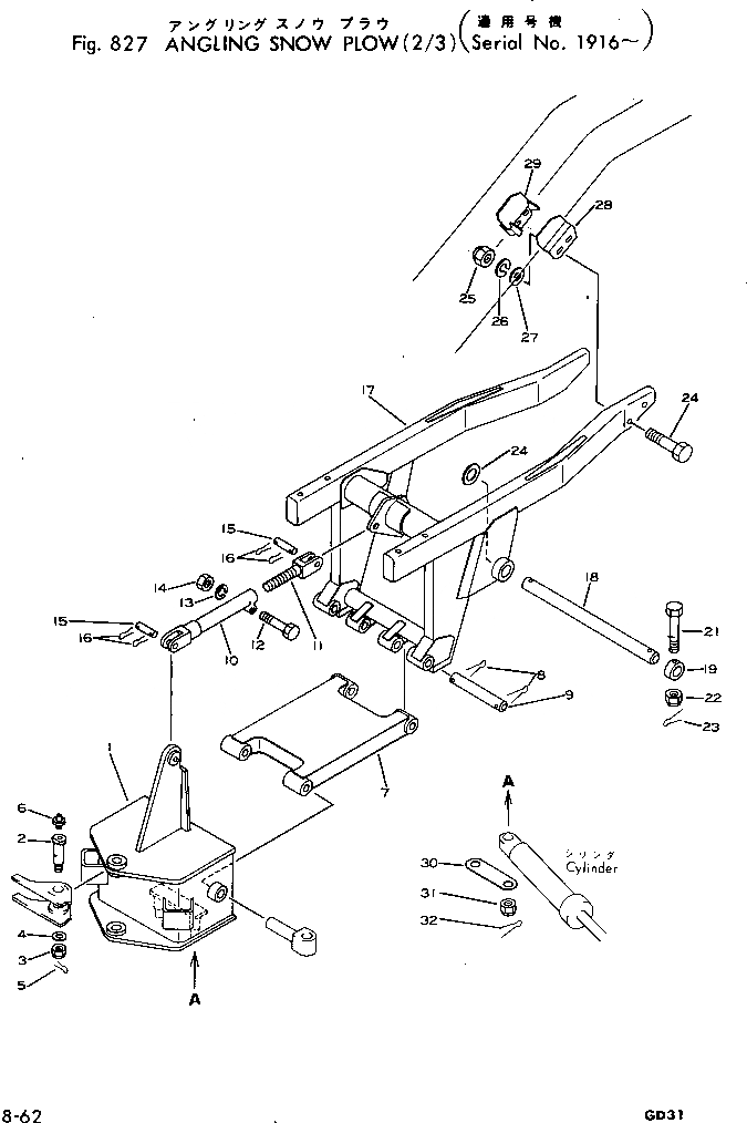
233-979-0020

SUPPORT ASS'Y

SN: 4001-UP

1шт.

1

233-979-1120

SUPPORT

SN: 4001-UP

1шт.

2

232-979-3140

PIN

SN: 4001-UP

2шт.

3

01590-02427

NUT

SN: 4001-UP

2шт.

4

01640-22540

WASHER

SN: 4001-UP

2шт.

5

04050-05045

PIN

SN: 4001-UP

2шт.

6

07020-00000

FITTING

SN: 4001-UP

2шт.

7

233-979-1130

ARM

SN: 4001-UP

1шт.

8

232-970-1521

PIN

SN: 4001-UP

2шт.

9

04050-06060

PIN

SN: 4001-UP

4шт.

10

232-979-3240

ROD

SN: 4001-UP

1шт.

11

232-970-1820

JOINT

SN: 4001-UP

1шт.

12

01010-51680

BOLT

SN: 4001-UP

1шт.

13

01602-01648

WASHER

SN: 4001-UP

1шт.

14

01580-01613

NUT

SN: 4001-UP

1шт.

15

232-970-1840

SHAFT

SN: 4001-UP

2шт.

16

04050-05040

PIN

SN: 4001-UP

4шт.

17

233-970-1241

FRAME

SN: 4001-UP

1шт.

18

233-970-1281

SHAFT

SN: 4001-UP

1шт.

19

233-970-1430

COLLAR

SN: 4001-UP

2шт.

20

233-970-1440

SHIM

SN: 4001-UP

6шт.

21

01013-01400

BOLT

SN: 4001-UP

2шт.

22

01590-01416

NUT

SN: 4001-UP

2шт.

23

04050-03028

PIN

SN: 4001-UP

2шт.

24

01010-32090

BOLT

SN: 4001-UP

4шт.

25

01580-02016

NUT

SN: 4001-UP

4шт.

26

01602-02060

WASHER

SN: 4001-UP

4шт.

27

01640-22032

WASHER

SN: 4001-UP

4шт.

28

233-970-1260

BRACKET

SN: 4001-UP

1шт.

29

233-970-1270

BRACKET

SN: 4001-UP

1шт.

30

233-979-1150

PLATE

SN: 4001-UP

1шт.

31

01593-03320

NUT

SN: 4001-UP

2шт.

32

04050-06060

PIN

SN: 4001-UP

2шт.

Выбрано товаров: 33