Запчасти Komatsu 4D130-1A КОРПУС ШЕСТЕРЕНН. ПЕРЕДАЧИ COVER БЛОК ЦИЛИНДРОВ

Схема запчастей Komatsu 4D130-1A - КОРПУС ШЕСТЕРЕНН. ПЕРЕДАЧИ COVER БЛОК ЦИЛИНДРОВ
FIT
1:1
100%

Артикул

Название

Примечание

Количество

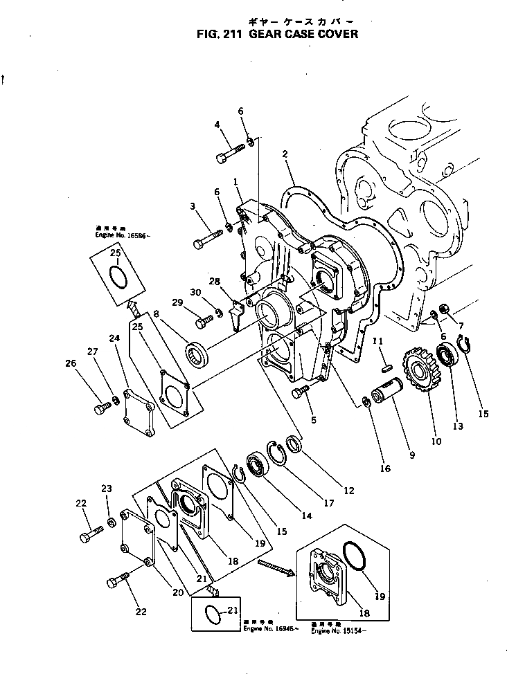
1

6114-21-3113

COVER

SN: 13724-UP

1шт.

1

0

COVER

SN: 10076-13723

1шт.

2

6110-23-3810

GASKET (K2)

SN: 10076-UP

1шт.

3

01011-31015

BOLT

SN: 10076-UP

1шт.

4

01010-31075

BOLT

SN: 10076-UP

15шт.

5

01050-31040

BOLT

SN: 10076-UP

8шт.

6

01602-01030

WASHER

SN: 10076-UP

24шт.

7

01582-01008

NUT

SN: 10076-UP

8шт.

8

07012-00075

SEAL,FRONT (K2)

SN: 10076-UP

1шт.

9

6114-81-5210

SHAFT

SN: 10076-UP

1шт.

10

6114-81-5110

GEAR

SN: 10076-UP

1шт.

11

04000-01545

KEY

SN: 10076-UP

1шт.

12

6110-83-5310

SPACER

SN: 10076-UP

1шт.

13

06000-06210

BEARING

SN: 10076-UP

1шт.

14

06001-06210

BEARING

SN: 10076-UP

1шт.

15

04064-05020

RING

SN: 10076-UP

1шт.

16

04065-02212

RING

SN: 10076-UP

1шт.

17

04065-09030

RING

SN: 10076-UP

1шт.

18

6114-21-6750

SPACER

SN: 15154-UP

1шт.

18

6114-21-6720

SPACER

SN: 10076-15153

1шт.

19

07000-02110

O-RING (K2)

SN: 11514-UP

1шт.

19

6114-21-6710

GASKET

SN: 14037-15153

1шт.

19

6114-21-6710

GASKET (K2)

SN: 10076-14036

1шт.

20

6114-21-6742

COVER

SN: .-UP

1шт.

20

0

COVER

SN: 10076-.

1шт.

21

07000-02070

O-RING (K2)

SN: 16345-UP

1шт.

21

0

GASKET (K2)

SN: 10076-16344

1шт.

22

6110-23-3610

BOLT

SN: 10076-UP

4шт.

23

07003-01217

GASKET (K2)

SN: 10076-UP

2шт.

24

6112-21-6710

COVER

SN: 10076-UP

1шт.

25

07000-03080

O-RING

SN: 16586-UP

1шт.

25

0

GASKET (K2)

SN: 10076-16585

1шт.

26

01010-31240

BOLT

SN: 10076-UP

4шт.

27

01602-01236

WASHER

SN: 10076-UP

4шт.

28

6114-21-3721

POINTER

SN: 10076-UP

1шт.

29

01010-31020

BOLT

SN: 10076-UP

2шт.

30

01602-01030

WASHER

SN: 10076-UP

2шт.

1

6114-21-3113

COVER

SN: 13724-UP

1шт.

1

0

COVER

SN: 10076-13723

1шт.

2

6110-23-3810

GASKET (K2)

SN: 10076-UP

1шт.

3

01011-31015

BOLT

SN: 10076-UP

1шт.

4

01010-31075

BOLT

SN: 10076-UP

15шт.

5

01050-31040

BOLT

SN: 10076-UP

8шт.

6

01602-01030

WASHER

SN: 10076-UP

24шт.

7

01582-01008

NUT

SN: 10076-UP

8шт.

8

07012-00075

SEAL,FRONT (K2)

SN: 10076-UP

1шт.

9

6114-81-5210

SHAFT

SN: 10076-UP

1шт.

10

6114-81-5110

GEAR

SN: 10076-UP

1шт.

11

04000-01545

KEY

SN: 10076-UP

1шт.

12

6110-83-5310

SPACER

SN: 10076-UP

1шт.

13

06000-06210

BEARING

SN: 10076-UP

1шт.

14

06001-06210

BEARING

SN: 10076-UP

1шт.

15

04064-05020

RING

SN: 10076-UP

1шт.

16

04065-02212

RING

SN: 10076-UP

1шт.

17

04065-09030

RING

SN: 10076-UP

1шт.

18

6114-21-6750

SPACER

SN: 15154-UP

1шт.

18

6114-21-6720

SPACER

SN: 10076-15153

1шт.

19

07000-02110

O-RING (K2)

SN: 11514-UP

1шт.

19

6114-21-6710

GASKET

SN: 14037-15153

1шт.

19

6114-21-6710

GASKET (K2)

SN: 10076-14036

1шт.

20

6114-21-6742

COVER

SN: .-UP

1шт.

20

0

COVER

SN: 10076-.

1шт.

21

07000-02070

O-RING (K2)

SN: 16345-UP

1шт.

21

0

GASKET (K2)

SN: 10076-16344

1шт.

22

6110-23-3610

BOLT

SN: 10076-UP

4шт.

23

07003-01217

GASKET (K2)

SN: 10076-UP

2шт.

24

6112-21-6710

COVER

SN: 10076-UP

1шт.

25

07000-03080

O-RING

SN: 16586-UP

1шт.

25

0

GASKET (K2)

SN: 10076-16585

1шт.

26

01010-31240

BOLT

SN: 10076-UP

4шт.

27

01602-01236

WASHER

SN: 10076-UP

4шт.

28

6114-21-3721

POINTER

SN: 10076-UP

1шт.

29

01010-31020

BOLT

SN: 10076-UP

2шт.

30

01602-01030

WASHER

SN: 10076-UP

2шт.

Выбрано товаров: 74