Запчасти Komatsu GD355A-1 ТОПЛИВОПРОВОД.(№7-) КОМПОНЕНТЫ ДВИГАТЕЛЯ И ЭЛЕКТРИКА

Схема запчастей Komatsu GD355A-1 - ТОПЛИВОПРОВОД.(№7-) КОМПОНЕНТЫ ДВИГАТЕЛЯ И ЭЛЕКТРИКА
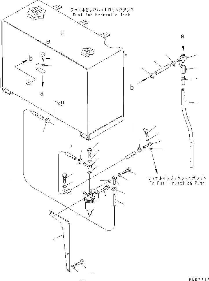
1
2
2
3
4
5
5
6
7
7
8
8
9
9
10
10
10
10
11
12
13
14
15
16
17
17
18
19
20
21
22
23
24
25
26
FIT
1:1
100%

Артикул

Название

Примечание

Количество

1

07261-20913

HOSE

SN: 5752-UP

1шт.

2

07281-00197

CLAMP

SN: 5001-UP

2шт.

3

238-04-12110

TUBE

SN: 5001-UP

1шт.

4

07206-31014

BOLT,JOINT

SN: 5001-UP

1шт.

5

07005-01412

GASKET

SN: 5001-UP

2шт.

6

07261-20919

HOSE

SN: 5752-UP

1шт.

7

07281-00197

CLAMP

SN: 5752-UP

2шт.

8

238-04-12110

TUBE

SN: 5752-UP

2шт.

9

07206-31014

BOLT,JOINT

SN: 5752-UP

2шт.

10

07005-01412

GASKET

SN: 5752-UP

4шт.

11

23E-04-12110

PLATE

SN: 5752-UP

1шт.

12

01010-81030

BOLT

SN: 5752-UP

2шт.

13

01643-31032

WASHER

SN: 5752-UP

2шт.

14

01010-80820

BOLT

SN: 5752-UP

2шт.

15

01643-30823

WASHER

SN: 5752-UP

2шт.

16

07260-20913

HOSE

SN: 5060-UP

1шт.

17

07281-00197

CLAMP

SN: 5060-UP

2шт.

18

23D-04-11310

NIPPLE

SN: 5060-UP

1шт.

19

01010-50820

BOLT

SN: 5501-UP

1шт.

20

01643-30823

WASHER

SN: 5501-UP

1шт.

21

07700-40240

VALVE

SN: 5060-UP

1шт.

22

23D-04-11320

NIPPLE

SN: 5060-UP

1шт.

23

07270-01070

TUBE

SN: 5001-UP

1шт.

24

04434-51610

CLIP

SN: 5752-UP

1шт.

25

01010-81020

BOLT

SN: 5752-UP

1шт.

26

01643-31032

WASHER

SN: 5752-UP

1шт.

Выбрано товаров: 0