Запчасти Komatsu GD355A-1 РАДИАТОР(№-) КОМПОНЕНТЫ ДВИГАТЕЛЯ И ЭЛЕКТРИКА

Схема запчастей Komatsu GD355A-1 - РАДИАТОР(№-) КОМПОНЕНТЫ ДВИГАТЕЛЯ И ЭЛЕКТРИКА
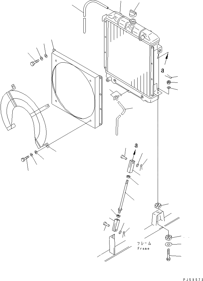
1
2
3
4
5
6
7
8
9
10
11
12
13
14
14
15
16
17
18
19
20
21
22
23
24
25
25
26
26
27
27
FIT
1:1
100%

Артикул

Название

Примечание

Количество

|1

23E-03-11101

RADIATOR ASS'Y

SN: 5001-@

1шт.

1

23E-03-11110

CORE ASS'Y,(WITH OIL COOLER)

SN: 5001-@

1шт.

2

237-03-21230

CAP

SN: 5001-@

1шт.

3

23E-03-11140

PIPE

SN: 5001-@

1шт.

4

205-03-62660

PLUG,DRAIN

SN: 5001-@

1шт.

5

23E-03-11150

PIPE,DRAIN

SN: 5001-@

1шт.

6

23E-03-11120

SHROUD

SN: 5001-@

1шт.

7

01010-50816

BOLT

SN: 5001-@

8шт.

8

01643-30823

WASHER

SN: 5001-@

8шт.

9

01641-20812

WASHER

SN: 5001-@

8шт.

10

23E-03-11130

WIRE,NET

SN: 5001-@

1шт.

11

01010-51020

BOLT

SN: 5001-@

4шт.

12

01643-31032

WASHER

SN: 5001-@

4шт.

13

01641-21016

WASHER

SN: 5001-@

4шт.

14

236-03-21180

CUSHION

SN: 5001-@

4шт.

15

236-03-21190

WASHER

SN: 5001-@

2шт.

16

01012-51465

BOLT

SN: 5001-@

2шт.

17

01590-11416

NUT

SN: 5001-@

2шт.

18

01640-21426

WASHER

SN: 5001-@

2шт.

19

04050-13028

PIN,COTTER

SN: 5001-@

2шт.

20

04221-21266

YOKE

SN: 5001-5051

2шт.

21

01508-11207

NUT¤ L.H. THREAD

SN: 5001-5051

2шт.

22

04248-31241

ROD

SN: 5001-5051

2шт.

23

04211-21266

YOKE

SN: 5001-5051

2шт.

24

01582-11210

NUT

SN: 5001-5051

2шт.

25

04205-11238

PIN

SN: 5001-5051

4шт.

26

04050-13022

PIN,COTTER

SN: 5001-5051

4шт.

27

01641-21223

WASHER

SN: 5001-5051

4шт.

Выбрано товаров: 28