Запчасти Komatsu GD355A-1 СИСТЕМА ТРУБ РАДИАТОРА КОМПОНЕНТЫ ДВИГАТЕЛЯ И ЭЛЕКТРИКА

Схема запчастей Komatsu GD355A-1 - СИСТЕМА ТРУБ РАДИАТОРА КОМПОНЕНТЫ ДВИГАТЕЛЯ И ЭЛЕКТРИКА
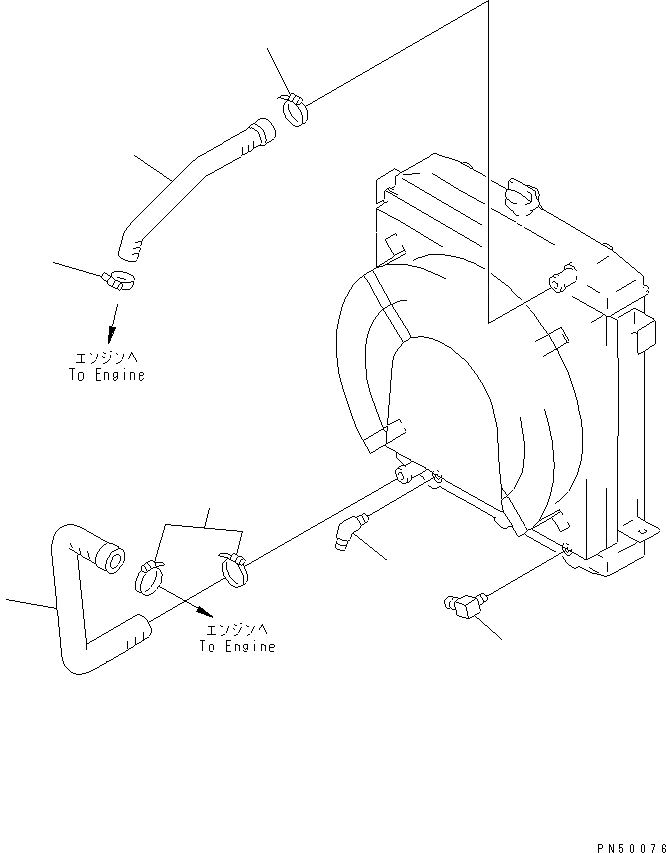
1
2
3
4
5
6
7
FIT
1:1
100%

Артикул

Название

Примечание

Количество

1

23D-03-11111

HOSE

SN: 5001-UP

1шт.

2

07281-00609

CLAMP

SN: 5001-UP

2шт.

3

233-03-32140

HOSE

SN: 5001-UP

1шт.

4

07281-00549

CLAMP

SN: 5001-UP

1шт.

5

07281-00489

CLAMP

SN: 5001-UP

1шт.

6

238-03-11170

ELBOW

SN: 5001-UP

1шт.

7

23D-03-11140

NIPPLE

SN: 5001-UP

1шт.

Выбрано товаров: 7