Запчасти Komatsu GD355A-1S ГИДРОЛИНИЯ (ЦИЛИНДР СДВИГ. ОТВАЛА ЛИНИЯ) (/) ГИДРАВЛИКА

Схема запчастей Komatsu GD355A-1S - ГИДРОЛИНИЯ (ЦИЛИНДР СДВИГ. ОТВАЛА ЛИНИЯ) (/) ГИДРАВЛИКА
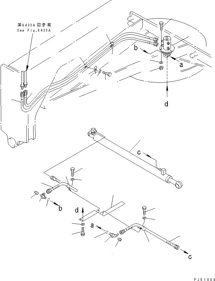
1
1
2
3
4
5
6
6
7
7
8
8
9
10
11
12
12
13
13
14
15
16
17
18
19
19
20
20
21
21
FIT
1:1
100%

Артикул

Название

Примечание

Количество

1

07113-00326

HOSE

SN: 5901-UP

2шт.

2

23E-60-13200

SWIVEL JOINT ASS'Y

SN: 5901-UP

1шт.

3

01010-51245

BOLT

SN: 5901-UP

3шт.

4

01580-11210

NUT

SN: 5901-UP

3шт.

5

01643-31232

WASHER

SN: 5901-UP

3шт.

6

07235-50315

ELBOW

SN: 5901-UP

2шт.

7

07042-20108

PLUG

SN: 5901-UP

2шт.

8

07002-12034

O-RING

SN: 5901-UP

2шт.

9

230-09-03095

HOSE

SN: 5901-UP

1шт.

10

230-09-03100

HOSE

SN: 5901-UP

1шт.

11

23E-63-42102

CYLINDER ASS'Y,BLADE SIDE SHIFT

SN: 5901-UP

1шт.

12

236-60-24920

CLIP

SN: 5901-UP

2шт.

13

237-60-23360

CLIP

SN: 5901-UP

2шт.

14

01010-51035

BOLT

SN: 5901-UP

2шт.

15

01643-31032

WASHER

SN: 5901-UP

2шт.

16

23D-60-14950

PLATE

SN: 5901-UP

1шт.

17

01010-51225

BOLT

SN: 5901-UP

2шт.

18

01643-31232

WASHER

SN: 5901-UP

2шт.

19

08036-21814

CLIP

SN: 5901-UP

2шт.

20

01010-51016

BOLT

SN: 5901-UP

2шт.

21

01643-31032

WASHER

SN: 5901-UP

2шт.

Выбрано товаров: 21