Запчасти Komatsu GD355A-1S РЫЧАГ УПРАВЛ-Я ТРАНСМИССИЕЙ (/) СИСТЕМА УПРАВЛЕНИЯ

Схема запчастей Komatsu GD355A-1S - РЫЧАГ УПРАВЛ-Я ТРАНСМИССИЕЙ (/) СИСТЕМА УПРАВЛЕНИЯ
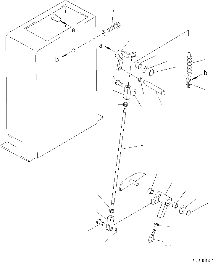
1
2
3
4
5
6
7
8
9
10
11
12
13
14
15
16
16
17
17
18
19
19
20
21
22
23
FIT
1:1
100%

Артикул

Название

Примечание

Количество

1

23E-45-11140

LEVER

SN: 5901-UP

1шт.

2

232-43-52320

BUSHING

SN: 5901-UP

1шт.

3

01643-51645

WASHER

SN: 5901-UP

1шт.

4

04064-01610

RING,SNAP

SN: 5901-UP

1шт.

5

23E-45-11150

BAR

SN: 5901-UP

1шт.

6

01643-31032

WASHER

SN: 5901-UP

1шт.

7

233-45-11230

PLATE

SN: 5901-UP

1шт.

8

01010-51220

BOLT

SN: 5901-UP

1шт.

9

01643-31232

WASHER

SN: 5901-UP

1шт.

10

232-43-42330

SPRING

SN: 5901-UP

1шт.

11

04211-20844

YOKE

SN: 5901-UP

1шт.

12

01580-10806

NUT

SN: 5901-UP

1шт.

13

04248-30847

ROD

SN: 5901-UP

1шт.

14

04221-20844

YOKE,L.H. THREAD

SN: 5901-UP

1шт.

15

01508-20805

NUT,L.H. THREAD

SN: 5901-UP

1шт.

16

04205-10822

PIN

SN: 5901-UP

2шт.

17

04050-12012

PIN,COTTER

SN: 5901-UP

2шт.

18

23E-45-11120

LEVER

SN: 5901-UP

1шт.

19

232-43-52320

BUSHING

SN: 5901-UP

2шт.

20

233-45-11260

BOLT

SN: 5901-UP

1шт.

21

01580-10806

NUT

SN: 5901-UP

1шт.

22

01643-31645

WASHER

SN: 5901-UP

1шт.

23

04064-01610

RING,SNAP

SN: 5901-UP

1шт.

Выбрано товаров: 0