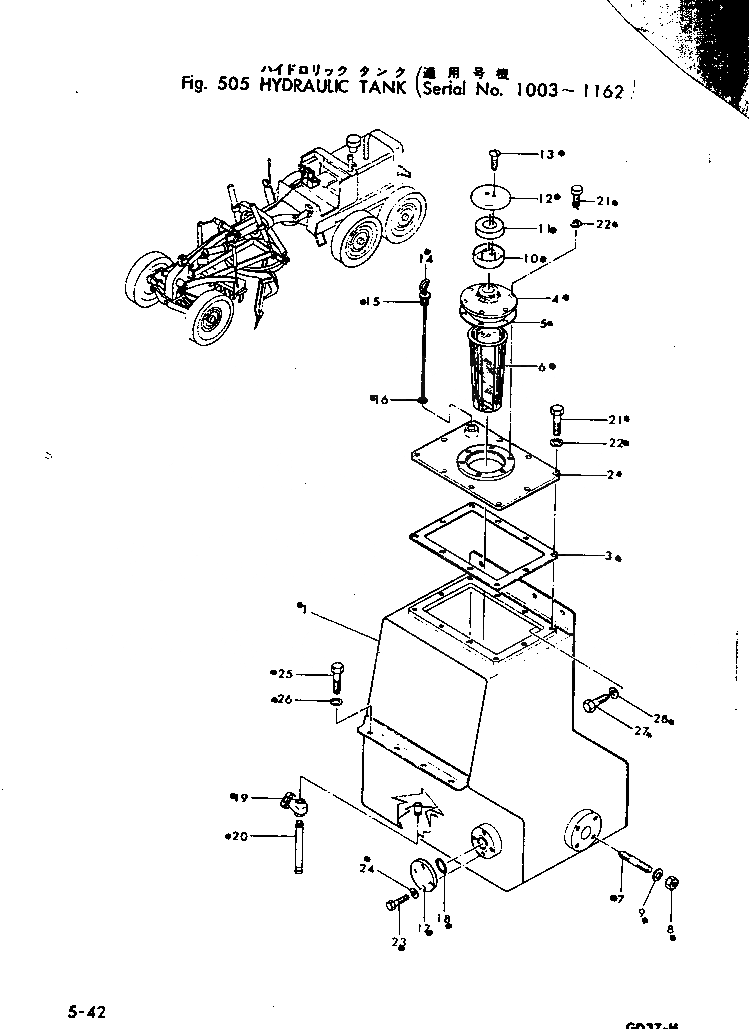
Запчасти Komatsu GD37-4 ГИДР. БАК.(№-) РАБОЧЕЕ ОБОРУДОВАНИЕ И ITS СИСТЕМА УПРАВЛЕНИЯ

Схема запчастей Komatsu GD37-4 - ГИДР. БАК.(№-) РАБОЧЕЕ ОБОРУДОВАНИЕ И ITS СИСТЕМА УПРАВЛЕНИЯ
FIT
1:1
100%

Артикул

Название

Примечание

Количество

|1

232-60-00132

TANK ASS'Y

SN: 1108-1162

1шт.

|1

232-60-00131

TANK ASS'Y

SN: 1048-1107

1шт.

|1

232-60-00130

TANK ASS'Y

SN: 1047-1047

1шт.

|1

232-60-00131

TANK ASS'Y

SN: 1038-1046

1шт.

|1

232-60-00130

TANK ASS'Y

SN: 1036-1037

1шт.

|1

232-60-00131

TANK ASS'Y

SN: 1027-1035

1шт.

|1

232-60-00130

TANK ASS'Y

SN: 1003-1026

1шт.

1

GD37E811C

TANK

SN: 1108-1162

1шт.

|1

GD37E811B

TANK

SN: 1048-1107

1шт.

|1

GD37E811A

TANK

SN: 1047-1047

1шт.

|1

GD37E811B

TANK

SN: 1038-1046

1шт.

|1

GD37E811A

TANK

SN: 1036-1037

1шт.

|1

GD37E811B

TANK

SN: 1027-1035

1шт.

|1

GD37E811A

TANK

SN: 1003-1026

1шт.

2

GD37E812

COVER

SN: 1003-1162

1шт.

3

GD37E813

GASKET (KIT)

SN: 1003-1162

1шт.

4

GD37E814

FILLER

SN: 1003-1162

1шт.

5

GD37E815

GASKET (KIT)

SN: 1003-1162

1шт.

6

GD37E816

STRAINER

SN: 1003-1162

1шт.

7

01100-31235

STUD

SN: 1108-1162

2шт.

8

01500-31210

NUT

SN: 1108-1162

2шт.

9

01602-01236

WASHER

SN: 1108-1162

2шт.

|10

232-60-00140

CAP ASS'Y

SN: 1003-1162

1шт.

10

232-60-91930

CAP

SN: 1003-1162

1шт.

11

232-60-91380

WADDING

SN: 1003-1162

1шт.

12

232-60-91710

CAP

SN: 1003-1162

1шт.

13

01210-20612

SCREW

SN: 1003-1162

2шт.

|14

232-60-00150

GAUGE ASS'Y

SN: 1003-1162

1шт.

14

0

GAUGE

SN: 1003-1162

1шт.

15

0

SEAT

SN: 1003-1162

1шт.

16

07003-02026

GASKET

SN: 1003-1162

1шт.

17

GD37E848

CAP

SN: 1003-1162

1шт.

18

07000-03042

O-RING (KIT)

SN: 1003-1162

1шт.

19

GD37E861

VALVE

SN: 1003-1162

1шт.

20

GD37E862

TUBE

SN: 1003-1162

1шт.

21

01000-31020

BOLT

SN: 1003-1162

16шт.

22

01602-01030

WASHER

SN: 1003-1162

16шт.

23

01000-31030

BOLT

SN: 1003-1162

4шт.

24

01602-01030

WASHER

SN: 1003-1162

4шт.

25

01000-31022

BOLT

SN: 1003-1162

7шт.

26

01602-01030

WASHER

SN: 1003-1162

7шт.

27

01000-31018

BOLT

SN: 1003-1162

4шт.

28

01602-01030

WASHER

SN: 1003-1162

4шт.

Выбрано товаров: 43