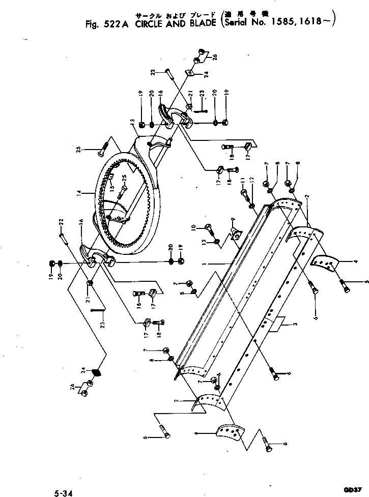
Запчасти Komatsu GD37-4 CIRCLE И ОТВАЛ(№8-) РАБОЧЕЕ ОБОРУДОВАНИЕ И ITS СИСТЕМА УПРАВЛЕНИЯ

Схема запчастей Komatsu GD37-4 - CIRCLE И ОТВАЛ(№8-) РАБОЧЕЕ ОБОРУДОВАНИЕ И ITS СИСТЕМА УПРАВЛЕНИЯ
FIT
1:1
100%

Артикул

Название

Примечание

Количество

|1

232-70-00025

BLADE ASS'Y

SN: 1618-UP

1шт.

1

232-70-12117

BLADE

SN: 1618-UP

1шт.

2

232-70-12130

BIT

SN: 1003-UP

2шт.

3

232-70-12140

EDGE

SN: 1003-UP

2шт.

4

232-70-12150

BIT,L.H.

SN: 1003-UP

1шт.

|4

232-70-12160

BIT,R.H.

SN: 1003-UP

1шт.

5

02090-01065

BOLT

SN: 1308-UP

10шт.

6

02090-01050

BOLT

SN: 1308-UP

16шт.

7

02290-01016

NUT

SN: 1308-UP

26шт.

8

01602-01648

WASHER

SN: 1003-UP

26шт.

9

232-70-12193

JOINT

SN: 1618-UP

1шт.

10

01000-31850

BOLT

SN: 1618-UP

4шт.

11

07048-01815

PLUG

SN: 1618-UP

8шт.

12

01602-21854

WASHER

SN: 1618-UP

4шт.

13

232-70-12223

CIRCLE

SN: 1618-UP

1шт.

13A

232-70-12613

PIPE (WELDED)

SN: 1618-UP

1шт.

|16

232-70-00043

GUIDE ASS'Y

SN: 1921-UP

1шт.

|16

232-70-00042

GUIDE ASS'Y

SN: 1618-1920

1шт.

|16

232-70-00052

ADJUSTER ASS'Y,L.H.

SN: 1921-UP

1шт.

|16

232-70-00051

ADJUSTER ASS'Y,L.H.

SN: 1618-1920

1шт.

|16

232-70-00062

ADJUSTER ASS'Y,R.H.

SN: 1921-UP

1шт.

|16

232-70-00061

ADJUSTER ASS'Y,R.H.

SN: 1618-1920

1шт.

16

232-70-12254

ADJUSTER,L.H.

SN: 1921-UP

1шт.

|16

232-70-12253

RATCHET,L.H.

SN: 1618-1920

1шт.

|16

232-70-12264

ADJUSTER,R.H.

SN: 1921-UP

1шт.

|16

232-70-12263

ADJUSTER,R.H.

SN: 1618-1920

1шт.

17

232-70-12271

GUIDE

SN: 1618-UP

2шт.

18

02090-00850

BOLT

SN: 1618-UP

2шт.

19

02290-00813

NUT

SN: 1618-UP

2шт.

20

01602-01338

WASHER

SN: 1618-UP

2шт.

21

232-70-12350

COLLAR

SN: 1618-UP

2шт.

22

232-70-12360

PIN

SN: 1618-UP

2шт.

23

04050-04022

PIN

SN: 1618-UP

2шт.

24

232-70-12310

BLOCK

SN: 1003-UP

2шт.

25

232-70-12321

BOLT

SN: 1003-UP

2шт.

26

01500-32418

NUT

SN: 1003-UP

4шт.

34

232-835-1112

PROTECTOR (OP)

SN: .-UP

2шт.

|34

232-835-1110

PROTECTOR (OP)

SN: 1003-.

2шт.

35

01010-51845

BOLT (OP)

SN: .-UP

4шт.

|35

02090-11065

BOLT (OP)

SN: 1003-.

4шт.

36

01602-21845

WASHER (OP)

SN: .-UP

4шт.

|36

01602-21648

WASHER (OP)

SN: 1003-.

4шт.

37

02290-11625

NUT (OP)

SN: 1003-.

4шт.

38

232-870-6113

EDGE (OP)

SN: .-UP

2шт.

|38

232-870-6112

EDGE (OP)

SN: 1003-.

2шт.

Выбрано товаров: 45