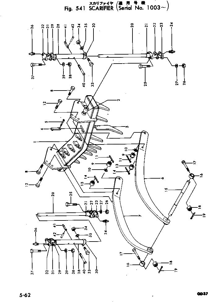
Запчасти Komatsu GD37-4 SCARIFIER РАБОЧЕЕ ОБОРУДОВАНИЕ И ITS СИСТЕМА УПРАВЛЕНИЯ

Схема запчастей Komatsu GD37-4 - SCARIFIER РАБОЧЕЕ ОБОРУДОВАНИЕ И ITS СИСТЕМА УПРАВЛЕНИЯ
FIT
1:1
100%

Артикул

Название

Примечание

Количество

1

232-70-13110

BODY

SN: 1003-UP

1шт.

2

232-70-13120

STUD (WELDED)

SN: 1003-UP

2шт.

3

232-70-13130

TOOTH

SN: 1003-UP

11шт.

4

232-70-13140

WEDGE

SN: 1003-UP

11шт.

5

04050-06050

PIN

SN: 1003-UP

11шт.

6

232-70-13150

DRAWBAR

SN: 1003-UP

1шт.

7

232-70-13160

DRAWBAR

SN: 1003-UP

1шт.

8

232-70-13170

BOLT

SN: 1003-UP

2шт.

9

01510-02728

NUT

SN: 1003-UP

2шт.

10

01640-23045

WASHER

SN: 1003-UP

2шт.

11

04050-05050

PIN

SN: 1003-UP

2шт.

12

232-70-13180

BOLT

SN: 1003-UP

2шт.

13

01510-32426

NUT

SN: 1003-UP

2шт.

14

04050-05050

PIN

SN: 1003-UP

2шт.

15

232-70-13190

SHAFT

SN: 1003-UP

1шт.

16

232-70-13210

COLLAR

SN: 1003-UP

2шт.

17

01003-31400

BOLT

SN: 1003-UP

2шт.

18

01510-31416

NUT

SN: 1003-UP

2шт.

19

04050-03028

PIN

SN: 1003-UP

2шт.

20

232-70-13310

ROD

SN: 1003-UP

2шт.

21

232-70-13320

JOINT

SN: 1003-UP

1шт.

22

232-71-11340

SHIM¤ 0.2MM (KIT)

SN: 1003-UP

10шт.

23

232-71-11330

CAP

SN: 1003-UP

2шт.

24

07020-00000

FITTING

SN: 1003-UP

2шт.

25

01000-31665

BOLT

SN: 1003-UP

4шт.

26

01500-31613

NUT

SN: 1003-UP

4шт.

27

01602-21648

WASHER

SN: 1003-UP

4шт.

28

232-70-13333

ROD

SN: 1328-UP

2шт.

|28

GD372V108B

ROD

SN: 1003-1327

2шт.

29

232-70-13341

BALL

SN: 1003-UP

1шт.

30

232-70-13350

CLAMP

SN: 1003-UP

1шт.

31

232-71-11340

SHIM¤ 0.2MM

SN: 1003-UP

10шт.

32

232-71-11330

CAP

SN: 1003-UP

2шт.

33

01000-31680

BOLT

SN: 1003-UP

2шт.

34

01500-31613

NUT

SN: 1003-UP

2шт.

35

01602-21648

WASHER

SN: 1003-UP

2шт.

36

07020-00675

FITTING

SN: 1328-UP

2шт.

|36

07020-00000

FITTING

SN: 1003-1327

2шт.

37

01000-31665

BOLT

SN: 1003-UP

4шт.

38

01500-31613

NUT

SN: 1003-UP

4шт.

39

01602-21648

WASHER

SN: 1003-UP

4шт.

|40

232-70-00120

PIN ASS'Y

SN: 1003-UP

2шт.

40

0

PIN

SN: 1003-UP

1шт.

41

0

PIN

SN: 1003-UP

1шт.

42

0

RIVET

SN: 1003-UP

1шт.

Выбрано товаров: 45