Запчасти Komatsu GD37-4 ЦИЛИНДР НАКЛОНА(№-) КОЛЕСА¤ РУЛЕВ. УПРАВЛЕНИЕ И СИСТЕМА УПРАВЛЕНИЯS

Схема запчастей Komatsu GD37-4 - ЦИЛИНДР НАКЛОНА(№-) КОЛЕСА¤ РУЛЕВ. УПРАВЛЕНИЕ И СИСТЕМА УПРАВЛЕНИЯS
FIT
1:1
100%

Артикул

Название

Примечание

Количество

|1

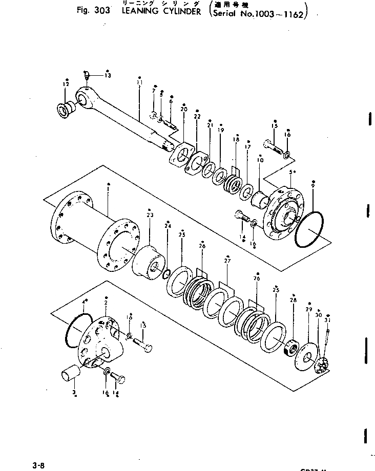
232-27-00082

CYLINDER ASS'Y

SN: 1153-1162

1шт.

|1

232-27-00081

CYLINDER ASS'Y

SN: 1028-1152

1шт.

|1

232-27-00080

CYLINDER ASS'Y

SN: 1003-1027

1шт.

1

GD37T711

BODY

SN: 1003-1162

1шт.

|2

232-27-00100

COVER ASS'Y

SN: 1003-1162

1шт.

2

GD37T221

COVER

SN: 1003-1162

1шт.

3

232-27-12190

BUSHING

SN: 1003-1162

1шт.

4

07000-05145

O-RING (KIT)

SN: 1003-1162

1шт.

|5

232-27-00110

COVER ASS'Y

SN: 1003-1162

1шт.

5

GD37T231

COVER

SN: 1003-1162

1шт.

6

01100-01435

STUD

SN: 1003-1162

2шт.

7

01500-01411

NUT

SN: 1003-1162

2шт.

8

01602-01442

WASHER

SN: 1003-@

2шт.

9

07000-05145

O-RING (KIT)

SN: 1003-1162

1шт.

10

232-60-91330

BUSHING

SN: 1003-@

1шт.

|11

232-27-00121

ROD ASS'Y

SN: 1153-1162

1шт.

|11

232-27-00120

ROD ASS'Y

SN: 1003-1152

1шт.

11

GD37T741

ROD

SN: 1003-1162

1шт.

12

232-27-12321

BUSHING

SN: 1153-@

1шт.

|12

GD37T742

BUSHING

SN: 1003-1152

1шт.

13

07020-00900

FITTING

SN: 1003-@

1шт.

14

01000-31850

BOLT

SN: 1003-1162

16шт.

15

01000-31875

BOLT

SN: 1003-1162

4шт.

16

01602-01854

WASHER

SN: 1003-1162

20шт.

17

232-60-93130

SEAT

SN: 1003-@

1шт.

18

232-60-91340

PACKING

SN: 1003-@

3шт.

19

232-27-12220

RETAINER

SN: 1003-@

1шт.

20

GD37T233A

COVER

SN: 1028-1162

1шт.

|20

GD37T233

COVER

SN: 1003-1027

1шт.

21

GD37T234A

SEAL

SN: 1028-1162

1шт.

|21

GD37T234

SEAL

SN: 1003-1027

1шт.

22

232-60-91350

SHIM (KIT)

SN: 1003-1162

20шт.

23

GD37T242

PISTON

SN: 1003-1162

1шт.

24

07000-03040

O-RING

SN: 1003-@

1шт.

25

232-60-91320

RETAINER

SN: 1003-@

2шт.

26

232-60-93110

V-PACKING

SN: 1003-@

6шт.

27

232-60-93120

SEAT

SN: 1003-@

2шт.

28

232-60-91640

SHIM¤ 0.6MM

SN: 1003-@

6шт.

29

232-27-12340

COVER

SN: 1003-@

1шт.

30

232-27-12350

NUT

SN: 1003-@

1шт.

31

04050-08070

PIN

SN: 1003-@

1шт.

Выбрано товаров: 41