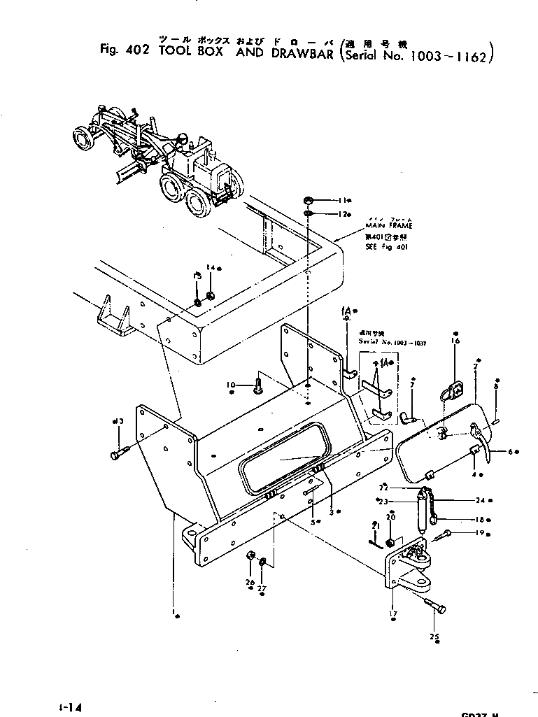
Запчасти Komatsu GD37-4 ЯЩИК Д/ИНСТРУМЕНТА И СЦЕПНОЕ УСТРОЙСТВО(№-) РАМА И КУЗОВ

Схема запчастей Komatsu GD37-4 - ЯЩИК Д/ИНСТРУМЕНТА И СЦЕПНОЕ УСТРОЙСТВО(№-) РАМА И КУЗОВ
FIT
1:1
100%

Артикул

Название

Примечание

Количество

|1

232-46-00060

TOOL BOX ASS'Y

SN: 1003-1162

1шт.

1

GD372-L501A

BOX

SN: 1003-1162

1шт.

1A

0

BRACKET

SN: 1038-1162

1шт.

|1A

0

BRACKET

SN: 1003-1037

1шт.

|1A

0

BRACKET

SN: 1003-1037

1шт.

2

232-46-13222

COVER

SN: 1003-@

1шт.

3

GD372-L507A

HINGE

SN: 1003-1162

2шт.

4

232-46-13240

HINGE

SN: 1003-@

2шт.

5

232-46-13250

PIN

SN: 1003-@

2шт.

6

232-46-13261

KNOB

SN: 1003-@

1шт.

7

232-46-13272

LEVER

SN: 1003-@

1шт.

8

232-46-13280

PIN

SN: 1003-@

1шт.

10

01000-31645

BOLT

SN: 1003-1162

5шт.

11

01500-01613

NUT

SN: 1003-1162

5шт.

12

01602-01648

WASHER

SN: 1003-1162

5шт.

13

01000-31670

BOLT

SN: 1003-1162

12шт.

14

01500-01613

NUT

SN: 1003-1162

12шт.

15

01602-01648

WASHER

SN: 1003-1162

12шт.

16

232-46-13310

PADLOCK

SN: 1003-@

1шт.

|17

232-46-00030

DRAWBAR ASS'Y

SN: 1003-1162

1шт.

17

GD37-L531

DRAWBAR

SN: 1003-1162

1шт.

18

GD37-L532

LATCH

SN: 1003-1162

1шт.

19

GD37-L535

BOLT

SN: 1003-1162

1шт.

20

01511-00808

NUT

SN: 1003-1162

1шт.

21

04050-02018

PIN

SN: 1003-1162

1шт.

22

GD37-L533

RING

SN: 1003-1162

1шт.

23

GD372-L504

PIN

SN: 1003-1162

1шт.

24

HD150-L173

CHAIN

SN: 1003-1162

1шт.

25

01000-31675

BOLT

SN: 1003-1162

4шт.

26

01500-01613

NUT

SN: 1003-1162

4шт.

27

01602-01648

WASHER

SN: 1003-1162

4шт.

Выбрано товаров: 31