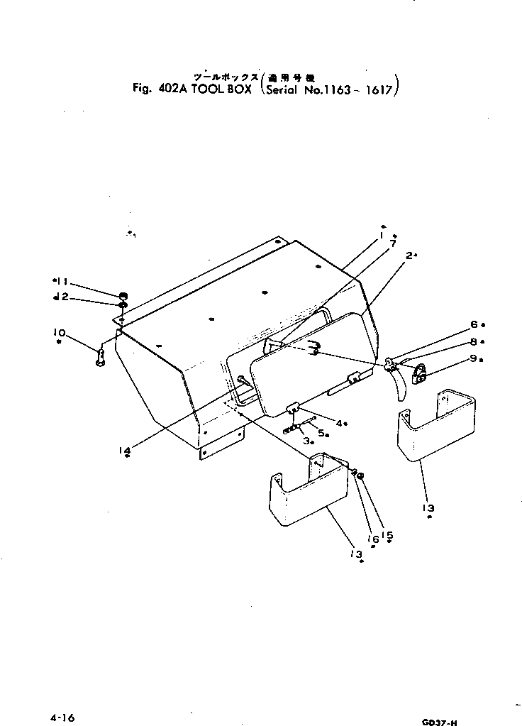
Запчасти Komatsu GD37-4 ЯЩИК Д/ИНСТРУМЕНТА(№-7) РАМА И КУЗОВ

Схема запчастей Komatsu GD37-4 - ЯЩИК Д/ИНСТРУМЕНТА(№-7) РАМА И КУЗОВ
FIT
1:1
100%

Артикул

Название

Примечание

Количество

|1

232-46-00061

TOOL BOX ASS'Y

SN: 1163-1617

1шт.

1

232-46-13211

BOX

SN: 1163-1617

1шт.

2

232-46-13222

COVER

SN: 1003-1617

1шт.

3

232-46-13230

HINGE

SN: 1163-1617

2шт.

4

232-46-13240

HINGE

SN: 1003-1617

2шт.

5

232-46-13250

PIN

SN: 1003-1617

2шт.

6

232-46-13261

KNOB

SN: 1003-1617

1шт.

7

232-46-13272

LEVER

SN: 1003-1617

1шт.

8

232-46-13280

PIN

SN: 1003-1617

1шт.

9

232-46-13310

PADLOCK

SN: 1003-1617

1шт.

10

01000-31645

BOLT

SN: 1163-1617

6шт.

11

01500-01613

NUT

SN: 1163-1617

6шт.

12

01602-01648

WASHER

SN: 1163-1617

6шт.

13

232-46-13290

BUMPER

SN: 1163-1617

2шт.

14

01000-31230

BOLT

SN: 1163-1617

8шт.

15

01500-01210

NUT

SN: 1163-1617

8шт.

16

01602-01236

WASHER

SN: 1163-1617

8шт.

Выбрано товаров: 17