Запчасти Komatsu GD37-4 ПЕРЕДНИЙ МОСТ СУППОРТ РАМА И КУЗОВ

Схема запчастей Komatsu GD37-4 - ПЕРЕДНИЙ МОСТ СУППОРТ РАМА И КУЗОВ
FIT
1:1
100%

Артикул

Название

Примечание

Количество

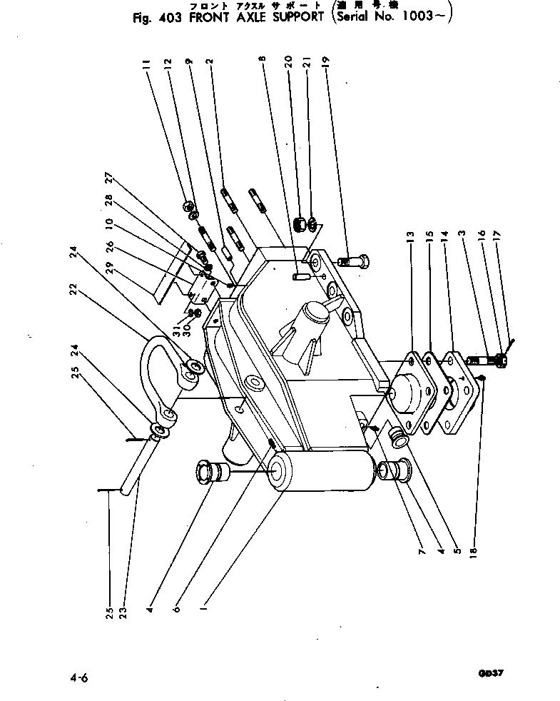
|1

232-46-00032

SUPPORT ASS'Y

SN: 1273-UP

1шт.

|1

232-46-00041

SUPPORT ASS'Y

SN: 1163-1272

1шт.

|1

232-46-00040

SUPPORT ASS'Y

SN: 1003-1162

1шт.

|1

232-46-00032

SUPPORT ASS'Y,(FOR CUMMINS ENGINE)

SN: 1618-UP

1шт.

|1

232-46-13010

SUPPORT ASS'Y,(FOR CUMMINS ENGINE)

SN: 1293-1617

1шт.

1

232-46-13111

SUPPORT

SN: 1273-UP

1шт.

|1

GD37L311

SUPPORT

SN: 1003-1272

1шт.

2

01100-31665

STUD

SN: 1003-UP

4шт.

|2

01100-31665

STUD,(FOR CUMMINS ENGINE)

SN: 1293-UP

4шт.

3

01102-62490

STUD

SN: 1003-UP

4шт.

4

232-46-13120

BUSHING

SN: 1003-UP

2шт.

5

233-46-13130

BUSHING

SN: 1003-UP

1шт.

|5

232-46-13130

BUSHING,(FOR CUMMINS ENGINE)

SN: .-UP

1шт.

6

07020-00000

FITTING

SN: 1003-UP

2шт.

7

07020-00000

FITTING

SN: 1003-UP

1шт.

8

232-46-13140

PIN

SN: 1003-1617

2шт.

9

04020-01842

PIN

SN: 1003-UP

2шт.

10

07042-00108

PLUG

SN: 1003-UP

1шт.

11

01500-31613

NUT

SN: 1003-UP

4шт.

12

01602-21648

WASHER

SN: 1003-UP

4шт.

|13

232-46-00051

SOCKET ASS'Y

SN: 1153-UP

1шт.

|13

232-46-00050

SOCKET ASS'Y

SN: 1003-1152

1шт.

13

232-46-13150

SOCKET

SN: 1003-UP

1шт.

14

232-46-13161

COVER

SN: 1153-UP

1шт.

|14

GD372G123

COVER

SN: 1003-1152

1шт.

15

232-46-13170

SHIM¤ 0.29MM (KIT)

SN: 1003-UP

8шт.

16

01510-32426

NUT

SN: 1003-UP

4шт.

17

04050-05045

PIN

SN: 1003-UP

4шт.

18

07020-00675

FITTING

SN: 1153-UP

1шт.

|18

07020-00675

FITTING

SN: 1003-1152

2шт.

19

01000-32480

BOLT

SN: 1173-UP

6шт.

|19

01000-32490

BOLT

SN: 1163-1172

6шт.

|19

01002-32490

BOLT

SN: 1003-1162

6шт.

20

01500-32418

NUT

SN: 1163-UP

6шт.

|20

01510-32426

NUT

SN: 1003-1162

6шт.

21

01602-22472

WASHER

SN: 1163-UP

6шт.

|21

04050-05045

PIN

SN: 1003-1162

6шт.

22

232-46-13180

SHACKLE

SN: 1003-UP

1шт.

23

232-46-13190

PIN

SN: 1003-UP

1шт.

24

01640-23050

WASHER

SN: 1003-UP

2шт.

25

04050-06060

PIN

SN: 1003-UP

2шт.

26

232-06-15111

BRACKET

SN: 1328-UP

1шт.

|26

232-06-15110

BRACKET

SN: 1003-1327

1шт.

27

01000-31220

BOLT

SN: 1003-UP

2шт.

28

01602-21236

WASHER

SN: 1003-UP

2шт.

29

232-06-15121

MARK

SN: 1328-UP

1шт.

|29

232-06-15120

MARK

SN: 1003-1327

1шт.

30

01500-30605

NUT

SN: 1003-UP

2шт.

31

01602-00619

WASHER

SN: 1003-UP

2шт.

Выбрано товаров: 49