Запчасти Komatsu GD37-4 ЗАДН. МОСТ КОРПУС СИЛОВАЯ ПЕРЕДАЧА

Схема запчастей Komatsu GD37-4 - ЗАДН. МОСТ КОРПУС СИЛОВАЯ ПЕРЕДАЧА
FIT
1:1
100%

Артикул

Название

Примечание

Количество

|$0

232-22-00011

GEAR CASE ASS'Y

SN: 1153-UP

1шт.

|$1

232-22-00010

GEAR CASE ASS'Y

SN: 1003-1152

1шт.

|$2

232-22-00011

GEAR CASE ASS'Y,(FOR CUMMINS ENGINE)

SN: 1618-UP

1шт.

|$3

232-801-0100

GEAR CASE ASS'Y,(FOR CUMMINS ENGINE)

SN: 1293-1617

1шт.

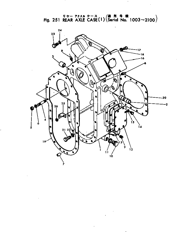
1

232-22-11112

CASE

SN: 1153-UP

1шт.

1

GD372F106A

CASE

SN: 1003-1152

1шт.

2

232-22-11120

SPACER

SN: 1003-UP

2шт.

3

232-22-11130

SPACER

SN: 1003-UP

1шт.

4

232-22-11142

STUD

SN: 1003-UP

2шт.

5

01500-01411

NUT

SN: 1003-UP

2шт.

6

01602-01442

WASHER

SN: 1003-UP

2шт.

7

04020-01434

PIN

SN: 1003-UP

1шт.

8

07020-00675

FITTING

SN: 1618-UP

2шт.

8

07020-00000

FITTING

SN: 1003-1617

2шт.

9

07042-00415

PLUG

SN: 1003-UP

1шт.

10

07044-03620

PLUG

SN: 1153-UP

1шт.

10

GD371F140

PLUG

SN: 1003-1152

1шт.

11

07003-03642

GASKET

SN: 1153-UP

1шт.

11

232-14-12360

WASHER

SN: 1003-1152

1шт.

12

232-22-11160

COVER

SN: 1003-UP

1шт.

13

232-22-11170

GASKET (KIT)

SN: 1003-UP

1шт.

14

01000-30820

BOLT

SN: 1003-UP

8шт.

14

01000-30820

BOLT,(FOR CUMMINS ENGINE)

SN: 1618-UP

8шт.

14

01000-00820

BOLT,(FOR CUMMINS ENGINE)

SN: 1293-1617

8шт.

15

01602-00825

WASHER

SN: 1003-UP

8шт.

16

232-22-11181

COVER

SN: 1003-UP

1шт.

17

01000-30816

BOLT

SN: 1003-UP

2шт.

17

01000-30816

BOLT,(FOR CUMMINS ENGINE)

SN: 1618-UP

2шт.

17

01000-00816

BOLT,(FOR CUMMINS ENGINE)

SN: 1293-1617

2шт.

18

01602-00825

WASHER

SN: 1003-UP

2шт.

19

232-22-11150

GASKET (KIT)

SN: 1003-UP

1шт.

20

232-22-11370

GASKET (KIT)

SN: 1003-UP

1шт.

21

01040-31445

BOLT

SN: 1003-UP

20шт.

22

01602-01442

WASHER

SN: 1003-UP

20шт.

23

01040-31240

BOLT

SN: 1003-UP

14шт.

24

01602-01236

WASHER

SN: 1003-UP

14шт.

25

232-22-11190

STOPPER

SN: 1328-UP

1шт.

25

232-22-11190

STOPPER,(FOR CUMMINS ENGINE)

SN: 1618-UP

1шт.

26

01641-01423

WASHER

SN: 1328-UP

1шт.

26

01641-01423

WASHER,(FOR CUMMINS ENGINE)

SN: 1618-UP

1шт.

Выбрано товаров: 0