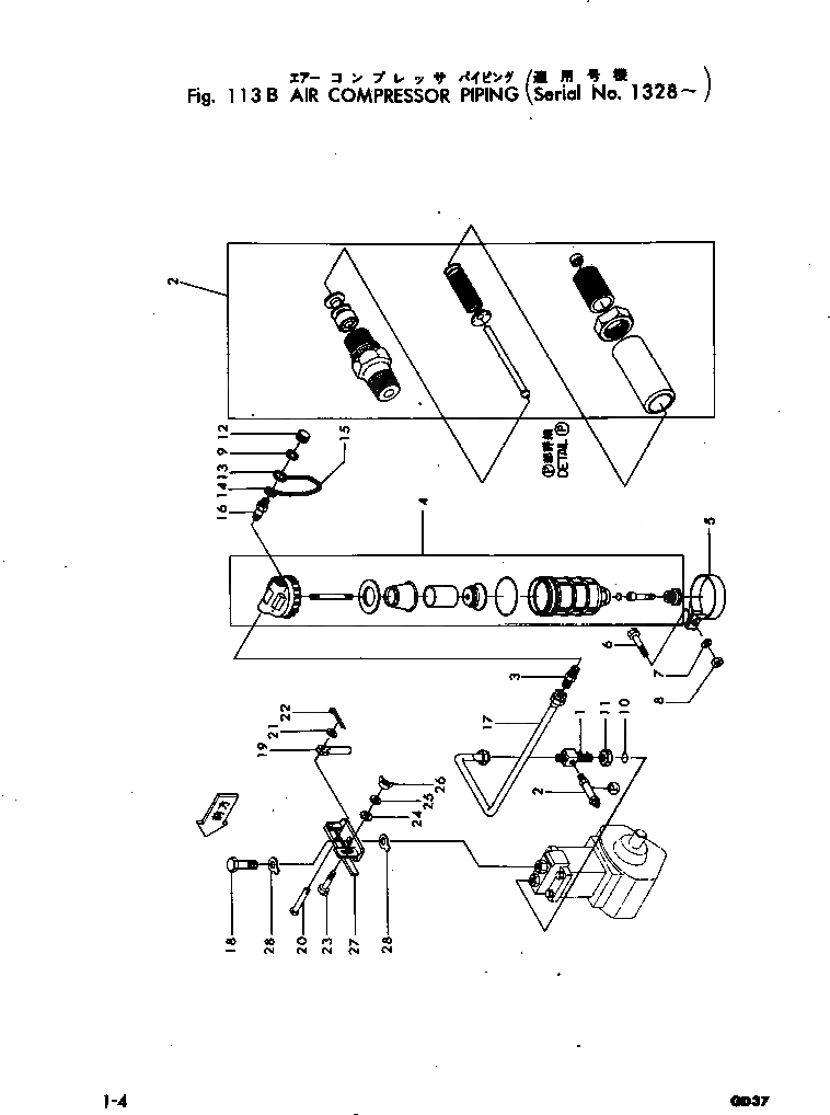
Запчасти Komatsu GD37-4 КОМПРЕССОР ВОЗДУХООЧИСТИТЕЛЬ И ТРУБЫ(№8-) КОМПОНЕНТЫ ДВИГАТЕЛЯ И ЭЛЕКТРИКА

Схема запчастей Komatsu GD37-4 - КОМПРЕССОР ВОЗДУХООЧИСТИТЕЛЬ И ТРУБЫ(№8-) КОМПОНЕНТЫ ДВИГАТЕЛЯ И ЭЛЕКТРИКА
FIT
1:1
100%

Артикул

Название

Примечание

Количество

1

232-64-11141

ADAPTER

SN: 1328-UP

1шт.

2

232-64-11150

VALVE ASS'Y

SN: 1023-UP

1шт.

3

07213-31217

CONNECTOR

SN: 1328-UP

1шт.

4

232-64-11221

AIR CLEANER ASS'Y

SN: 1328-UP

1шт.

5

232-64-11231

BAND

SN: 1328-UP

1шт.

6

01000-30825

BOLT

SN: 1328-UP

1шт.

7

01602-20825

WASHER

SN: 1328-UP

1шт.

8

01500-30807

NUT

SN: 1328-UP

1шт.

9

07003-11419

GASKET

SN: 1023-UP

1шт.

10

07000-03017

O-RING

SN: 1328-UP

1шт.

11

01501-02009

NUT

SN: 1328-UP

1шт.

|$11

232-64-00030

CAP ASS'Y

SN: 1023-UP

1шт.

12

232-64-11250

CAP

SN: 1023-UP

1шт.

13

232-64-11260

RING

SN: 1023-UP

1шт.

14

232-64-11270

RING

SN: 1023-UP

1шт.

15

232-64-11280

CHAIN

SN: 1023-UP

1шт.

16

232-64-11290

JOINT

SN: 1253-UP

1шт.

17

232-64-11214

PIPE

SN: 1328-UP

1шт.

17

0

NUT

SN: 1328-UP

2шт.

17

0

SLEEVE

SN: 1328-UP

2шт.

18

232-64-12111

JOINT

SN: 1253-UP

1шт.

19

232-64-12142

ROD

SN: 1328-UP

1шт.

20

04205-00618

PIN

SN: 1253-UP

1шт.

21

01641-20608

WASHER

SN: 1253-UP

1шт.

22

04050-11610

PIN

SN: 1253-UP

1шт.

23

01010-50625

BOLT

SN: 1253-UP

1шт.

24

01640-20610

WASHER

SN: 1328-UP

1шт.

25

01602-20619

WASHER

SN: 1328-UP

1шт.

26

01540-20632

NUT

SN: 1328-UP

1шт.

27

232-64-12151

LEVER

SN: 1253-UP

1шт.

28

01650-01816

WASHER

SN: 1253-UP

2шт.

29

04400-00622

RIVET

SN: 1253-UP

1шт.

Выбрано товаров: 32