Запчасти Komatsu GD37-4 РЫЧАГ СБРОСА ДАВЛЕНИЯ(№-7) КОЛЕСА¤ РУЛЕВ. УПРАВЛЕНИЕ И СИСТЕМА УПРАВЛЕНИЯS

Схема запчастей Komatsu GD37-4 - РЫЧАГ СБРОСА ДАВЛЕНИЯ(№-7) КОЛЕСА¤ РУЛЕВ. УПРАВЛЕНИЕ И СИСТЕМА УПРАВЛЕНИЯS
FIT
1:1
100%

Артикул

Название

Примечание

Количество

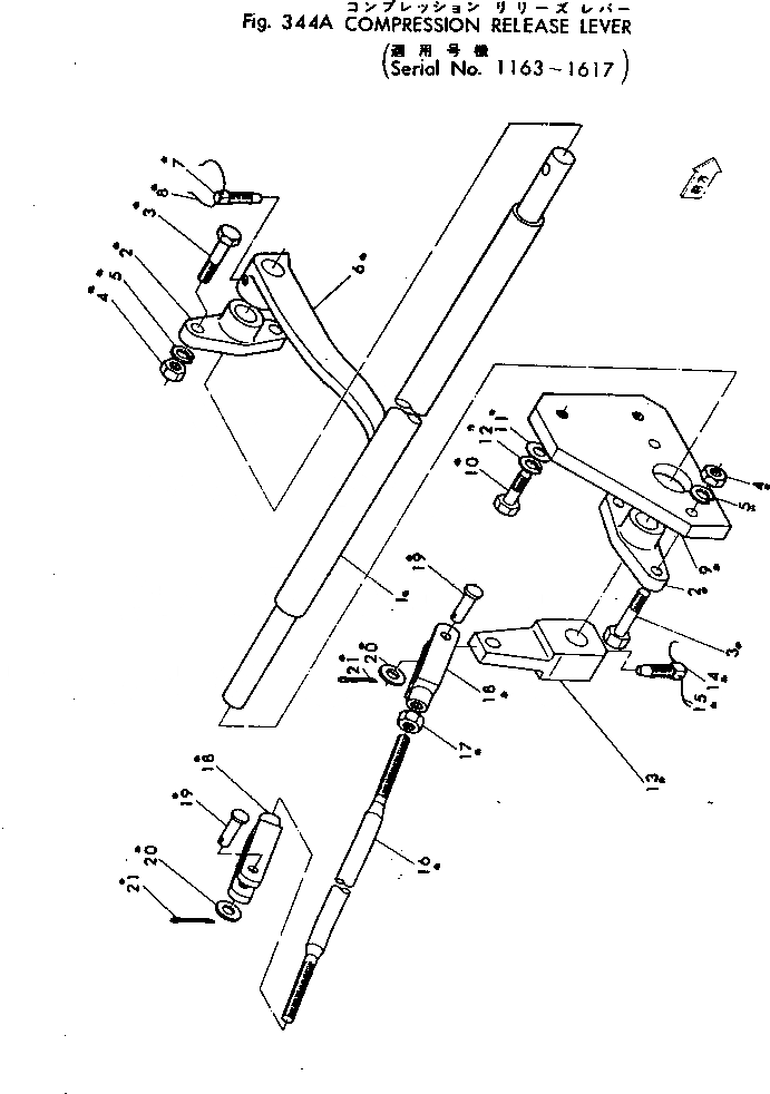
1

232-43-11114

SHAFT

SN: 1328-1617

1шт.

1

232-43-11113

SHAFT

SN: 1203-1327

1шт.

1

GD31N311

SHAFT

SN: 1163-1202

1шт.

1

232-43-11113

SHAFT,(FOR CUMMINS ENGINE)

SN: 1293-1617

1шт.

2

232-43-11120

BEARING

SN: 1163-1617

2шт.

3

01000-30830

BOLT

SN: 1163-1617

4шт.

3

01000-00830

BOLT,(FOR CUMMINS ENGINE)

SN: 1293-1617

4шт.

4

01500-00807

NUT

SN: 1163-1617

4шт.

5

01602-00825

WASHER

SN: 1163-1617

4шт.

6

232-43-11130

LEVER

SN: 1203-1617

1шт.

6

GD371N122

LEVER

SN: 1003-1202

1шт.

7

01306-00820

SCREW

SN: 1203-1617

1шт.

7

04030-00536

PIN

SN: 1003-1202

1шт.

8

04059-01010

WIRE

SN: 1203-1617

1шт.

9

232-43-11143

PLATE

SN: 1203-1617

1шт.

9

GD37N312B

PLATE

SN: 1163-1202

1шт.

10

01000-30820

BOLT

SN: 1203-1617

2шт.

10

01000-00820

BOLT,(FOR CUMMINS ENGINE)

SN: 1293-1617

2шт.

11

01642-00810

WASHER

SN: 1203-1617

2шт.

12

01602-00825

WASHER

SN: 1203-1617

2шт.

13

232-43-11151

LEVER

SN: 1203-@

1шт.

13

GD37N313

LEVER

SN: 1023-1202

1шт.

14

01306-00820

SCREW

SN: 1203-@

1шт.

14

04030-00536

PIN

SN: 1003-1202

1шт.

15

04059-01010

WIRE

SN: 1203-@

1шт.

16

232-43-11165

ROD

SN: 1203-1617

1шт.

16

GD37N316D

ROD

SN: 1163-1202

1шт.

17

01501-00805

NUT

SN: 1003-1617

1шт.

18

04211-00844

YOKE

SN: 1003-1617

2шт.

19

04205-00822

PIN

SN: 1003-1617

2шт.

20

01640-00816

WASHER

SN: 1003-1617

2шт.

21

04050-02022

PIN

SN: 1003-1617

2шт.

Выбрано товаров: 32