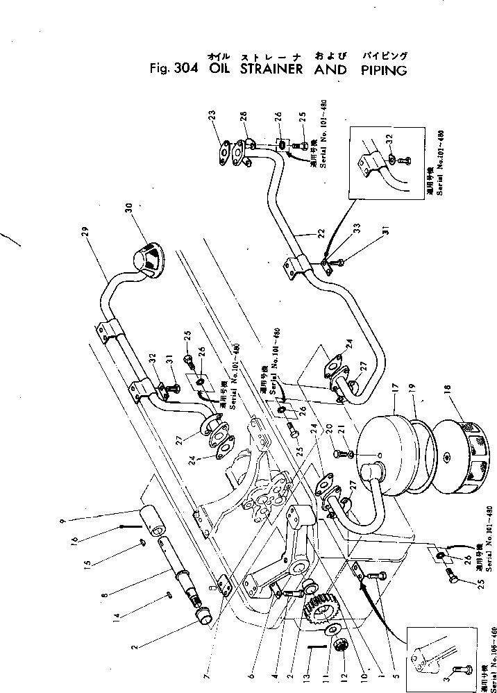
Запчасти Komatsu 6D115-1 МАСЛЯНЫЙ ФИЛЬТР И ТРУБЫ(№-) СИСТЕМА СМАЗКИ МАСЛ. СИСТЕМА

Схема запчастей Komatsu 6D115-1 - МАСЛЯНЫЙ ФИЛЬТР И ТРУБЫ(№-) СИСТЕМА СМАЗКИ МАСЛ. СИСТЕМА
FIT
1:1
100%

Артикул

Название

Примечание

Количество

|$0

6101-50-2401

BRACKET ASS'Y

SN: 461-UP

1шт.

|$1

6101-50-2400

BRACKET ASS'Y

SN: 101-460

1шт.

1

6101-51-2411

BRACKET

SN: 461-UP

1шт.

1

6101-51-2410

BRACKET

SN: 101-460

1шт.

2

6101-51-2420

BUSHING

SN: 101-UP

2шт.

3

01040-41025

BOLT

SN: 101-460

4шт.

4

01040-41055

BOLT

SN: 461-UP

2шт.

5

01040-41040

BOLT

SN: 461-UP

2шт.

6

6101-51-2430

WASHER (KIT)

SN: 461-UP

2шт.

6

0

WASHER

SN: 101-460

4шт.

7

6101-51-2810

SHIM, 0.1MM

SN: 101-1219

6шт.

8

6101-51-2110

SHAFT

SN: 101-UP

1шт.

9

6101-51-2210

JOINT

SN: 101-UP

1шт.

10

6101-51-2120

GEAR

SN: 101-UP

1шт.

11

01640-01829

WASHER

SN: 101-UP

1шт.

12

01511-41813

NUT

SN: 101-UP

1шт.

13

04050-04035

PIN (KIT)

SN: 101-UP

1шт.

14

04000-00515

KEY

SN: 101-UP

1шт.

15

04010-00519

KEY

SN: 101-UP

2шт.

16

04050-04045

PIN (KIT)

SN: 101-UP

1шт.

17

6101-51-6110

PIPE

SN: 101-UP

1шт.

18

6110-51-6310

STRAINER

SN: 286-UP

1шт.

18

4D115A5514

STRAINER

SN: 101-285

1шт.

19

6110-51-6331

GASKET (KIT)

SN: 286-UP

1шт.

19

4D115A5516

GASKET

SN: 101-285

1шт.

20

01000-41020

BOLT

SN: 101-UP

1шт.

21

91602-11030

WASHER

SN: 101-UP

1шт.

22

6101-51-6210

PIPE

SN: 101-UP

1шт.

23

6101-51-6220

GASKET (KIT)

SN: 101-UP

1шт.

24

6101-51-6810

GASKET (KIT)

SN: 101-UP

3шт.

25

01000-40820

BOLT

SN: 101-UP

8шт.

26

6101-51-6120

WASHER

SN: 101-480

8шт.

27

6101-51-6130

WASHER

SN: 101-UP

3шт.

28

6101-51-6140

WASHER

SN: 481-UP

1шт.

29

6101-51-6610

PIPE

SN: 101-UP

1шт.

30

6101-51-6620

PORT

SN: 101-UP

1шт.

31

01000-40816

BOLT

SN: 1197-UP

6шт.

31

01000-40814

BOLT

SN: 481-1196

6шт.

31

0

BOLT

SN: 101-480

6шт.

32

01650-00808

WASHER

SN: 101-480

6шт.

33

6101-51-6230

WASHER (KIT)

SN: 481-UP

3шт.

|$0

6101-50-2401

BRACKET ASS'Y

SN: 461-UP

1шт.

|$1

6101-50-2400

BRACKET ASS'Y

SN: 101-460

1шт.

1

6101-51-2411

BRACKET

SN: 461-UP

1шт.

1

6101-51-2410

BRACKET

SN: 101-460

1шт.

2

6101-51-2420

BUSHING

SN: 101-UP

2шт.

3

01040-41025

BOLT

SN: 101-460

4шт.

4

01040-41055

BOLT

SN: 461-UP

2шт.

5

01040-41040

BOLT

SN: 461-UP

2шт.

6

6101-51-2430

WASHER (KIT)

SN: 461-UP

2шт.

6

0

WASHER

SN: 101-460

4шт.

7

6101-51-2810

SHIM, 0.1MM

SN: 101-1219

6шт.

8

6101-51-2110

SHAFT

SN: 101-UP

1шт.

9

6101-51-2210

JOINT

SN: 101-UP

1шт.

10

6101-51-2120

GEAR

SN: 101-UP

1шт.

11

01640-01829

WASHER

SN: 101-UP

1шт.

12

01511-41813

NUT

SN: 101-UP

1шт.

13

04050-04035

PIN (KIT)

SN: 101-UP

1шт.

14

04000-00515

KEY

SN: 101-UP

1шт.

15

04010-00519

KEY

SN: 101-UP

2шт.

16

04050-04045

PIN (KIT)

SN: 101-UP

1шт.

17

6101-51-6110

PIPE

SN: 101-UP

1шт.

18

6110-51-6310

STRAINER

SN: 286-UP

1шт.

18

4D115A5514

STRAINER

SN: 101-285

1шт.

19

6110-51-6331

GASKET (KIT)

SN: 286-UP

1шт.

19

4D115A5516

GASKET

SN: 101-285

1шт.

20

01000-41020

BOLT

SN: 101-UP

1шт.

21

91602-11030

WASHER

SN: 101-UP

1шт.

22

6101-51-6210

PIPE

SN: 101-UP

1шт.

23

6101-51-6220

GASKET (KIT)

SN: 101-UP

1шт.

24

6101-51-6810

GASKET (KIT)

SN: 101-UP

3шт.

25

01000-40820

BOLT

SN: 101-UP

8шт.

26

6101-51-6120

WASHER

SN: 101-480

8шт.

27

6101-51-6130

WASHER

SN: 101-UP

3шт.

28

6101-51-6140

WASHER

SN: 481-UP

1шт.

29

6101-51-6610

PIPE

SN: 101-UP

1шт.

30

6101-51-6620

PORT

SN: 101-UP

1шт.

31

01000-40816

BOLT

SN: 1197-UP

6шт.

31

01000-40814

BOLT

SN: 481-1196

6шт.

31

0

BOLT

SN: 101-480

6шт.

32

01650-00808

WASHER

SN: 101-480

6шт.

33

6101-51-6230

WASHER (KIT)

SN: 481-UP

3шт.

Выбрано товаров: 82