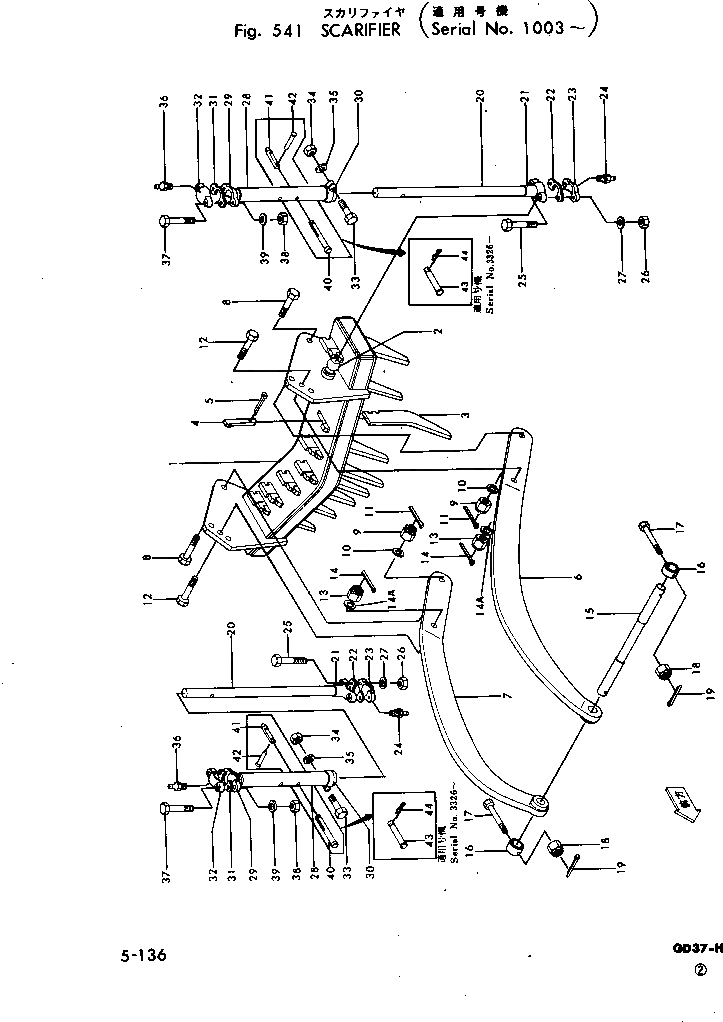
Запчасти Komatsu GD37-5H SCARIFIER РАБОЧЕЕ ОБОРУДОВАНИЕ И ITS СИСТЕМА УПРАВЛЕНИЯ

Схема запчастей Komatsu GD37-5H - SCARIFIER РАБОЧЕЕ ОБОРУДОВАНИЕ И ITS СИСТЕМА УПРАВЛЕНИЯ
FIT
1:1
100%

Артикул

Название

Примечание

Количество

1

232-70-13110

BODY

SN: 2101-UP

1шт.

2

232-70-13120

STUD

SN: 2101-UP

2шт.

3

09271-00045

TOOTH

SN: 2975-UP

11шт.

|3

232-70-13130

TOOTH

SN: 2101-2974

11шт.

4

232-70-13140

WEDGE

SN: 3931-UP

11шт.

|4

0

WEDGE

SN: 3326-3930

11шт.

|4

0

WEDGE

SN: 2101-3325

11шт.

5

04050-06050

PIN

SN: 3931-UP

11шт.

|5

04050-06050

PIN

SN: 2101-3325

11шт.

6

232-70-13150

DRAWBAR

SN: 2101-UP

1шт.

7

232-70-13160

DRAWBAR

SN: 2101-UP

1шт.

8

232-70-13172

BOLT

SN: 3326-UP

2шт.

|8

232-70-13171

BOLT

SN: 2975-3325

2шт.

|8

232-70-13170

BOLT

SN: 2101-2974

2шт.

9

01580-12722

NUT

SN: 3326-UP

2шт.

|9

01590-02730

NUT

SN: 2975-3325

2шт.

|9

01510-02728

NUT

SN: 2101-2974

2шт.

10

01602-22783

WASHER

SN: 3326-UP

2шт.

|10

01640-23045

WASHER

SN: 2101-3325

2шт.

11

04050-05050

PIN

SN: 2101-3325

2шт.

12

01010-82490

BOLT

SN: 3326-UP

2шт.

|12

01012-62495

BOLT

SN: 2975-3325

2шт.

|12

01002-62490

BOLT

SN: 2101-2974

2шт.

13

01580-12419

NUT

SN: 3326-UP

2шт.

|13

01590-02427

NUT

SN: 2975-3325

2шт.

|13

01510-32426

NUT

SN: 2101-2974

2шт.

14

04050-05050

PIN

SN: 2101-3325

2шт.

14A

01602-22472

WASHER

SN: 3326-UP

2шт.

|14A

01640-22440

WASHER

SN: 2975-3325

2шт.

15

232-70-13190

SHAFT

SN: 2101-UP

1шт.

16

232-70-13210

COLLAR

SN: 2101-UP

2шт.

17

01011-51400

BOLT

SN: 3326-UP

2шт.

|17

01013-31400

BOLT

SN: 2975-3325

2шт.

|17

01003-31400

BOLT

SN: 2101-2974

2шт.

18

01598-11415

NUT

SN: 3326-UP

2шт.

|18

01590-01416

NUT

SN: 2975-3325

2шт.

|18

01510-31416

NUT

SN: 2101-2974

2шт.

19

04050-03028

PIN

SN: 2101-3325

2шт.

20

232-70-13311

ROD

SN: 2387-UP

2шт.

|20

0

ROD

SN: 2101-2386

2шт.

21

232-70-13321

JOINT

SN: 2387-UP

1шт.

|21

0

JOINT

SN: 2101-2386

1шт.

22

232-71-11340

SHIM¤ 0.2MM (KIT)

SN: 2101-UP

10шт.

23

232-71-11330

CAP

SN: 2101-UP

2шт.

24

07020-00000

FITTING

SN: 2101-UP

2шт.

25

01010-51665

BOLT

SN: 2975-UP

4шт.

|25

01000-31665

BOLT

SN: 2101-2974

4шт.

26

01580-11613

NUT

SN: 2975-UP

4шт.

|26

01500-31613

NUT

SN: 2101-2974

4шт.

27

01602-21648

WASHER

SN: 2101-UP

4шт.

28

232-70-13430

ROD,L.H.

SN: 2207-UP

1шт.

|28

232-70-13420

ROD,R.H.

SN: 2207-UP

1шт.

|28

232-70-13333

ROD

SN: 2200-2206

2шт.

|28

232-70-13430

ROD,L.H.

SN: 2181-2199

1шт.

|28

232-70-13420

ROD,R.H.

SN: 2181-2199

1шт.

|28

232-70-13333

ROD

SN: 2180-2180

2шт.

|28

232-70-13430

ROD,L.H.

SN: 2173-2179

1шт.

|28

232-70-13420

ROD,R.H.

SN: 2173-2179

1шт.

|28

232-70-13333

ROD

SN: 2140-2172

2шт.

|28

232-70-13430

ROD,L.H.

SN: 2139-2139

1шт.

|28

232-70-13420

ROD,R.H.

SN: 2139-2139

1шт.

|28

232-70-13333

ROD

SN: 2138-2138

2шт.

|28

232-70-13430

ROD,L.H.

SN: 2130-2137

1шт.

|28

232-70-13420

ROD,R.H.

SN: 2130-2137

1шт.

|28

232-70-13333

ROD

SN: 2127-2129

2шт.

|28

232-70-13430

ROD,L.H.

SN: 2126-2126

1шт.

|28

232-70-13420

ROD,R.H.

SN: 2126-2126

1шт.

|28

232-70-13333

ROD

SN: 2101-2125

2шт.

29

232-70-13342

BALL

SN: 3326-UP

1шт.

|29

232-70-13341

BALL

SN: 2101-3325

1шт.

30

232-70-13350

CLAMP

SN: 2101-UP

1шт.

31

232-71-11340

SHIM¤ 0.2MM

SN: 2101-UP

10шт.

32

232-71-11330

CAP

SN: 2101-UP

2шт.

33

01010-51680

BOLT

SN: 2975-UP

2шт.

|33

01000-31680

BOLT

SN: 2101-2974

2шт.

34

01580-11613

NUT

SN: 2975-UP

2шт.

|34

01500-31613

NUT

SN: 2101-2974

2шт.

35

01602-21648

WASHER

SN: 2101-UP

2шт.

36

07020-00675

FITTING

SN: 2101-UP

2шт.

37

01010-51665

BOLT

SN: 2975-UP

4шт.

|37

01000-31665

BOLT

SN: 2101-2974

4шт.

38

01580-11613

NUT

SN: 2975-UP

4шт.

|38

01500-31613

NUT

SN: 2101-2974

4шт.

39

01602-21648

WASHER

SN: 2101-UP

4шт.

|40

232-70-00120

PIN ASS'Y

SN: 2101-3325

2шт.

40

0

PIN

SN: 2101-3325

1шт.

41

0

PIN

SN: 2101-3325

1шт.

42

0

RIVET

SN: 2101-3325

1шт.

43

232-70-13440

PIN

SN: 3326-UP

2шт.

44

232-70-13361

PIN

SN: 3326-UP

2шт.

Выбрано товаров: 90