Запчасти Komatsu GD37-5H SCARIFIER ГИДРОЦИЛИНДР ПОДЪЕМА(№9-) РАБОЧЕЕ ОБОРУДОВАНИЕ И ITS СИСТЕМА УПРАВЛЕНИЯ

Схема запчастей Komatsu GD37-5H - SCARIFIER ГИДРОЦИЛИНДР ПОДЪЕМА(№9-) РАБОЧЕЕ ОБОРУДОВАНИЕ И ITS СИСТЕМА УПРАВЛЕНИЯ
FIT
1:1
100%

Артикул

Название

Примечание

Количество

|1

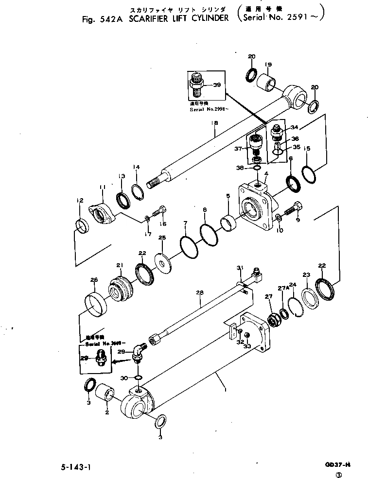
232-63-32003

CYLINDER ASS'Y

SN: 3609-UP

1шт.

|1

232-63-32002

CYLINDER ASS'Y

SN: 2998-3608

1шт.

|1

232-63-32001

CYLINDER ASS'Y

SN: 2591-2997

1шт.

|1

0

CYLINDER ASS'Y

SN: (2591-2986)

1шт.

1

232-63-32142

CYLINDER

SN: 3609-UP

1шт.

|1

232-63-32141

CYLINDER

SN: 2987-3608

1шт.

|1

232-63-32140

CYLINDER

SN: 2591-2986

1шт.

2

07143-10405

BUSHING

SN: 2591-UP

1шт.

3

07145-00045

SEAL (KIT)

SN: 2591-UP

2шт.

4

232-63-12130

HEAD

SN: 2591-UP

1шт.

5

07177-05030

BUSHING

SN: 2591-UP

1шт.

6

236-63-62173

PACKING (KIT)

SN: 2591-UP

1шт.

|6

0

U-PACKING

SN: (2591-3608)

1шт.

7

07000-12085

O-RING (KIT)

SN: 2591-UP

1шт.

8

07146-02086

RING (KIT)

SN: 2591-UP

1шт.

9

01010-31645

BOLT

SN: 2975-UP

4шт.

|9

01040-31645

BOLT

SN: 2591-2974

4шт.

10

01602-01648

WASHER

SN: 2591-UP

4шт.

11

07178-05035

GLAND

SN: 2591-UP

1шт.

12

07177-05012

BUSHING

SN: 2591-UP

1шт.

13

07016-00507

SEAL (KIT)

SN: 2591-UP

1шт.

14

07179-00069

RING

SN: 2591-UP

1шт.

15

07000-03065

O-RING (KIT)

SN: 2591-UP

1шт.

16

01010-31240

BOLT

SN: 2975-UP

2шт.

|16

01040-31240

BOLT

SN: 2591-2974

2шт.

17

01602-01236

WASHER

SN: 2591-UP

2шт.

18

232-63-32121

ROD

SN: 3609-UP

1шт.

|18

232-63-32120

ROD

SN: 2591-3608

1шт.

19

07143-10405

BUSHING

SN: 2591-UP

1шт.

20

07145-00045

SEAL (KIT)

SN: 2591-UP

2шт.

|21

232-63-00010

PISTON SUB ASS'Y

SN: 2591-UP

1шт.

21

232-63-12471

PISTON

SN: 3609-UP

1шт.

|21

07150-00927

PISTON

SN: 2591-3608

1шт.

22

232-63-12451

PACKING

SN: 2591-UP

2шт.

|22

0

U-PACKING

SN: (2591-3608)

2шт.

|22

0

PACKING

SN: (2591-2997)

2шт.

23

232-63-12490

RETAINER

SN: 3609-UP

1шт.

|23

232-63-12590

RETAINER

SN: 2591-3608

1шт.

|23

0

RETAINER

SN: (2591-2997)

1шт.

24

112-63-79550

RING

SN: 3609-UP

1шт.

|24

07168-00924

STOPPER (KIT)

SN: 2591-3608

1шт.

25

232-63-12480

RETAINER

SN: 2591-UP

1шт.

|25

0

RETAINER

SN: (2591-2997)

1шт.

26

07155-00925

RING

SN: 2591-UP

1шт.

27

07165-12729

NUT

SN: 3573-UP

1шт.

|27

232-63-12681

NUT

SN: 2998-3572

1шт.

|27

07165-02729

NUT

SN: 2591-2997

1шт.

27A

232-63-12670

RETAINER

SN: 2998-UP

1шт.

28

232-63-32190

TUBE

SN: 2591-3608

1шт.

29

07230-10422

UNION

SN: 3609-UP

1шт.

|29

07235-10422

ELBOW

SN: 2975-3608

1шт.

|29

07235-00422

ELBOW

SN: 2591-2974

1шт.

30

07002-12034

O-RING

SN: 2591-UP

1шт.

|30

0

O-RING

SN: (2591-3608)

1шт.

31

07283-02244

CLIP

SN: 2591-3608

1шт.

32

01643-01032

WASHER

SN: 2591-3608

2шт.

33

01599-01011

NUT

SN: 2975-3608

2шт.

|33

01554-01011

NUT

SN: 2591-2974

2шт.

|34

232-60-16501

VALVE ASS'Y

SN: 2975-2997

1шт.

|34

232-60-16500

VALVE ASS'Y

SN: 2728-2974

1шт.

|34

233-60-16400

VALVE ASS'Y

SN: 2721-2727

1шт.

|34

232-60-16500

VALVE ASS'Y

SN: 2708-2720

1шт.

|34

233-60-16400

VALVE ASS'Y

SN: 2687-2707

1шт.

|34

232-60-16500

VALVE ASS'Y

SN: 2675-2686

1шт.

|34

233-60-16400

VALVE ASS'Y

SN: 2607-2674

1шт.

|34

232-60-16500

VALVE ASS'Y

SN: 2606-2606

1шт.

|34

233-60-16400

VALVE ASS'Y

SN: 2591-2605

1шт.

34

0

NIPPLE

SN: 2591-2997

1шт.

35

07000-13030

O-RING

SN: 2591-2997

1шт.

36

0

VALVE

SN: 2728-2997

1шт.

|36

0

VALVE

SN: 2721-2727

1шт.

|36

0

VALVE

SN: 2708-2720

1шт.

|36

0

VALVE

SN: 2687-2707

1шт.

|36

0

VALVE

SN: 2675-2686

1шт.

|36

0

VALVE

SN: 2607-2674

1шт.

|36

0

VALVE

SN: 2606-2606

1шт.

|36

0

VALVE

SN: 2591-2605

1шт.

37

233-60-16422

JOINT

SN: 2975-2997

1шт.

|37

233-60-16421

JOINT

SN: 2591-2974

1шт.

38

07002-12034

O-RING

SN: 3609-UP

1шт.

|38

07000-13017

O-RING

SN: 2591-3608

1шт.

39

07230-10422

UNION

SN: 2998-UP

1шт.

Выбрано товаров: 82