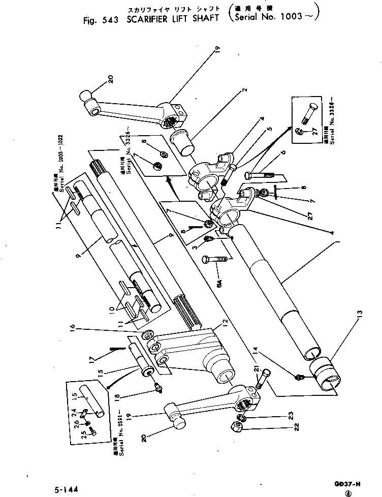
Запчасти Komatsu GD37-5H SCARIFIER LIFT ВАЛ РАБОЧЕЕ ОБОРУДОВАНИЕ И ITS СИСТЕМА УПРАВЛЕНИЯ

Схема запчастей Komatsu GD37-5H - SCARIFIER LIFT ВАЛ РАБОЧЕЕ ОБОРУДОВАНИЕ И ITS СИСТЕМА УПРАВЛЕНИЯ
FIT
1:1
100%

Артикул

Название

Примечание

Количество

|1

232-71-00212

SHAFT ASS'Y

SN: 2101-UP

1шт.

1

232-71-16110

SHAFT

SN: 2101-UP

1шт.

2

232-71-16121

BUSHING

SN: 2101-UP

1шт.

3

07020-00000

FITTING

SN: 2101-UP

1шт.

4

232-71-16210

BLOCK,(1)

SN: 2101-UP

2шт.

|4

232-70-16290

BLOCK,(2)

SN: 2101-UP

2шт.

5

01011-82005

BOLT

SN: 3326-UP

2шт.

|5

232-71-16221

BOLT

SN: 2975-3325

2шт.

|5

01001-32005

BOLT

SN: 2591-2974

2шт.

|5

232-71-16220

BOLT

SN: 2101-2590

2шт.

6

01010-82095

BOLT,(1)

SN: 3681-UP

2шт.

|6

01010-82095

BOLT,(1)

SN: 3326-3680

4шт.

|6

01010-82085

BOLT,(2)

SN: 3681-UP

2шт.

|6

01010-82085

BOLT,(2)

SN: 3326-3680

4шт.

|6

01013-62020

BOLT

SN: 2975-3325

4шт.

|6

01001-62015

BOLT

SN: 2591-2974

4шт.

|6

232-71-16230

BOLT

SN: 2101-2590

4шт.

6A

01091-52200

BOLT,(1)

SN: 3681-UP

2шт.

|6A

01090-52290

BOLT,(2)

SN: 3681-UP

2шт.

7

01580-12016

NUT

SN: 3326-UP

6шт.

|7

01590-02022

NUT

SN: 2975-3325

6шт.

|7

01500-32016

NUT

SN: 2591-2974

6шт.

|7

01510-32022

NUT

SN: 2101-2590

6шт.

8

01640-12032

WASHER

SN: 3326-UP

6шт.

|8

04050-04040

PIN

SN: 2101-3325

6шт.

9

232-71-16312

SHAFT

SN: 2101-UP

1шт.

|12

232-71-00223

ARM ASS'Y

SN: 2591-UP

1шт.

|12

232-71-00222

ARM ASS'Y

SN: 2101-2590

1шт.

12

232-71-16363

ARM

SN: 2591-UP

1шт.

|12

232-71-16322

ARM

SN: 2101-2590

1шт.

13

232-71-16330

BUSHING

SN: 2101-UP

1шт.

14

07020-00000

FITTING

SN: 2101-UP

1шт.

15

232-71-16370

PIN

SN: 2591-UP

1шт.

|15

232-71-16340

PIN

SN: 2101-2590

1шт.

16

232-71-16350

WASHER

SN: 2101-2590

1шт.

17

04050-08060

PIN

SN: 2101-2590

1шт.

18

07020-00000

FITTING

SN: 2591-UP

1шт.

|18

07020-00000

FITTING

SN: 2101-2590

3шт.

19

232-71-16412

ARM

SN: 2101-UP

2шт.

21

01010-81690

BOLT

SN: 2975-UP

4шт.

|21

01000-61695

BOLT

SN: 2101-2974

4шт.

22

01580-11613

NUT

SN: 2975-UP

4шт.

|22

01500-31613

NUT

SN: 2101-2974

4шт.

23

01602-21648

WASHER

SN: 2101-UP

4шт.

24

04082-00212

LOCK

SN: 2591-UP

1шт.

25

01010-51225

BOLT

SN: 2591-UP

2шт.

26

01602-21236

WASHER

SN: 2591-UP

2шт.

27

01602-22060

WASHER

SN: 3326-UP

6шт.

Выбрано товаров: 48