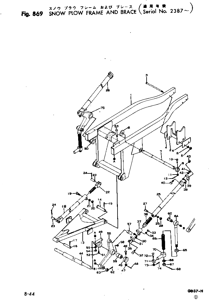
Запчасти Komatsu GD37-5H SNOW PНИЗ. РАМА И БАЛКА(№87-) ОПЦИОННЫЕ КОМПОНЕНТЫ

Схема запчастей Komatsu GD37-5H - SNOW PНИЗ. РАМА И БАЛКА(№87-) ОПЦИОННЫЕ КОМПОНЕНТЫ
FIT
1:1
100%

Артикул

Название

Примечание

Количество

|1

232-970-0035

SUPPORT ASS'Y

SN: 3645-UP

1шт.

|1

0

SUPPORT ASS'Y

SN: 3603-3644

1шт.

|1

0

SUPPORT ASS'Y

SN: 2975-3602

1шт.

|1

0

SUPPORT ASS'Y

SN: 2666-2974

1шт.

|1

0

SUPPORT ASS'Y

SN: 2387-2665

1шт.

1

232-970-1511

FRAME

SN: 3645-UP

1шт.

|1

232-970-1510

FRAME

SN: 2387-3644

1шт.

2

232-970-1931

BRACKET

SN: 3645-UP

1шт.

|2

232-970-1930

BRACKET

SN: 2387-3644

1шт.

3

232-970-1941

BOLT

SN: 2975-UP

2шт.

|3

232-970-1940

BOLT

SN: 2387-2974

2шт.

4

232-970-1950

LOCK

SN: 2387-UP

2шт.

5

01580-12016

NUT

SN: 2975-UP

2шт.

|5

01500-32016

NUT

SN: 2387-2974

2шт.

6

01602-22060

WASHER

SN: 2387-UP

2шт.

7

232-970-1550

SHAFT

SN: 2387-UP

1шт.

8

232-970-1560

SPACER

SN: 2387-UP

2шт.

9

232-70-13210

COLLAR

SN: 2387-UP

2шт.

10

01011-51400

BOLT

SN: 2975-UP

2шт.

|10

01001-31400

BOLT

SN: 2387-2974

2шт.

11

01590-11416

NUT

SN: 2975-UP

2шт.

|11

01510-31410

NUT

SN: 2387-2974

2шт.

12

04050-03028

PIN

SN: 2387-UP

2шт.

13

232-970-1611

ARM

SN: 3645-UP

1шт.

|13

232-970-1610

ARM

SN: 2387-3644

1шт.

14

232-970-1521

PIN

SN: 3645-UP

2шт.

|14

232-970-1520

PIN

SN: 2387-3644

2шт.

15

04050-06060

PIN

SN: 3645-UP

4шт.

|15

04050-06060

PIN

SN: 2387-3644

2шт.

16

232-970-1650

SHAFT

SN: 2387-UP

1шт.

17

04050-06060

PIN

SN: 2387-UP

2шт.

18

232-970-1850

ROD

SN: 2387-UP

1шт.

19

01010-51680

BOLT

SN: 2975-UP

1шт.

|19

01000-31680

BOLT

SN: 2387-2974

1шт.

20

01580-11613

NUT

SN: 2975-UP

1шт.

|20

01500-31613

NUT

SN: 2387-2974

1шт.

21

01602-21648

WASHER

SN: 2387-UP

1шт.

22

232-970-1820

JOINT

SN: 2387-UP

1шт.

23

232-970-1840

SHAFT

SN: 2387-UP

2шт.

24

04050-05040

PIN

SN: 2387-UP

4шт.

25

232-970-1810

ROD

SN: 2387-UP

1шт.

26

232-970-1860

ROD

SN: 2387-UP

1шт.

27

01010-51680

BOLT

SN: 2975-UP

2шт.

|27

01000-31680

BOLT

SN: 2387-2974

2шт.

28

01580-11613

NUT

SN: 2975-UP

2шт.

|28

01500-31613

NUT

SN: 2387-2974

2шт.

29

01602-21648

WASHER

SN: 2387-UP

2шт.

30

232-71-11340

SHIM¤ 0.2MM

SN: 2387-UP

8шт.

31

232-71-11330

CAP

SN: 2387-UP

2шт.

32

01010-51665

BOLT

SN: 2975-UP

4шт.

|32

01000-31665

BOLT

SN: 2387-2974

4шт.

33

01580-11613

NUT

SN: 2975-UP

4шт.

|33

01500-31613

NUT

SN: 2387-2974

4шт.

34

01602-21648

WASHER

SN: 2387-UP

4шт.

35

07020-00000

FITTING

SN: 2387-UP

2шт.

36

234-970-2150

JOINT ASS'Y

SN: 3603-UP

2шт.

|36

232-970-1791

BOLT

SN: 3603-UP

1шт.

|36

232-970-1790

BOLT

SN: 2387-3602

2шт.

37

232-70-13321

JOINT

SN: 3603-UP

1шт.

|37

232-70-13320

JOINT

SN: 2387-3602

2шт.

38

232-71-11340

SHIM¤ 0.2MM

SN: 2387-UP

8шт.

39

232-71-11330

CAP

SN: 2387-UP

2шт.

40

01010-51665

BOLT

SN: 2975-UP

4шт.

|40

01000-31665

BOLT

SN: 2387-2974

4шт.

41

01580-11613

NUT

SN: 2975-UP

4шт.

|41

01500-31613

NUT

SN: 2387-2974

4шт.

42

01602-21648

WASHER

SN: 2387-UP

4шт.

43

07020-00000

FITTING

SN: 2387-UP

2шт.

44

232-970-1531

SHAFT

SN: 2387-UP

1шт.

45

232-70-13210

COLLAR

SN: 2387-UP

2шт.

46

01013-51400

BOLT

SN: 3603-UP

2шт.

|46

01011-31400

BOLT

SN: 2975-3602

2шт.

|46

01001-31400

BOLT

SN: 2387-2974

2шт.

47

01590-11416

NUT

SN: 2975-UP

2шт.

|47

01510-31416

NUT

SN: 2387-2974

2шт.

48

04050-03028

PIN

SN: 2387-UP

2шт.

49

232-970-1620

BRACKET

SN: 2387-UP

1шт.

50

232-970-1632

BRACKET

SN: 2975-UP

1шт.

|50

232-970-1631

BRACKET

SN: 2387-2974

1шт.

51

232-970-1570

SCREW

SN: 2975-UP

1шт.

|51

01302-01230

SCREW

SN: 2387-2974

1шт.

52

04059-01640

WIRE

SN: 2387-UP

1шт.

53

232-970-1641

BOLT

SN: 2975-UP

4шт.

|53

232-970-1640

BOLT

SN: 2387-2974

4шт.

54

01580-11613

NUT

SN: 2975-UP

4шт.

|54

01500-31613

NUT

SN: 2387-2974

4шт.

55

01602-21648

WASHER

SN: 2387-UP

4шт.

56

232-970-1910

ARM

SN: 2666-UP

1шт.

|56

232-970-1980

ARM

SN: 2387-2665

1шт.

57

232-70-13120

STUD

SN: 2387-UP

1шт.

58

07020-00000

FITTING

SN: 2387-UP

2шт.

59

232-970-1660

BUSHING

SN: 2387-UP

2шт.

60

232-970-1762

PIN

SN: 3603-UP

2шт.

|60

232-970-1761

PIN

SN: 2975-3602

2шт.

|60

232-970-1760

PIN

SN: 2387-2974

2шт.

61

01640-23345

WASHER

SN: 2387-UP

2шт.

62

04050-06060

PIN

SN: 2387-UP

2шт.

63

01590-13335

NUT

SN: 2975-UP

2шт.

|63

01511-33320

NUT

SN: 2387-2974

2шт.

64

232-970-1691

ROD

SN: 2975-UP

2шт.

|64

232-970-1690

ROD

SN: 2387-2974

2шт.

65

232-970-1710

COLLAR

SN: 2387-UP

2шт.

66

232-970-1730

WASHER

SN: 2387-UP

2шт.

67

01590-13335

NUT

SN: 2975-UP

2шт.

|67

01510-33334

NUT

SN: 2387-2974

2шт.

68

04050-06060

PIN

SN: 2387-UP

2шт.

69

232-970-1720

SPRING

SN: 2387-UP

2шт.

70

232-970-1740

SHAFT

SN: 2387-UP

2шт.

71

232-970-1750

COLLAR

SN: 2387-UP

2шт.

72

232-970-1771

BOLT

SN: 2975-UP

2шт.

|72

232-970-1770

BOLT

SN: 2387-2974

2шт.

73

01590-11012

NUT

SN: 2975-UP

2шт.

|73

01510-31012

NUT

SN: 2387-2974

2шт.

74

04050-02020

PIN

SN: 2387-UP

2шт.

75

232-970-1920

ARM

SN: 2666-UP

1шт.

|75

232-970-1980

ARM

SN: 2387-2665

1шт.

Выбрано товаров: 116