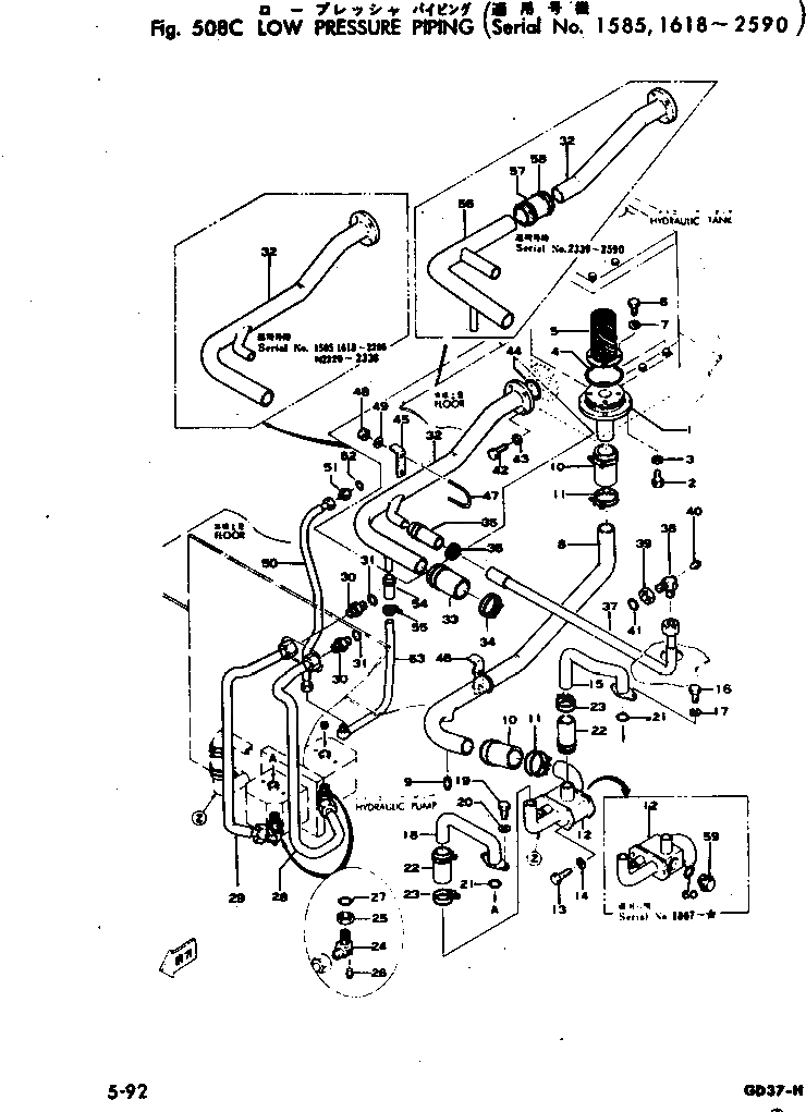
Запчасти Komatsu GD37-5H НИЗ. PRESSURE ТРУБЫ(№-9) РАБОЧЕЕ ОБОРУДОВАНИЕ И ITS СИСТЕМА УПРАВЛЕНИЯ

Схема запчастей Komatsu GD37-5H - НИЗ. PRESSURE ТРУБЫ(№-9) РАБОЧЕЕ ОБОРУДОВАНИЕ И ITS СИСТЕМА УПРАВЛЕНИЯ
FIT
1:1
100%

Артикул

Название

Примечание

Количество

1

232-60-15113

TUBE

SN: 2101-@

1шт.

2

01000-31025

BOLT

SN: 2101-@

4шт.

3

01602-01030

WASHER

SN: 2101-@

4шт.

4

07000-15100

O-RING (KIT)

SN: 2101-@

1шт.

5

232-60-15121

STRAINER

SN: 2101-@

1шт.

6

01000-30614

BOLT

SN: 2101-@

4шт.

7

01602-00619

WASHER

SN: 2101-2590

4шт.

8

232-60-15135

TUBE

SN: 2101-@

1шт.

9

07042-00312

PLUG

SN: 2101-@

1шт.

10

07260-04111

HOSE

SN: 2101-@

2шт.

11

07280-05729

CLAMP

SN: 2101-@

4шт.

12

232-60-15145

FLANGE

SN: 2143-@

1шт.

|12

232-60-15144

FLANGE

SN: 2101-2142

1шт.

13

01000-31025

BOLT

SN: 2101-@

2шт.

14

01602-01030

WASHER

SN: 2101-@

2шт.

15

232-60-15153

TUBE

SN: 2101-2590

1шт.

|15

0

FLANGE

SN: 2101-2590

1шт.

16

01000-31025

BOLT

SN: 2101-2590

2шт.

17

01602-01030

WASHER

SN: 2101-@

2шт.

18

232-60-15161

TUBE

SN: 2101-2590

1шт.

|18

0

FLANGE

SN: 2101-2590

1шт.

19

01040-31030

BOLT

SN: 2101-2590

2шт.

20

01602-01030

WASHER

SN: 2101-@

2шт.

21

07000-03028

O-RING (KIT)

SN: 2101-2590

2шт.

22

07260-03210

HOSE

SN: 2101-@

2шт.

23

07280-05026

CLAMP

SN: 2101-@

4шт.

24

07231-00628

ELBOW

SN: 2101-@

2шт.

25

01501-32410

NUT

SN: 2101-2590

2шт.

26

07042-00108

PLUG

SN: 2101-@

2шт.

27

07000-03020

O-RING (KIT)

SN: 2101-@

2шт.

28

232-60-15215

TUBE

SN: 2101-2590

1шт.

|28

0

NUT

SN: 2101-2590

2шт.

|28

0

SLEEVE

SN: 2101-2590

2шт.

29

232-60-15223

TUBE

SN: 2101-2590

1шт.

|29

0

NUT

SN: 2101-2590

2шт.

|29

0

SLEEVE

SN: 2101-2590

2шт.

30

07230-00628

UNION

SN: 2101-2590

2шт.

31

07000-03020

O-RING (KIT)

SN: 2101-2590

2шт.

32

232-60-15357

TUBE

SN: 2339-2590

1шт.

|32

232-60-15356

TUBE

SN: 2207-2338

1шт.

|32

232-60-15355

TUBE

SN: 2101-2206

1шт.

|32

0

FLANGE

SN: 2101-2590

1шт.

33

07260-04111

HOSE

SN: 2101-2590

1шт.

34

07280-05729

CLAMP

SN: 2101-2590

2шт.

35

07260-03211

HOSE

SN: 2387-2590

1шт.

|35

07260-02609

HOSE

SN: 2101-2386

1шт.

36

07280-04726

CLAMP

SN: 2387-2590

2шт.

|36

07280-04126

CLAMP

SN: 2101-2386

2шт.

37

232-60-15325

TUBE

SN: 2387-2590

1шт.

|37

232-60-15324

TUBE

SN: 2207-2386

1шт.

|37

232-60-15323

TUBE

SN: 2101-2206

1шт.

|37

0

SLEEVE

SN: 2101-2590

1шт.

|37

0

NUT

SN: 2101-2590

1шт.

38

07231-00522

ELBOW

SN: 2101-2590

1шт.

39

01501-32410

NUT

SN: 2101-2590

1шт.

40

07042-00108

PLUG

SN: 2101-2590

1шт.

41

07000-03020

O-RING (KIT)

SN: 2101-2590

1шт.

42

01000-31030

BOLT

SN: 2101-@

4шт.

43

01602-01030

WASHER

SN: 2101-@

4шт.

44

07000-13052

O-RING (KIT)

SN: 2101-@

1шт.

45

232-54-11451

PLATE

SN: 2101-2206

1шт.

46

232-54-11461

PLATE

SN: 2101-2206

1шт.

47

07283-04346

CLIP

SN: 2207-2590

2шт.

|47

232-60-15410

U-BOLT

SN: 2101-2206

2шт.

48

01554-01011

NUT

SN: 2207-2590

4шт.

|48

01500-30807

NUT

SN: 2101-2206

4шт.

49

01643-01032

WASHER

SN: 2207-2590

4шт.

|49

01602-00825

WASHER

SN: 2101-2206

4шт.

50

232-60-15170

TUBE

SN: 2207-2590

1шт.

|50

0

SLEEVE

SN: 2207-2590

2шт.

|50

0

NUT

SN: 2207-2590

2шт.

51

07230-00528

UNION

SN: 2207-2590

1шт.

52

07000-03022

O-RING

SN: 2207-2590

1шт.

53

232-60-15180

TUBE

SN: 2207-2590

1шт.

|53

0

ELBOW

SN: 2207-2590

1шт.

54

07260-02008

HOSE

SN: 2207-2590

1шт.

55

07280-03423

CLAMP

SN: 2207-2590

2шт.

56

232-60-15361

TUBE

SN: 2387-2590

1шт.

|56

232-60-15360

TUBE

SN: 2339-2386

1шт.

57

07260-04111

HOSE

SN: 2339-2590

1шт.

58

07280-05729

CLAMP

SN: 2339-2590

2шт.

59

07241-04212

ELBOW

SN: 2101-@

1шт.

60

07000-13040

O-RING (KIT)

SN: 2101-@

1шт.

Выбрано товаров: 83