Запчасти Komatsu GD37-5H CIRCLE И ОТВАЛ РАБОЧЕЕ ОБОРУДОВАНИЕ И ITS СИСТЕМА УПРАВЛЕНИЯ

Схема запчастей Komatsu GD37-5H - CIRCLE И ОТВАЛ РАБОЧЕЕ ОБОРУДОВАНИЕ И ITS СИСТЕМА УПРАВЛЕНИЯ
FIT
1:1
100%

Артикул

Название

Примечание

Количество

|$0

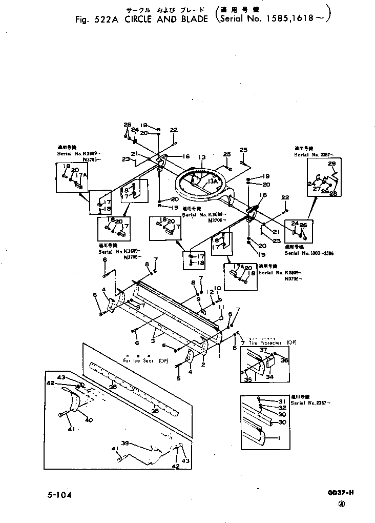
232-70-00029

BLADE ASS'Y

SN: 3931-UP

1шт.

|$1

232-70-00028

BLADE ASS'Y

SN: 3609-3930

1шт.

|$2

232-70-00027

BLADE ASS'Y

SN: 2975-3608

1шт.

|$3

232-70-00026

BLADE ASS'Y

SN: 2387-2974

1шт.

|$4

232-70-00025

BLADE ASS'Y

SN: 2101-2386

1шт.

1

232-70-12411

BLADE

SN: 3609-UP

1шт.

1

0

BLADE

SN: 3326-3608

1шт.

|$$8

(232-70-12411,232-70-12372,

-1шт.

|$$9

232-70-12340)

-1шт.

1

232-70-12119

BLADE

SN: 2591-3325

1шт.

1

232-70-12118

BLADE

SN: 2387-2590

1шт.

1

232-70-12117

BLADE

SN: 2101-2386

1шт.

2

232-70-12130

BIT

SN: 2101-UP

2шт.

3

232-70-12142

EDGE

SN: 3513-UP

2шт.

3

0

EDGE

SN: 2975-3512

2шт.

3

0

EDGE

SN: 2101-2974

2шт.

4

232-70-12150

BIT,L.H.

SN: 2101-UP

1шт.

4

232-70-12160

BIT,R.H.

SN: 2101-UP

1шт.

5

232-70-12460

BOLT

SN: 3931-UP

10шт.

5

02090-11070

BOLT

SN: 3326-3930

10шт.

5

02090-11065

BOLT

SN: 2975-3325

10шт.

5

02090-01065

BOLT

SN: 2101-2974

10шт.

6

232-70-12450

BOLT

SN: 3931-UP

16шт.

6

02090-11055

BOLT

SN: 3326-3930

16шт.

6

02090-11050

BOLT

SN: 2975-3325

16шт.

6

02090-01050

BOLT

SN: 2101-2974

16шт.

7

02290-11016

NUT

SN: 2975-UP

26шт.

7

02290-01016

NUT

SN: 2101-2974

26шт.

8

01602-01648

WASHER

SN: 2101-UP

26шт.

9

232-70-12194

JOINT

SN: 2591-UP

1шт.

9

232-70-12193

JOINT

SN: 2101-2590

1шт.

10

01010-51850

BOLT

SN: 2975-UP

4шт.

10

01000-31850

BOLT

SN: 2101-2974

4шт.

11

07048-01815

PLUG

SN: 2101-UP

8шт.

12

01602-21854

WASHER

SN: 2101-UP

4шт.

13

232-70-12226

CIRCLE

SN: 3609-UP

1шт.

13

0

CIRCLE

SN: 3367-3608

1шт.

13

0

CIRCLE

SN: 2591-3366

1шт.

13

232-70-12223

CIRCLE

SN: 2101-2590

1шт.

13A

232-70-12615

PIPE

SN: 3367-UP

1шт.

13A

232-70-12614

PIPE

SN: 2591-3366

1шт.

13A

232-70-12613

PIPE

SN: 2101-2590

1шт.

|$42

232-70-00046

GUIDE ASS'Y

SN: 3609-UP

1шт.

|$43

232-70-00045

GUIDE ASS'Y

SN: 3242-3608

1шт.

|$44

232-70-00044

GUIDE ASS'Y

SN: 2975-3241

1шт.

|$45

232-70-00043

GUIDE ASS'Y

SN: 2101-2974

1шт.

|$46

232-70-00055

ADJUSTER ASS'Y,L.H.

SN: 3609-UP

1шт.

|$47

0

ADJUSTER ASS'Y,L.H.

SN: 3242-3608

1шт.

|$48

0

ADJUSTER ASS'Y,L.H.

SN: 2975-3241

1шт.

|$49

0

ADJUSTER ASS'Y,L.H.

SN: 2101-2974

1шт.

|$50

232-70-00065

ADJUSTER ASS'Y,R.H.

SN: 3609-UP

1шт.

|$51

0

ADJUSTER ASS'Y,R.H.

SN: 3242-3608

1шт.

|$52

0

ADJUSTER ASS'Y,R.H.

SN: 2975-3241

1шт.

|$53

0

ADJUSTER ASS'Y,R.H.

SN: 2101-2974

1шт.

16

232-70-12256

ADJUSTER,L.H.

SN: 3609-UP

1шт.

16

0

ADJUSTER,L.H.

SN: 3242-3608

1шт.

|$$57

(232-70-12256,232-70-12420,

-1шт.

|$$58

232-70-12430)

-1шт.

16

0

ADJUSTER,L.H.

SN: 2101-3241

1шт.

16

232-70-12266

ADJUSTER,R.H.

SN: 3609-UP

1шт.

16

0

ADJUSTER,R.H.

SN: 3242-3608

1шт.

|$$62

(232-70-12266,232-70-12420,

-1шт.

|$$63

232-70-12430)

-1шт.

16

0

ADJUSTER,R.H.

SN: 2101-3241

1шт.

17

232-70-12420

GUIDE

SN: 3609-UP

1шт.

17

232-70-12271

GUIDE

SN: 2101-3608

2шт.

17A

232-70-12430

GUIDE

SN: 3609-UP

1шт.

18

01010-51435

BOLT

SN: 3609-UP

2шт.

18

02090-10850

BOLT

SN: 2975-3608

2шт.

18

02090-00850

BOLT

SN: 2101-2974

2шт.

19

02290-10813

NUT

SN: 2975-3608

2шт.

19

02290-00813

NUT

SN: 2101-2974

2шт.

20

01602-21442

WASHER

SN: 3609-UP

2шт.

20

01602-01338

WASHER

SN: 2101-3608

2шт.

21

232-70-12350

COLLAR

SN: 2101-UP

2шт.

22

232-70-12360

PIN

SN: 2101-UP

2шт.

23

04050-04022

PIN

SN: 2101-UP

2шт.

24

232-70-12311

BLOCK

SN: 2387-UP

2шт.

24

232-70-12310

BLOCK

SN: 2101-2386

2шт.

25

232-70-12322

BOLT

SN: 2975-UP

2шт.

25

232-70-12321

BOLT

SN: 2101-2974

2шт.

26

01580-12419

NUT

SN: 2975-UP

2шт.

26

01500-32418

NUT

SN: 2387-2974

2шт.

26

01500-32418

NUT

SN: 2101-2386

4шт.

27

232-70-12381

LOCK

SN: 2975-UP

2шт.

27

232-70-12380

PLATE

SN: 2387-2974

2шт.

28

04205-01232

PIN

SN: 2387-UP

2шт.

29

04052-01253

PIN

SN: 2387-UP

2шт.

30

232-70-12372

COVER

SN: 3609-UP

1шт.

30

232-70-12371

COVER

SN: 3326-3608

1шт.

30

232-70-12370

COVER

SN: 2387-3325

1шт.

31

01010-51235

BOLT

SN: 3741-UP

5шт.

31

01010-31235

BOLT

SN: 3609-3740

5шт.

31

01010-31225

BOLT

SN: 2387-3608

12шт.

32

01602-21236

WASHER

SN: 3609-UP

5шт.

32

01602-21236

WASHER

SN: 2387-3608

12шт.

33

232-70-12341

WASHER

SN: 3741-UP

5шт.

33

232-70-12340

WASHER

SN: 3609-3740

5шт.

33

01640-21223

WASHER

SN: 2387-3608

12шт.

34

232-835-1112

PROTECTOR

SN: .-UP

2шт.

34

232-835-1110

PROTECTOR

SN: 2101-.

2шт.

35

01010-51845

BOLT

SN: .-UP

4шт.

35

02090-11065

BOLT

SN: 2101-.

4шт.

36

01602-21845

WASHER

SN: .-UP

4шт.

36

01602-21648

WASHER

SN: 2101-.

4шт.

37

02290-11016

NUT

SN: 2101-UP

4шт.

38

232-870-6113

EDGE,(FOR ICE SEAT)

SN: .-UP

2шт.

38

0

EDGE,(FOR ICE SEAT)

SN: 2101-.

2шт.

39

232-870-1110

BIT,(FOR SNOW REMOVING)

SN: 2975-UP

1шт.

40

232-870-1120

BIT,(FOR SNOW REMOVING)

SN: 2975-UP

1шт.

41

02090-11065

BOLT

SN: 2975-UP

4шт.

42

01602-21648

WASHER

SN: 2975-UP

4шт.

43

02290-11016

NUT

SN: 2975-UP

4шт.

Выбрано товаров: 113