Запчасти Komatsu GD37-5H ПАНЕЛЬ ПРИБОРОВ(№9-) КОМПОНЕНТЫ ДВИГАТЕЛЯ И ЭЛЕКТРИКА

Схема запчастей Komatsu GD37-5H - ПАНЕЛЬ ПРИБОРОВ(№9-) КОМПОНЕНТЫ ДВИГАТЕЛЯ И ЭЛЕКТРИКА
FIT
1:1
100%

Артикул

Название

Примечание

Количество

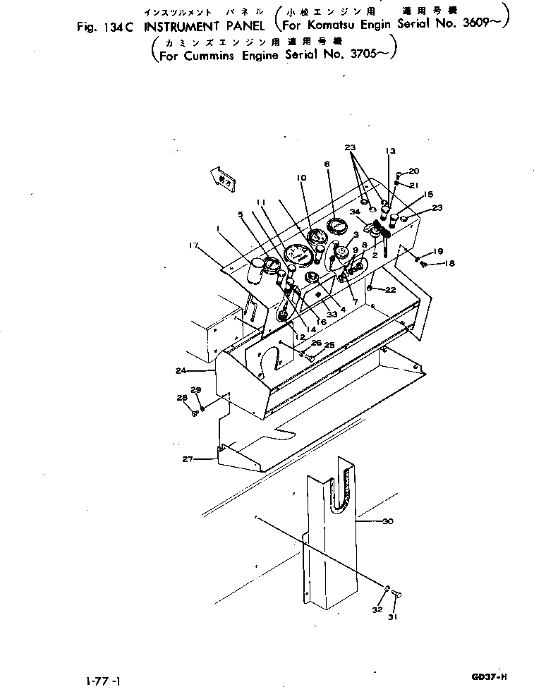
1

08144-02400

LAMP,PANEL

SN: 3609-UP

1шт.

2

08086-00000

SWITCH,STARTING

SN: 3326-UP

1шт.

2

234-904-1310

CAP (OP)

SN: 3326-UP

1шт.

3

6110-83-4812

SIGNAL

SN: 3621-UP

1шт.

4

08146-02400

LAMP,PILOT

SN: 2975-UP

1шт.

5

08661-14000

GAUGE,WATER TEMPERATURE

SN: 2975-UP

1шт.

6

08631-02000

GAUGE,OIL PRESSURE

SN: 2975-UP

1шт.

7

232-06-13224

TUBE

SN: 3609-UP

1шт.

8

07206-10610

BOLT

SN: 3609-UP

1шт.

9

07005-01012

GASKET

SN: 3609-UP

2шт.

10

08601-13000

AMMETER

SN: .-UP

1шт.

11

08602-00500

SPEEDOMETER

SN: 2975-UP

1шт.

11

08111-02430

BULB, 3W

SN: 2101-UP

1шт.

12

08603-00023

CABLE

SN: 2771-UP

1шт.

13

236-06-23310

SWITCH,HEAD LAMP

SN: 3895-UP

1шт.

13

0

SWITCH,HEAD LAMP

SN: 3609-3894

1шт.

14

236-06-23320

SWITCH,WORK LAMP

SN: 3895-UP

1шт.

14

0

SWITCH,WORK LAMP

SN: 3609-3894

1шт.

15

236-06-23330

SWITCH,PARKING LAMP

SN: 3895-UP

1шт.

15

0

SWITCH,PARKING LAMP

SN: 3609-3894

1шт.

16

236-06-23350

SWITCH,BEACON LAMP

SN: 3895-UP

1шт.

16

0

SWITCH,BEACON LAMP

SN: 3609-3894

1шт.

17

232-06-15450

PANEL

SN: 3931-UP

1шт.

17

0

PANEL

SN: 3609-3930

1шт.

18

01010-50610

BOLT

SN: 3609-UP

7шт.

19

01602-20619

WASHER

SN: 3609-UP

7шт.

20

01210-40412

SCREW

SN: 3609-UP

1шт.

21

01601-20410

WASHER

SN: 3609-UP

1шт.

22

01580-10403

NUT

SN: 3609-UP

1шт.

23

130-911-1640

PLUG

SN: 3609-UP

4шт.

24

232-06-15470

BRACKET

SN: 3609-UP

1шт.

25

01010-51016

BOLT

SN: 3609-UP

4шт.

26

01602-21030

WASHER

SN: 3609-UP

4шт.

27

232-06-15480

COVER

SN: 3609-UP

1шт.

28

01010-50610

BOLT

SN: 3609-UP

4шт.

29

01602-20619

WASHER

SN: 3609-UP

4шт.

30

232-06-15490

COVER

SN: 3609-UP

1шт.

31

01010-50616

BOLT

SN: 3609-UP

4шт.

32

01602-20619

WASHER

SN: 3609-UP

4шт.

33

08043-16000

BOX

SN: 2975-UP

1шт.

33

08040-01000

FUSE, 10A

SN: 3326-UP

6шт.

34

130-06-12140

PLATE, OPERATING

SN: 2101-UP

1шт.

Выбрано товаров: 42