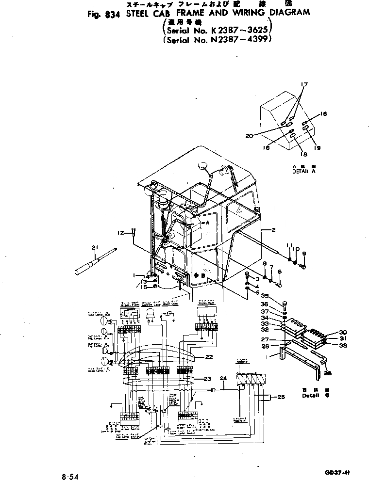
Запчасти Komatsu GD37-5H СТАЛЬНАЯ КАБИНА РАМА И ЭЛЕКТРОПРОВОДКА DIAGRAM(№87-) ОПЦИОННЫЕ КОМПОНЕНТЫ

Схема запчастей Komatsu GD37-5H - СТАЛЬНАЯ КАБИНА РАМА И ЭЛЕКТРОПРОВОДКА DIAGRAM(№87-) ОПЦИОННЫЕ КОМПОНЕНТЫ
FIT
1:1
100%

Артикул

Название

Примечание

Количество

|$0

232-855-0013

FRAME ASS'Y

SN: 3326-3625

1шт.

|$1

232-855-0012

FRAME ASS'Y

SN: 2975-3325

1шт.

|$2

232-855-0011

FRAME ASS'Y

SN: 2387-2974

1шт.

1

232-855-1713

FRAME

SN: 3328-3625

1шт.

1

232-855-1712

FRAME

SN: 2975-3327

1шт.

1

232-855-1711

FRAME

SN: 2387-2974

1шт.

1

01580-31008

NUT

SN: 2975-3625

6шт.

1

01500-31008

NUT

SN: 2387-2974

6шт.

1

232-855-2112

BRACKET

SN: 3609-3625

1шт.

1

232-855-2111

BRACKET

SN: 3326-3608

1шт.

1

232-855-2110

BRACKET

SN: 2387-3325

1шт.

1

232-855-2121

BRACKET

SN: 3326-3608

1шт.

1

232-855-2120

BRACKET

SN: 2387-3325

1шт.

2

232-855-1723

FRAME

SN: 3326-3625

1шт.

2

232-855-1722

FRAME

SN: 2975-3325

1шт.

2

232-855-1721

FRAME

SN: 2387-2974

1шт.

3

01010-31030

BOLT

SN: 2975-@

6шт.

3

01000-31025

BOLT

SN: 2387-2974

6шт.

4

01602-01030

WASHER

SN: 2387-@

6шт.

5

01640-21016

WASHER

SN: 2387-@

6шт.

6

01010-31018

BOLT

SN: 2387-@

23шт.

7

01602-01030

WASHER

SN: 2387-@

23шт.

8

01640-21016

WASHER

SN: 2387-@

23шт.

9

01010-31025

BOLT

SN: 2387-@

4шт.

10

01602-01030

WASHER

SN: 2387-@

4шт.

11

01642-21016

WASHER

SN: 2387-@

4шт.

12

01010-51040

BOLT

SN: .-@

4шт.

12

01010-51030

BOLT

SN: .-.

4шт.

12

01010-31025

BOLT

SN: 2975-.

4шт.

12

01000-31025

BOLT

SN: 2387-2974

4шт.

13

01602-01030

WASHER

SN: 2387-@

4шт.

14

01640-21016

WASHER

SN: 2387-@

4шт.

15

01580-01008

NUT

SN: 2975-@

4шт.

15

01500-31008

NUT

SN: 2387-2974

4шт.

16

236-06-23370

SWITCH,FOG LAMP

SN: .-3625

1шт.

16

236-06-23360

SWITCH,ROOM LAMP

SN: .-3625

1шт.

16

08060-00030

SWITCH,FOG LAMP

SN: 3609-.

1шт.

16

08060-00040

SWITCH,ROOM LAMP

SN: 3609-.

1шт.

16

08060-00000

SWITCH,FOG AND ROOM LAMP

SN: 2387-3608

2шт.

17

08182-00000

SWITCH,WIPER

SN: 2387-3625

2шт.

18

232-855-1910

PLATE, NAME

SN: 2387-3608

1шт.

19

232-855-1920

PLATE, NAME

SN: 2387-3608

1шт.

20

232-855-1930

PLATE, NAME

SN: 2387-3608

1шт.

21

09031-00100

DRIVER

SN: 2387-3625

1шт.

22

232-855-2140

HARNESS

SN: 2387-3625

1шт.

23

232-855-8561

HARNESS

SN: 3609-3625

1шт.

23

232-855-8560

HARNESS

SN: 2975-3608

1шт.

23

232-855-2130

HARNESS

SN: 2387-2974

1шт.

24

230-855-2260

CABLE

SN: 3609-3625

1шт.

24

230-855-2140

CABLE

SN: 2387-3608

1шт.

25

232-55-11772

CABLE

SN: 3609-3625

2шт.

25

232-55-11771

CABLE

SN: 2387-3608

2шт.

26

232-855-8630

BRACKET

SN: 3609-@

1шт.

27

232-855-8720

BRACKET

SN: 3609-@

1шт.

28

232-855-8710

BRACKET

SN: 3609-@

1шт.

30

232-855-8640

PLATE

SN: 3609-@

1шт.

31

232-855-8650

PLATE

SN: 3609-@

1шт.

32

232-855-8660

PLATE

SN: 3609-@

1шт.

33

232-855-8670

PLATE

SN: 3609-@

1шт.

34

232-855-8680

PLATE

SN: 3609-@

1шт.

35

01010-51020

BOLT

SN: 3609-@

3шт.

36

01602-21030

WASHER

SN: 3609-@

3шт.

37

01640-21223

WASHER

SN: 3609-@

3шт.

38

232-855-8740

PLATE

SN: 3609-@

1шт.

Выбрано товаров: 64