Запчасти Komatsu GD37-5H АНТИОБЛЕДЕНИТЕЛЬ(№8-) ОПЦИОННЫЕ КОМПОНЕНТЫ

Схема запчастей Komatsu GD37-5H - АНТИОБЛЕДЕНИТЕЛЬ(№8-) ОПЦИОННЫЕ КОМПОНЕНТЫ
FIT
1:1
100%

Артикул

Название

Примечание

Количество

|$0

232-807-0104

DEFROSTER ASS'Y

SN: .-UP

1шт.

|$1

232-807-0103

DEFROSTER ASS'Y

SN: .-.

1шт.

|$2

232-807-0102

DEFROSTER ASS'Y

SN: 3368-.

1шт.

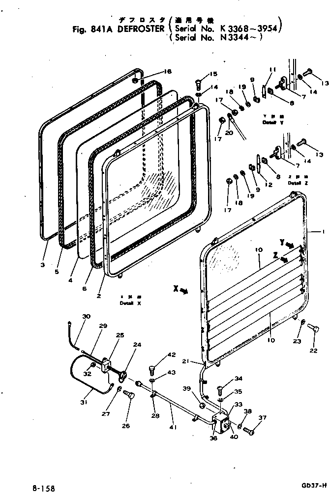
1

232-807-8111

DEFROSTER

SN: 3368-UP

1шт.

2

232-807-8320

FRAME

SN: 3368-UP

1шт.

3

232-807-8330

FRAME

SN: 3368-UP

1шт.

4

232-807-8340

GLASS

SN: 3368-UP

1шт.

5

232-807-8251

SEAT

SN: 3368-UP

1шт.

6

232-807-8350

RUBBER

SN: 3368-UP

1шт.

7

232-807-8360

BRACKET

SN: 3368-UP

7шт.

8

232-807-8370

PLATE

SN: 3368-UP

7шт.

9

232-807-8380

PLATE

SN: 3368-UP

7шт.

10

232-807-8390

WIRE

SN: 3368-UP

2шт.

11

232-807-8410

HANGER

SN: 3368-UP

2шт.

12

232-807-8420

HANGER

SN: 3368-UP

5шт.

13

232-807-8430

SCREW

SN: 3368-UP

14шт.

14

232-807-8440

WASHER

SN: 3368-UP

28шт.

15

232-807-8450

SCREW

SN: 3368-UP

14шт.

16

232-807-8460

NUT

SN: 3368-UP

14шт.

17

232-807-8470

NUT

SN: 3368-UP

10шт.

18

232-807-8480

WASHER

SN: 3368-UP

7шт.

19

232-807-8490

WASHER

SN: 3368-UP

7шт.

20

232-807-8510

TERMINAL

SN: 3368-UP

3шт.

21

232-807-8520

GROMMET

SN: 3368-UP

1шт.

22

01010-50820

BOLT

SN: 3368-UP

4шт.

23

01602-20825

WASHER

SN: 3368-UP

4шт.

24

232-807-8140

CONSENT

SN: 2101-UP

1шт.

25

232-807-8150

BOX

SN: 2101-UP

1шт.

26

01010-50820

BOLT

SN: 2975-UP

2шт.

27

01602-20825

WASHER

SN: 2101-UP

2шт.

28

08036-10614

CLIP

SN: .-UP

1шт.

28

08036-11210

CLIP

SN: 2101-.

4шт.

29

232-807-8290

CABLE

SN: .-UP

1шт.

29

232-807-8170

CABLE

SN: 2101-.

1шт.

30

232-807-8181

CABLE

SN: 2101-.

1шт.

31

232-807-8220

CABLE

SN: 2101-UP

1шт.

32

01580-10807

NUT

SN: 3368-UP

2шт.

33

232-807-8240

COVER

SN: 3368-UP

1шт.

34

01210-50408

SCREW

SN: 3368-UP

2шт.

35

01601-24010

WASHER

SN: 3368-UP

2шт.

36

08037-01008

GROMMET

SN: 3368-UP

2шт.

37

01210-50408

SCREW

SN: .-UP

4шт.

38

01601-20410

WASHER

SN: .-UP

4шт.

39

01580-10403

NUT

SN: .-UP

4шт.

40

232-807-8270

SWITCH

SN: 3368-UP

1шт.

41

232-807-8280

HARNESS

SN: 3368-UP

1шт.

42

01010-51016

BOLT

SN: .-UP

1шт.

43

01602-21030

WASHER

SN: .-UP

1шт.

Выбрано товаров: 48